背景
數據採集的意義
自然界中實時存在的絕大多數物理信號,都是在時域內,即時間與幅度坐標系內連續變化的模擬信號,通常稱之為幅值的連續時間函式,例如聲音、溫度、氣壓等。模擬信號經感測器轉化為模擬電信號後,其幅值、相位等仍是時間的連續函式,並可經模擬電路進行各種運算,如放大、相加、相乘等。但模擬電信號在傳輸、加工過程中波形會發生改變,易受外界噪聲干擾,使信號喪失部分信息,且模擬信號不易存儲,復現困難,這使人們越來越關注形式簡單、抗干擾能力強、易於存儲傳輸的數位訊號。近年來,隨著半導體、通信、多媒體等技術的飛速發展,數字計算機和數位訊號處理器能對數位訊號的處理能力大幅增加,電子技術的套用已然滲透到軍事、民用領域的各個角落,其中,基於數位訊號的電子系統在處理能力、可靠性、性價比、功耗和電路面積上具有很大優勢,幾乎所有信號處理、存儲都以數字形式進行,這樣,人們可將自然界中的物理量轉化為可被計算機識別的二進制數字量,處理後再將其復現為模擬信號,實現模數信號的統一處理,信息處理效率得到顯著提升。在這一過程中,數據採集是模擬信號與數位訊號的橋樑,是解決模數信號轉換問題的核心。數據採集及其相關技術手段現已成為信息科學中的重要研究方向,與感測器技術、信號處理技術和計算機技術一起構成了現代測試測量科學的基礎。
並行數據採集的意義
在震動、壓力測試,醫用、醫療儀器,電能質量測試等領域中,經常遇到諸如分散式感測器傳回的多路並行數據、人體多項生理指標、多器件電能質量參數等被測量,它們通常處於中低頻,且具有數量大、種類多、並行性強等特點,對採樣速率要求不高,但要求所用數據採集系統擁有高解析度、多通道、並行性好等性能,同時希望所采數據能被及時送交處理機處理。此外,並行數據採集類似於人類接收信息的模式,與人工智慧等前沿科技有十分緊密的聯繫。
另外,並行數據處理是計算機與測試測量領域的重要研究內容,其處理數據的一般過程是,首先對於特定實際問題的某幾方面參數進行大量的實時數據並行採集,將其抽象為資料庫內的數據模型;其後利用計算機內的並行算法編程,將數據處理的過程轉變為並行的數值計算過程,最後將計算結果翻譯成處理實際數據的方法。創立套用並行數據處理的最大原因是這種處理方式能解決單個處理器的處理瓶頸,提高數據處理效率。可以很容易地看到,要並行數據處理,需要可進行並行編程計算的計算機和解釋處理方式的並行算法,而基礎是開發出可進行並行數據採集的硬體平台。同時,並行數據處理在解決大運算量、多參量的複雜問題上發揮了重要作用。作為並行數據處理的一項基礎技術,並行數據採集技術能夠協調系統中的多個模數轉換設備和通道同時工作,一齊對被採信號進行數據採集,在震動、壓力測試,醫用、醫療儀器,電能質量測試等領域中展現了巨大價值。與傳統的串列數據採集不同,並行數據採集方式在滿足電子系統的功能需求之外,還可大幅提高系統的工作效率,從而提升系統性能,對實際的測試測量和信號處理工作有重要意義 。
數據採集系統基本組成
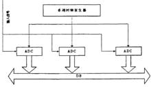
圖1 數據採集系統示意圖如圖1所示給出了一個典型的數據採集系統的基本組成的示意圖,描述了它與外部世界的關係。
(1)感測器的作用主要是把外部世界非電的物理量轉變為模擬電量(如電壓、電流或頻率)。通常把感測器輸出到A/D轉換器輸出的這一段信號通道稱為模擬通道。理想的感測器能夠將各種被測量轉換為高輸出電平的電量,提供零輸出阻抗,具有良好的線性。
(2)信號調理通道主要完成了模擬信號的放大和濾波等功能。當感測器輸出信號較小時,需要加以放大以滿足A/D轉換器的滿量程輸入範圍。此外,某些感測器內阻比較大,輸出功率較小,這樣調理通道的放大器還起到了阻抗變化的作用來緩衝輸入信號。感測器和電路中器件常會產生噪聲,人為的發射源也會通過各種渠道使信號耦合上噪聲,因此需要利用濾波電路來衰減噪聲,以提高模擬輸入信號的信噪比。
(3)採樣保持電路的功能是跟蹤模擬輸入信號並保持這個值以備隨後的處理。具體來說,A/D轉換器完成一次轉換需要一定的時間,而在轉換期間希望A/D轉換器輸入端的模擬信號電壓保持不變,才能保證正確的轉換。當輸入信號的頻率較高時,就會產生較大的誤差,為了防止這種誤差的產生,必須在A/D轉換器開始轉換之前將信號的電平保持,轉換之後又能跟蹤輸入信號的變化,保證較高的轉換精度。
(4)A/D轉換器是整個數據採集系統的核心,也是影響數據採集系統採樣速率和精度的主要因素之一。模數轉換器按工作原理可分為間接型A/D轉換器、比較型A/D轉換器(並行比較型,分級型)和∑-△型A/D轉換器。數據採集系統的指標能否實現在很大程度上取決於與A/D轉換電路的設計。高速的模數轉換器內部一般都集成了採樣保持器S/H和多路數據分配器,以保證採樣的精度和降低後續存儲器的要求。
(5)數據快取電路存儲A/D轉化後的數據,特別是並行數據採集系統,採集量化後的數據速率非常高而且數量大,微處理系統無法對數據進行實時處理,因此需要存儲器對數據進行快取。
(6)微處理器是數據採集系統的控制中心,負責數據採集系統的管理和控制工作,對採集到的數據進行運算和處理,然後送到外部設備待處理或顯示 。
並行數據採集方式分類
根據套用場合的不同,並行數據採集的工作方式也不一樣,可以分為獨立性與互動式兩種數據採集模式。
(1)獨立性數據採集模式就是在採集過程中,並行工作的設備之間不存在任何聯繫,它們按照特定的採集速率獨立工作。
(2)互動式數據採集模式是數據採集設備在工作過程中存在某些功能上、時序上的聯繫。比如,一個設備需要等待另一個設備完成某個操作後才能繼續工作,這種情況稱之為“同步”;而對於共享數據存儲區的設備來說,一個設備在進行數據存儲時另一個設備必須等待,每次只能有一個設備進行數據存儲,這種情況稱之為“互斥”。所以,這些具有相互聯繫的設備之間必須進行信息互動,才能保證系統數據採集的順利進行 。
並行採樣的方式
並行採樣技術是並行數據採集系統實現的基礎。並行採樣通常有兩種方式。一種是採用並行時間交替採樣的方式,另一種是採用延遲線的方式。
圖2 多片ADC並行採樣系統結構圖所謂並行時間交替採樣,就採用多片A/D同時按照各自的採樣時鐘工作,通過控制時鐘的相位,讓A/D交替工作,然後再對得到的量化數據進行重組,得到高速採樣數據,系統的採樣率為多片A/D採樣率的總和。
採用延遲線:將被採集的模擬信號進行延時,將信號經過不同延時後依次送往不同的ADC進行並行採樣,延遲時間為A/D轉換器採樣周期的一半。最後將數據進行重組,這樣就可以在不對通道作任何改動的情況下提高了系統的採樣率。
前者是經常採用的採樣方式,而後者由於難以精確控制輸入信號的時延,一般很少採用。下面詳細介紹第一種方式:並行時間交替採樣,這已形成一個比較成熟的理論,它是Black和Hodger於1980年提出的。這種方法不僅節省空間,並且為實現成倍增加現有高性能模數轉換器的採樣速率提供了一個簡單可行的方法。多片ADC並行時間交替採樣系統結構基本原理如圖2所示。多相時鐘發生器控制送往各個ADC採樣時鐘的相移,在多相時鐘的作用下,各個ADC輪流採樣轉換,它們的採樣時間之間保持一個固定的時間差。假設系統一共採用了n個ADC,各個ADC的採樣時鐘為f,則到達每個ADC的採樣時鐘的相位依次相差360/n度,這n個ADC並行採樣之後系統的採樣率可以達到nf。比如兩個採樣率為1GSPS的ADC並聯,採樣互補的兩個時鐘(相位相差180度)作為兩個ADC的採樣時鐘,數據合併後就相當於一個採樣率為2GSPS的ADC在工作 。
Lab VIEW中並行數據採集的實現步驟
圖3 佇列管理子Ⅵ圖示LabVlEW中基於佇列和狀態機的並行數據採集系統實現步驟如下:
(1)創建一個佇列管理子Ⅵ,利用該Ⅵ來實現對各並行設備信息互動佇列的創建及維護管理,編寫的佇列管理子VI圖示見圖3。
(2)為每個並行設備創建一個狀態機模型,利用該狀態機實現設備的初始化、信息互動、數據採集、數據處理、設備釋放等操作 。

