概述
MAX7219/MAX7221是一種集成化的串列輸入/輸出共陰極顯示驅動器,它連線微處理器與8位數字的7段數字LED顯示,也可以連線條線圖顯示器或者64個獨立的LED。其上包括一個片上的B型BCD編碼器、多路掃描迴路,段字驅動器,而且還有一個8*8的靜態RAM用來存儲每一個數據。 只有一個外部暫存器用來設定各個LED的段電流。 MAX7221與SPI™、 QSPI™以及 MICROWIRE™相兼容,同時它有限制迴轉電流的段驅動來減少EMI(電磁干擾)。 一個方便的四線串列接口可以聯接所有通用的微處理器。 每個數據可以定址在更新時不需要改寫所有的顯示。MAX7219/MAX7221同樣允許用戶對每一個數據選擇編碼或者不編碼。 整個設備包含一個150μA的低功耗關閉模式,模擬和數字亮度控制,一個掃描限制暫存器允許用戶顯示1-8位數據,還有一個讓所有LED發光的檢測模式。 在套用時要求3V的操作電壓或segment blinking,可以查閱MAX6951數據資料。
製造商零件編號: MAX7219ENG+
製造商: Maxim IC
套用領域:條線圖顯示, 儀表面板, 工業控制,LED矩陣顯示
功能特點
1 10MHz連續串列口
2 獨立的LED段控制
3 數字的解碼與非解碼選擇
4 150μA的低功耗關閉模式
5 亮度的數字和模擬控制
6 高電壓中斷顯示
7 共陰極LED顯示驅動
8 限制迴轉電流的段驅動來減少EMI(MAX7221)
9 SPI, QSPI, MICROWIRE串列接口(MAX7221)
10 24腳的 DIP和 SO 封裝
分類信息
晶片 工作溫度範圍 管腳封裝
MAX7219CNG 0°C to +70°C 24 Narrow Plastic DIP
MAX7219CWG 0°C to +70°C 24 Wide SO
MAX7219C/D 0°C to +70°C Dice*
MAX7219ENG -40°C to +85°C 24 Narrow Plastic DIP
MAX7219EWG -40°C to +85°C 24 Wide SO
MAX7219ERG -40°C to +85°C 24 Narrow CERDIP
管腳描述
管腳 名稱 功能
1 DIN 串列數據輸入連線埠。在時鐘上升沿時數據被載入內部的16位暫存器。 2,3,5-8,10,11 DIG 0–DIG7 八個數據驅動線路置顯示器共陰極為低電平。關閉時7219此管腳輸
出高電平,7221呈現高阻抗。
4,9 GND 地線 (4腳和9腳必須同時接地)
12 LOAD (MAX7219) 載入數據。連續數據的後16位在LOAD端的上升沿時被鎖定。
CS (MAX7221) 片選端。該端為低電平時串列數據被載入移位暫存器。連續數據的後
16位在cs端的上升沿時被鎖定。
13 CLK 時鐘序列輸入端。最大速率為 10MHz.在時鐘的上升沿, 數據移入內
部移位暫存器。 下降沿時, 數據從DOUT端輸出。對MAX7221來
說,只有當cs端為低電平時時鐘輸入才有效。
14-17,20-23 SEG 7 段和小數點驅動,為顯示器提供電流。當一個段驅
A–SEG G, 動關閉時,7219的此端呈低電平,7221呈現高阻抗。
DP
18 SET 通過一個電阻連線到VDD 來提高段電流。
19 V+ 正極電壓輸入,+5V
24 DOUT 串列數據輸出連線埠,從DIN輸入的數據在16.5個時鐘周期後在此端有
效。當使用多個MAX7219/MAX7221時用此端方便擴展。
典型套用框圖
max7219規格
數位數量: 8
片段數量: 7
封裝 / 箱體: PDIP-24
工作電源電壓: 4 V to 5.5 V
最大電源電流: 330 mA
最大功率耗散: 1066 mW
高電平輸出電流: 65 mA
最大工作溫度: + 85 ℃
最小工作溫度: - 40 ℃
封裝: Tube
安裝風格: Through Hole
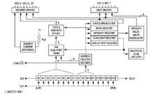
內部原理框圖
max7219
