SH79F164保留了標準8051晶片的大部分特性。這些特性包括內置256位元組RAM和2個16位定時器/計數器,1個UART和外置中斷INT0、INT1和INT2。
SH79F164內建16K位元組Flash,Flash區域除了能保存程式代碼外,還能保存數據。因此,能通過程式實現用戶採集到的血壓歷史記錄數據保存在Flash區域,不用外接EEPROM來保存歷史記錄與標定初值。
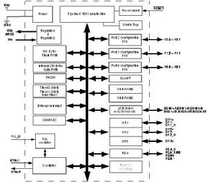
SH79F164不僅集成了如EUART標準通訊模組,此外還集成了LCD驅動器、具有內建比較功能的ADC、可程式增益放大器、運算放大器、PWM定時器和時基定時器(RTC)等模組。
為了達到高可靠性和低功耗,SH79F164內建PLL 時鐘、看門狗定時器、低電壓復位功能。考慮到血壓計套用SH79F164還提供了2種低功耗省電模式。
SH79F164特性
Flash ROM: 16K 位元組
RAM:內部256 位元組
工作電壓:
fSYS=32.768 kHz - 8.192MHz, VDD=2.4V - 3.6V
VIN=4.4V - 5.5V
振盪器
- 晶體諧振器:32.768kHz
內建PLL: 8.192MHz
21 個CMOS雙向I/O管腳, 8個I/O與LCD復用
2個16位定時器/計數器T0, T1, 一個時基定時器
中斷源:
- T0, T1, BT
- INT0, INT1, INT2
- EUART
- ADC
- PWM0,PWM1
- OVL,FCOF
2個8位PWM定時器
2個內建可程式增益放大器 (PGA)
3個運算放大器 (OP)
LCD驅動器:
-4X32 dots (1/4占空比1/3偏置)
-5X31 dots (1/5占空比1/3偏置)
-6X30 dots (1/6占空比1/3偏置)
2個內建電源穩壓器 (Regulator)
- 穩壓源1: 輸出3V電壓, 提供給數字電路
- 穩壓源2: 輸出4V或4.4V電壓,提供給模擬電路
7通道10位模數轉換器(ADC)
- 3個內部通道
- 4個外部通道
內建低電壓復位功能(LVR)(代碼選項)
-LVR電壓: 2.3V
CPU機器周期
- 1 振盪周期
看門狗定時器(WDT)(代碼選項)
預熱計數器
支持省電模式:
-空閒模式
-掉電模式
封裝:LQFP64 / 裸片封裝
SH79F164系統框圖

