概述
RTYD系列交直流試驗變壓器是根據機電部《試驗變壓器》標準在原同類產品基礎上經過大量改進後而生產的。本系列產品具有體積小、重量輕、結構緊湊、功能齊全、通用性強和使用方便等特點。特別適用於電力系統、工礦企業、科研部門等對各種高壓電氣設備、電器元件、絕緣材料進行工頻或直流高壓下的絕緣強度試驗。是高壓試驗中必不可少的重要設備。
0003產品結構
RTYD系列交直流試驗變壓器採用單框芯式鐵芯結構。初級繞組饒在鐵芯上,高壓繞組在外,這種同軸布置減少了漏磁通,因而增大了繞組間的耦合。產品的外殼製成與器芯配合較佳的八角形結構,整體外形顯得美觀大方。其外部結構圖見圖1,內部結構圖見圖2。
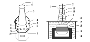
0001圖1:單台試驗 圖2:單台試驗變壓器內部結構圖
變壓器外部結構示意圖
1—短路桿D2—均壓球3—高壓套管4—變壓器提手5—油閥6、7—次壓輸入a、x8、9—測量端子E、F10—變壓器外殼接地端
11—高壓尾X 12—高壓輸出A13—高壓矽堆
14—變壓器油15—鐵芯16—次低壓繞組
17—測量繞組18—二次高壓繞組
在試驗變壓器中,a、x為低壓輸入端子,E、F為儀表測量端子,A、X為高壓輸出。
工作原理
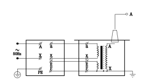
RTYD系列交直流試驗變壓器為單相變壓器,聯結組標號Ⅰ.Ⅰ.用工頻220V(10kVA以上為380V)電源接入(為本公司生產的試驗變壓器配套專用設備,詳細資訊請見其具體使用說明書)系列操作箱(台),經操作箱內自偶調壓器(50kVA以上調壓器外附)調節至0~200V(或0~400V)電壓輸出至YD試驗變壓器的初級繞組,根據電磁感應原理,在試驗變壓器高壓繞組可獲得試驗所需的高電壓。單台RTYD系列交直流試驗變壓器的工作原理圖見圖3
03圖3:單台YD-JZ系列油浸式交流試驗變壓器原理圖
單台RTYD-5kVA/50kV交直流試驗變壓器的工作原理圖見圖4,圖中高壓套管中裝有高壓矽堆,串接在高壓迴路中作半波整流,以獲得直流高電壓。當用一短路桿將高壓矽堆短接時,可獲得工頻高電壓,作為交流輸出狀態;取消短路桿時,作為直流輸出狀態。
01圖中:D—短路桿VD—高壓矽堆
004圖5:三台試驗變壓器串級接線原理圖
圖中:P—容量(kVA)V—電壓(kV)G1、G2—絕緣支架
試驗變壓器高壓套管中的高壓矽堆未畫出,其原理與上圖相同。
三台試驗變壓器串級獲得更高電壓的接線原理見圖5。串級高壓試驗變壓器有很大的優越性,因為整個試驗裝置由幾台單台試驗變壓器組成,單台試驗變壓器容量小、電壓低、重量輕,便於運輸和安裝。它既然可串接成高出幾倍的單台試驗變壓器輸出電壓組合使用,又可分開成幾套單台試驗變壓器單獨使用。整套裝置投資小,經濟實惠。圖5中,在第一級和第二級的每個單元試驗變壓器中都有一個勵磁繞組A1、C1和A2、C2。在三台串級試驗變壓器基本原理中,低壓電源加在試驗變壓器Ⅰ的初級繞組a1x1上,單台試驗變壓器Ⅰ、Ⅱ、Ⅲ的輸出電壓都是V。勵磁繞組A1、C1給第二級試驗變壓器Ⅱ的初級繞組供電;第二級試驗變壓器Ⅱ的勵磁繞組A2、C2給第三級試驗變壓器Ⅲ的初級繞組供電。第二級試驗變壓器Ⅱ和第三級試驗變壓器Ⅲ的箱體分別處在對地為1V和2V的高電位上,所以箱體對地是絕緣的,試驗變壓器Ⅰ的箱體是接地的。這樣第一級、第二級、第三級試驗變壓器對地的額定輸出電壓分別為1V、2V、3V;其額定容量分別為3P、2P、1P。
RTYD系列交直流試驗變壓器做被試品的工頻耐壓試驗使用接線原理圖見圖6。
圖6:被試品工頻耐壓試驗接線圖
圖中:R1—限流電阻FRC—阻容分壓器RF—球間隙保護電阻
G—球間隙CX—被試品
註:高壓尾必須可靠接地
工頻耐壓試驗中限流電阻R1應根據試驗變壓器的額定容量來選擇。如高壓側額定輸出電流在100~300mA時,可取0.5~1Ω/V(試驗電壓);高壓側額定輸出電流為1A以上時,可取1Ω/V(試驗電壓)。常用水電阻作為限流電阻,管子長度可按150kV/m考慮,管子粗細應具有足夠的熱容量(水阻液配製方法:用蒸餾水加入適量硫酸銅配製成各種不同的阻值)。
球間隙及保護電阻:當電壓超過球間隙整定值時(一般取試驗電壓的110%~120%),球間隙放電,對被試品起到保護作用。球間隙保護電阻可按1Ω/V(試驗電壓)選取。
在工頻耐壓試驗中,低電壓側測量電壓(儀表電壓)不是非常準確的,其原因是
由於試驗變壓器存在著漏抗,在這個漏抗上必然存在著壓降或容升,使試品上的電
壓低於或高於低壓側測量電壓表上反映出來的電壓。工頻耐壓試驗時,被試品上的
電壓高於試驗變壓器的輸出電壓,也就是所謂容升現象。感應耐壓試驗時,試驗變壓器的漏抗必然存在著壓降。為了準確測量被試品上所施加的電壓,因此常在高壓側接入FRC阻容分壓器來測量電壓(見圖6)。
工頻耐壓試驗操作注意事項
1)試驗人員應做好分工,明確相互間聯繫方法。並有專門人監護現場安全及觀察試品狀態。
2)被試品應先清掃乾淨,並絕對乾燥,以免損壞被試品和試驗帶來的誤差。
3)對於大型試驗,一般都應先進行空升試驗。即不接試品時升壓至試驗電壓,校對各種表計,調整球間隙。
4)升壓速度不能太快,並必須防止突然加壓。例如調壓器不在零位時突然合閘。也不能突然切斷電源,一般應在調壓器降至零位時拉閘。
5)當電壓升至試驗電壓時,開始計時,到1min後,迅速降壓到1/3試驗電壓以下時,才能拉開電源。
6)在升壓或耐壓試驗過程中,如發現下列不正常情況時,應立即降壓,切斷電源。停止試驗並查明原因:①電壓表指針擺動很大;②發現絕緣燒焦或冒煙;③被試品內有不正常的聲音。
7)耐壓試驗前後應測量絕緣電阻,檢查絕緣情況。
試驗變壓器在做被試品的直流耐壓或泄露試驗時接線原理圖如圖7。
註:此試驗應先抽出短路桿“D”,圖7中所示。
圖7:高壓直流泄露試驗接線圖
圖中:VD—高壓矽堆R1—限流電阻C1—高壓濾波電容
FRC—阻容分壓器CX—被試品μA—帶保護微安表
泄露試驗中限流電阻R1選擇在額定輸出電壓時,輸出端短路電流不超過高壓矽堆的最大整流。如電壓矽堆的最大整流電流為100mA時用於60kV的試驗裝置中,限流電阻按R1=60/0.1=600kΩ選擇。限流電阻還應具有足夠的容量和沿面放電距離。
高壓濾波電容C1一般選擇在0.01~0.1μF,當被試品的電容量很大時,C1可省略不用。
泄露試驗的操作及注意事項
1)試驗前應先檢查被試品是否停電,接地放電,一切對外連線是否擦乾淨。要嚴防將試驗電壓加到有人工作的部位上去。
2)接好試驗裝置的接線後,應複查無誤後才可加壓。應特別注意檢查高壓設備及引線與地、與操作人員的安全距離,被試品的外殼是否可靠接地,要按安全規程中所規定的內容進行試驗。
3)對於大電容量設備應緩慢升壓,防止被試品的充電電流燒壞微安表。必要時應分級加壓,分別讀取各級電壓下微安表的穩定讀數。
4)試驗過程中,應密切監視被試品、試驗裝置、微安表,一旦發生擊穿、閃爍等異常現象應立即降壓,切斷電源,並查明原因,詳細記錄。
5)試驗完畢,降壓,切斷電源後應將被試品及試驗裝置本身充分放電。
注意事項
1、按照您所進行的試驗接好工作線路。試驗變壓器的外殼以及作業系統的外殼必須可靠接地。試驗變壓器高壓繞組的X端(高壓尾)以及測量繞組的F端必須可靠接地。2、做串級試驗時,第二級、第三級試驗變壓器的低壓繞組的X端,測量繞組的F端以及高壓繞組的X端(高壓尾)均接本級試驗變壓器的外殼。第二級、第三級試驗變壓器的外殼必須通過絕緣支架接地。
3、接通電源前,作業系統的調壓器必須調到零位後方可接通電源,合閘,開始升壓。
4、從零開始均勻旋轉調壓器手輪升壓。升壓方法有:快速升壓法,即20s逐級升壓法;慢速升壓法,即60s逐級升壓法;極慢速升壓法供選用。電壓從零開始按一定的升壓方式和速度上升到您所需的額定試驗電壓的75%後,在以每秒2%額定試驗電壓的速度升到您所需的額定電壓,並密切注意測量儀表的指示以及被試品的情況。升壓過程中或試驗過程中如發現測量儀表的指示及被試品情況異常,應立即降壓,切斷電源,查明情況。
5、試驗完畢後,應在數秒內勻速的將調壓器返回至零位,然後切斷電源。
6、本產品不得超過額定參數使用。除試驗必須外,決不允許全電壓通電或斷電。
7、使用本產品做高壓試驗時,出熟悉本說明書外,還必須嚴格執行國家有關標準和操作規程。可參照GB311-83《高壓輸變設備的絕緣配合,高壓試驗技術》;《電氣設備預防性試驗規程》等。
容量選擇
標稱試驗變壓器容量Pn的確定公式:Pn=kVn2ωCt×10-9式中:Pn——標稱試驗變壓器容量(kVA)
Vn——試驗變壓器的額定輸出高壓的有效值(kV)
k——安全係數。k≥1,標稱電壓Vn≥1MV時,k=2;標稱電壓較低時,k值可取高一些。
Ct——被試品的電容量(pF)
ω——角頻率,ω=2πf,f——試驗電源的頻率
被試設備的電容量Ct可由交流電橋測出。Ct的變化很大,
可由設備的類型而定。
典型數據如下:
簡單的棒式或懸式絕緣子幾十微法
簡單的分級套管100~1000pF
電壓互感器200~500pF
電力變壓器<1000kVA~1000pF
>1000kVA1000~10000pF
高壓電力電纜和油浸紙絕緣250~300pF/m
氣體絕緣~60pF/m
封閉變電站,SF6氣體絕緣100~10000Pf;
對於不同的試驗電壓Vn,選擇不同的(適當的)安全係數k。
以下列出不同的Vn所選用的k值供參考。
Vn=50~100kVk=4
Vn=150~300kVk=3
Vn>300kVk=2
