一、LYCH系列除塵器簡介
LYCH系列除塵器是一種針對我粉塵污染企業而設計的新型濕式除塵器,20世紀誕生於美國杜邦公司,從上世紀九十年代開始,國內礦山開始引入使用。在國外的礦山除塵系統上普遍採用。二、LYCH系列除塵器結構
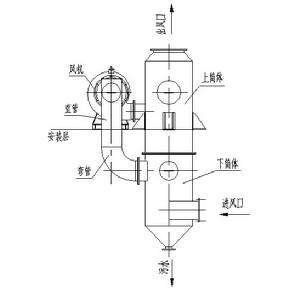
LYCH-濕式除塵機組由濕式洗滌風機和上筒體(汽水分離器)、下筒體,噴霧系統、電機、控制器、連同管等部分組成。
三、LYCH系列除塵器的工作原理
含塵氣體沿切線方向進入下筒體,離心作用使得氣、塵初步分離;接著,含塵氣體和經過充分霧化的水一起進入洗滌風機,在高速旋轉的風機葉輪強烈攪動下, 粉塵顆粒與水霧劇烈碰撞、聚合,含塵氣體被充分洗滌。捕捉了粉塵的泥漿及氣體從風機排出後,沿切線方向進入上筒體,利用離心力及重力的作用實現氣水分離。經脫水後的潔淨氣體從上筒體上方出口排出,含塵污水經下筒體從底部的排污口排出。四、技術改進措施和選用技術
LYCH除塵器充分利用了離心分離原理,通過兩次分離,分別將粉體和汽水混合物分離,經洗滌風機將汽水混合物充分接觸並形成污水。LYCH除塵器改進後的不同階段,風速不同,提高分離過程。加速淨化效果。五、LYCH系列除塵器的特點
1、 除塵效率高。除塵機組對含塵氣體進過下筒體、洗滌風機和上筒體多級作用,尤其是LYCH-濕式除塵機組獨特的洗滌風機,其葉輪在高速旋轉時,可產生巨大的離心力,強力擾動使細微粉塵和霧化水混合、凝結,達到極佳的除塵效果。在銅、鉛鋅、金、鐵等金屬選礦廠使用實踐表明,除塵機組出口含塵濃度均小於50mg/m,遠低於國家標準的要求,除塵效率之高是其他濕式除塵器難以企及的。2、運行成本低。首先是維護工作量很小。它很少發生其它類型濕式除塵器常見的堵塞問題,也沒有其配套風機因帶水運行導致的運行不穩定問題;其次,易損件少,且更換周期長。LYCH-濕式除塵機組最主要的易損件是風機葉輪,眾多的實踐證明,其壽命在2年以上。
3、故障率低:LYCH濕式除塵器因為結構簡單,傳動部件少,因此在實際套用當中故障極低,也符合礦山設備的套用特點,特別使用與對礦山人員管理要求不高的環境。使用現場實際證明,該除塵器安裝後的1-2年內可以不需要對設備進行維護,正常啟閉即可達到生產目的。整體設備使用壽命平均在10年左右。
4、我公司在多年的LYCH濕式除塵器使用過程中對設備進行了升級,較之引進初期設備使用功能更加完善,耗電更少,做到了低耗能,高效率。(相見專利檔案)。是LYCH除塵器能夠在礦山大範圍使用。
5、LYCH濕式除塵器可以融入生產系統,充分利用可回收粉塵,在治理環境的同時,將回收的粉塵100%歸流生產系統,提高選礦產量,同時減少除塵系統的投資壓力,某種意義上說可以做到除塵器的零投資或負投資。
六、性能指標
主要 LYCH除塵器分為三級混合過程和三級分離過程,是目前濕法除塵器效率最高,效果最好的除塵器。其除塵指標:
崗位粉塵濃度≤2mg/m
除塵系統排放口粉塵濃度≤50mg/m
目前該除塵器只適用於礦山選廠的破碎工藝段。
