概述
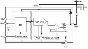
FP5508A 是一個 10-bit DAC 及 100mA 輸出電流的音圈電機(VCM)驅動控制晶片, 具有 I2C 兼容的
串列接口及輸出電流斜率控制模式。工作時序頻率高達 400 kHz。它的供電從 2.3 V 至 5.5 V。
FP5508A 具有輸出電流上升時間可以設定的 I2C 接口。上升時間已經增加,以消除輸出電流過沖,減少
音圈電機之機械振鈴效應。
FP5508A 的 I2C 地址是 0x18h, 只有當主設備啟動正確的地址, 產生確認條件後才能正常工作。
此晶片由天鈺科技(Fitipower Integrated Technology Inc.)開發採用,小型 WLCSP 封裝, 減少安裝空
間並適合在行動電話和其它攜帶型套用。
特性
輸入電壓範圍:2.3V to 5.5V
2 線式(I2C ®-Compatible) 串列接口
10-Bit 解析度 DAC
所有代碼保證單調性
輸出電流斜率控制
內建功能:
1. 電流偵測電阻(Integrated Current Sense Resistor)
2. 內建參考電源(Internal Reference)
3. 上電復位(Power-on Reset)
4. 反激式電感保護二極體(inductive Fly-Back Protection Diodes)
5. 省電模式控制(Power-Save Control (PS=High, Power Save))
省電模式電流 < 0.5mA(Power-Save Mode)
WLCSP(6-Ball)封裝
引腳圖(管腳圖)
6-Ball WLCSPPackage |
建議原理圖及內部電路方塊圖
圖一 建議原理圖 |
圖二 內部電路方塊圖 |

