基本原理
des算法結構其入口參數有三個:key、data、mode。key為加密解密使用的密鑰,data為加密解密的數據,mode為其工作模式。當模式為加密模式時,明文按照64位進行分組,形成明文組,key用於對數據加密,當模式為解密模式時,key用於對數據解密。實際運用中,密鑰只用到了64位中的56位,這樣才具有高的安全性。
算法特點
分組比較短、密鑰太短、密碼生命周期短、運算速度較慢。
主要流程
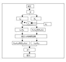
des算法流程圖DES算法把64位的明文輸入塊變為64位的密文輸出塊,它所使用的密鑰也是64位,整個算法的主流程圖如下:
置換規則表
其功能是把輸入的64位數據塊按位重新組合,並把輸出分為L0、R0兩部分,每部分各長32位,其置換規則見下表:
58,50,42,34,26,18,10,2,60,52,44,36,28,20,12,4,
62,54,46,38,30,22,14,6,64,56,48,40,32,24,16,8,
57,49,41,33,25,17,9,1,59,51,43,35,27,19,11,3,
61,53,45,37,29,21,13,5,63,55,47,39,31,23,15,7,
即將輸入的第58位換到第一位,第50位換到第2位,...,依此類推,最後一位是原來的第7位。L0、R0則是換位輸出後的兩部分,L0是輸出的左32位,R0 是右32位,例:設定換前的輸入值為D1D2D3......D64,則經過初始置換後的結果為:L0=D58D50...D8;R0=D57D49...D7。
經過16次疊代運算後。得到L16、R16,將此作為輸入,進行逆置換,即得到密文輸出。逆置換正好是初始置換的逆運算。例如,第1位經過初始置換後,處於第40位,而通過逆置換,又將第40位換回到第1位,其逆置換規則如下表所示:
40,8,48,16,56,24,64,32,39,7,47,15,55,23,63,31,
38,6,46,14,54,22,62,30,37,5,45,13,53,21,61,29,
36,4,44,12,52,20,60,28,35,3,43,11,51,19,59,27,
34,2,42,10,50,18,58 26,33,1,41,9,49,17,57,25,
放大換位表
32,1,2,3,4,5,4,5,6,7,8,9,8,9,10,11,
12,13,12,13,14,15,16,17,16,17,18,19,20,21,20,21,
22,23,24,25,24,25,26,27,28,29,28,29,30,31,32,1,
單純換位表
16,7,20,21,29,12,28,17,1,15,23,26,5,18,31,10,
2,8,24,14,32,27,3,9,19,13,30,6,22,11,4,25,
功能表
在f(Ri,Ki)算法描述圖中,S1,S2...S8為選擇函式,其功能是把48bit數據變為32bit數據。下面給出選擇函式Si(i=1,2......8)的功能表:
選擇函式Si
S1:
14,4,13,1,2,15,11,8,3,10,6,12,5,9,0,7,
0,15,7,4,14,2,13,1,10,6,12,11,9,5,3,8,
4,1,14,8,13,6,2,11,15,12,9,7,3,10,5,0,
15,12,8,2,4,9,1,7,5,11,3,14,10,0,6,13,
des算法S2:
15,1,8,14,6,11,3,4,9,7,2,13,12,0,5,10,
3,13,4,7,15,2,8,14,12,0,1,10,6,9,11,5,
0,14,7,11,10,4,13,1,5,8,12,6,9,3,2,15,
13,8,10,1,3,15,4,2,11,6,7,12,0,5,14,9,
S3:
10,0,9,14,6,3,15,5,1,13,12,7,11,4,2,8,
13,7,0,9,3,4,6,10,2,8,5,14,12,11,15,1,
13,6,4,9,8,15,3,0,11,1,2,12,5,10,14,7,
1,10,13,0,6,9,8,7,4,15,14,3,11,5,2,12,
S4:
7,13,14,3,0,6,9,10,1,2,8,5,11,12,4,15,
13,8,11,5,6,15,0,3,4,7,2,12,1,10,14,9,
10,6,9,0,12,11,7,13,15,1,3,14,5,2,8,4,
3,15,0,6,10,1,13,8,9,4,5,11,12,7,2,14,
S5:
2,12,4,1,7,10,11,6,8,5,3,15,13,0,14,9,
14,11,2,12,4,7,13,1,5,0,15,10,3,9,8,6,
4,2,1,11,10,13,7,8,15,9,12,5,6,3,0,14,
11,8,12,7,1,14,2,13,6,15,0,9,10,4,5,3,
S6:
12,1,10,15,9,2,6,8,0,13,3,4,14,7,5,11,
10,15,4,2,7,12,9,5,6,1,13,14,0,11,3,8,
9,14,15,5,2,8,12,3,7,0,4,10,1,13,11,6,
4,3,2,12,9,5,15,10,11,14,1,7,6,0,8,13,
S7:
4,11,2,14,15,0,8,13,3,12,9,7,5,10,6,1,
13,0,11,7,4,9,1,10,14,3,5,12,2,15,8,6,
1,4,11,13,12,3,7,14,10,15,6,8,0,5,9,2,
6,11,13,8,1,4,10,7,9,5,0,15,14,2,3,12,
S8:
13,2,8,4,6,15,11,1,10,9,3,14,5,0,12,7,
1,15,13,8,10,3,7,4,12,5,6,11,0,14,9,2,
7,11,4,1,9,12,14,2,0,6,10,13,15,3,5,8,
2,1,14,7,4,10,8,13,15,12,9,0,3,5,6,11,
在此以S1為例說明其功能,我們可以看到:在S1中,共有4行數據,命名為0,1、2、3行;每行有16列,命名為0、1、2、3,......,14、15列。
現設輸入為:D=D1D2D3D4D5D6
令:列=D2D3D4D5
行=D1D6
然後在S1表中查得對應的數,以4位二進制表示,此即為選擇函式S1的輸出。下面給出子密鑰Ki(48bit)的生成算法
子密鑰的算法
des算法從子密鑰Ki的生成算法描述圖中我們可以看到:初始Key值為64位,但DES算法規定,其中第8、16、......64位是奇偶校驗位,不參與DES運算。故Key 實際可用位數便只有56位。即:經過縮小選擇換位表1的變換後,Key 的位數由64 位變成了56位,此56位分為C0、D0兩部分,各28位,然後分別進行第1次循環左移,得到C1、D1,將C1(28位)、D1(28位)合併得到56位,再經過縮小選擇換位2,從而便得到了密鑰K0(48位)。依此類推,便可得到K1、K2、......、K15,不過需要注意的是,16次循環左移對應的左移位數要依據下述規則進行:
循環左移位數
1,1,2,2,2,2,2,2,1,2,2,2,2,2,2,1
以上介紹了DES算法的加密過程。DES算法的解密過程是一樣的,區別僅僅在於第一次疊代時用子密鑰K15,第二次K14、......,最後一次用K0,算法本身並沒有任何變化。
DES特點
DES算法具有極高安全性,到目前為止,除了用窮舉搜尋法對DES算法進行攻擊外,還沒有發現更有效的辦法。而56位長的密鑰的窮舉空間為2^56,這意味著如果一台計算機的速度是每一秒鐘檢測一百萬個密鑰,則它搜尋完全部密鑰就需要將近2285年的時間,可見,這是難以實現的。然而,這並不等於說DES是不可破解的。而實際上,隨著硬體技術和Internet的發展,其破解的可能性越來越大,而且,所需要的時間越來越少。使用經過特殊設計的硬體並行處理要幾個小時。
為了克服DES密鑰空間小的缺陷,人們又提出了三重DES的變形方式。
套用誤區
des體制加密流程由上述DES算法介紹我們可以看到:DES算法中只用到64位密鑰中的其中56位,而第8、16、24、......64位8個位並未參與DES運算,這一點,向我們提出了一個套用上的要求,即DES的安全性是基於除了8,16,24,......64位外的其餘56位的組合變化256才得以保證的。因此,在實際套用中,我們應避開使用第8,16,24,......64位作為有效數據位,而使用其它的56位作為有效數據位,才能保證DES算法安全可靠地發揮作用。如果不了解這一點,把密鑰Key的8,16,24,..... .64位作為有效數據使用,將不能保證DES加密數據的安全性,對運用DES來達到保密作用的系統產生數據被破譯的危險,這正是DES算法在套用上的誤區,留下了被人攻擊、被人破譯的極大隱患。
源程式
/*在我測試的時候發現這個代碼的一個問題是
如果加密後的密文裡面有00這個位元組的話
解密出來的就會是亂碼,編譯環境vc6.0
vs2008 使用需注意 */
(名為schedle.h的頭檔案)
#include <windows.h>
DWORDLONG dwlKey_PC_1[64]={
57,49,41,33,25,17,9,
1,58,50,42,34,26,18,
10,2,59,51,43,35,27,
19,11,3,60,52,44,36,
三重des算法63,55,47,39,31,23,15,
7,62,54,46,38,30,22,
14,6,61,53,45,37,29,
21,13,5,28,20,12,4,0};
DWORDLONG dwlKey_PC_2[64]={
14,17,11,24,1,5,
3,28,15,6,21,10,
23,19,12,4,26,8,
16,7,27,20,13,2,
41,52,31,37,47,55,
30,40,51,45,33,48,
44,49,39,56,34,53,
46,42,50,36,29,32,0};
DWORDLONG dwlData_IP[65]={
58,50,42,34,26,18,10,2,
60,52,44,36,28,20,12,4,
62,54,46,38,30,22,14,6,
64,56,48,40,32,24,16,8,
57,49,41,33,25,17,9,1,
59,51,43,35,27,19,11,3,
61,53,45,37,29,21,13,5,
63,55,47,39,31,23,15,7,0};
DWORDLONG dwlData_Expansion[64]={
32,1,2,3,4,5,
4,5,6,7,8,9,
8,9,10,11,12,13,
12,13,14,15,16,17,
16,17,18,19,20,21,
20,21,22,23,24,25,
24,25,26,27,28,29,
28,29,30,31,32,1,0};
DWORDLONG dwlData_P[33]={
16,7,20,21,
29,12,28,17,
子密鑰的生成過程1,15,23,26,
5,18,31,10,
2,8,24,14,
32,27,3,9,
19,13,30,6,
22,11,4,25,0};
DWORDLONG dwlData_FP[65]={
40,8,48,16,56,24,64,32,
39,7,47,15,55,23,63,31,
38,6,46,14,54,22,62,30,
37,5,45,13,53,21,61,29,
36,4,44,12,52,20,60,28,
35,3,43,11,51,19,59,27,
34,2,42,10,50,18,58,26,
33,1,41,9,49,17,57,25,0};
DWORDLONG OS[512]={
14,4,13,1,2,15,11,8,3,10,6,12,5,9,0,7,
0,15,7,4,14,2,13,1,10,6,12,11,9,5,3,8,
4,1,14,8,13,6,2,11,15,12,9,7,3,10,5,0,
15,12,8,2,4,9,1,7,5,11,3,14,10,0,6,13,
15,1,8,14,6,11,3,4,9,7,2,13,12,0,5,10,
3,13,4,7,15,2,8,14,12,0,1,10,6,9,11,5,
0,14,7,11,10,4,13,1,5,8,12,6,9,3,2,15,
13,8,10,1,3,15,4,2,11,6,7,12,0,5,14,9,
10,0,9,14,6,3,15,5,1,13,12,7,11,4,2,8,
13,7,0,9,3,4,6,10,2,8,5,14,12,11,15,1,
13,6,4,9,8,15,3,0,11,1,2,12,5,10,14,7,
1,10,13,0,6,9,8,7,4,15,14,3,11,5,2,12,
7,13,14,3,0,6,9,10,1,2,8,5,11,12,4,15,
13,8,11,5,6,15,0,3,4,7,2,12,1,10,14,9,
基於DES算法的RFID安全系統設計10,6,9,0,12,11,7,13,15,1,3,14,5,2,8,4,
3,15,0,6,10,1,13,8,9,4,5,11,12,7,2,14,
2,12,4,1,7,10,11,6,8,5,3,15,13,0,14,9,
14,11,2,12,4,7,13,1,5,0,15,10,3,9,8,6,
4,2,1,11,10,13,7,8,15,9,12,5,6,3,0,14,
11,8,12,7,1,14,2,13,6,15,0,9,10,4,5,3,
12,1,10,15,9,2,6,8,0,13,3,4,14,7,5,11,
10,15,4,2,7,12,9,5,6,1,13,14,0,11,3,8,
9,14,15,5,2,8,12,3,7,0,4,10,1,13,11,6,
4,3,2,12,9,5,15,10,11,14,1,7,6,0,8,13,
des算法圖解4,11,2,14,15,0,8,13,3,12,9,7,5,10,6,1,
13,0,11,7,4,9,1,10,14,3,5,12,2,15,8,6,
1,4,11,13,12,3,7,14,10,15,6,8,0,5,9,2,
6,11,13,8,1,4,10,7,9,5,0,15,14,2,3,12,
13,2,8,4,6,15,11,1,10,9,3,14,5,0,12,7,
1,15,13,8,10,3,7,4,12,5,6,11,0,14,9,2,
7,11,4,1,9,12,14,2,0,6,10,13,15,3,5,8,
2,1,14,7,4,10,8,13,15,12,9,0,3,5,6,11
};
------------------------
(以下為主程式)
#include <stdio.h>
#include <string.h>
#include <windows.h>
#include <conio.h>
#include "Schedle.h"
class CShift{
public:
DWORDLONG mask[16];
int step[16];
CShift(){
for(int i=0;i<16;i++){
step[i]=2;
mask[i]=0xc000000;
}
step[0]=step[1]=step[8]=step[15]=1;
mask[0]=mask[1]=mask[8]=mask[15]=0x8000000;
}
};
class CDES{
public:
CDES(){
m_dwlKey=0;
m_dwlData=0;
ConvertTableToMask(dwlKey_PC_1,64);
//PrintTable(dwlKey_PC_1,7,8);
ConvertTableToMask(dwlKey_PC_2,56);
ConvertTableToMask(dwlData_IP,64);
ConvertTableToMask(dwlData_Expansion,32);
ConvertTableToMask(dwlData_FP,64);
ConvertTableToMask(dwlData_P,32);
Generate_S();
}
void PrintBit(DWORDLONG);
void EncryptKey(char *);
unsigned char* EncryptData(unsigned char *);
unsigned char* DescryptData(unsigned char*);
private:
void ConvertTableToMask(DWORDLONG *,int);
void Generate_S(void);
void PrintTable(DWORDLONG*,int,int);
DWORDLONG ProcessByte(unsigned char*,BOOL);
DWORDLONG PermuteTable(DWORDLONG,DWORDLONG*,int);
void Generate_K(void);
void EncryptKernel(void);
DWORDLONG Generate_B(DWORDLONG,DWORDLONG*);
/*For verify schedule permutation only*/
DWORDLONG UnPermuteTable(DWORDLONG,DWORDLONG*,int);
/**************************************/
DWORDLONG dwlData_S[9][4][16];
CShift m_shift;
DWORDLONG m_dwlKey;
DWORDLONG m_dwlData;
DWORDLONG m_dwl_K[17];
};
void CDES::EncryptKey(char *key){
printf("\nOriginal Key: %s",key);
m_dwlKey=ProcessByte((unsigned char*)key,TRUE);
// PrintBit(m_dwlKey);
m_dwlKey=PermuteTable(m_dwlKey,dwlKey_PC_1,56);
// PrintBit(m_dwlKey);
Generate_K();
// printf("\n******************************************\n");
}
void CDES::Generate_K(void){
DWORDLONG C[17],D[17],tmp;
C[0]=m_dwlKey>>28;
D[0]=m_dwlKey&0xfffffff;
for(int i=1;i<=16;i++){
tmp=(C[i-1]&m_shift.mask[i-1])>>;(28-m_shift.step[i-1]);
C[i]=((C[i-1]<<m_shift.step[i-1])|tmp)&0x0fffffff;
tmp=(D[i-1]&m_shift.mask[i-1])>>;(28-m_shift.step[i-1]);
D[i]=((D[i-1]<<m_shift.step[i-1])|tmp)&0x0fffffff;
m_dwl_K[i]=(C[i]<<28)|D[i];
m_dwl_K[i]=PermuteTable(m_dwl_K[i],dwlKey_PC_2,48);
}
}
DWORDLONG CDES::ProcessByte(unsigned char *key,BOOL shift){
unsigned char tmp;
DWORDLONG byte=0;
int i=0;
while(i<8){
while(*key){
if(byte!=0)
byte<<=8;
tmp=*key;
if(shift)
tmp<<=1;
byte|=tmp;
i++;
key++;
}
if(i<8)
byte<<=8;
i++;
}
return byte;
}
基於des算法的rfid安全系統DWORDLONG CDES::PermuteTable(DWORDLONG dwlPara,DWORDLONG* dwlTable,int nDestLen){
int i=0;
DWORDLONG tmp=0,moveBit;
while(i<nDestLen){
moveBit=1;
if(dwlTable[i]&dwlPara){
moveBit<<=nDestLen-i-1;
tmp|=moveBit;
}
i++;
}
return tmp;
}
DWORDLONG CDES::UnPermuteTable(DWORDLONG dwlPara,DWORDLONG* dwlTable,int nDestLen){
DWORDLONG tmp=0;
int i=nDestLen-1;
while(dwlPara!=0){
if(dwlPara&0x01)
tmp|=dwlTable[i];
dwlPara>>=1;
i--;
}
return tmp;
}
void CDES::PrintTable(DWORDLONG *dwlPara,int col,int row){
int i,j;
for(i=0;i<row;i++){
printf("\n");
getch();
for(j=0;j<col;j++)
PrintBit(dwlPara[i*col+j]);
}
}
void CDES::PrintBit(DWORDLONG bitstream){
char out[76];
int i=0,j=0,space=0;
while(bitstream!=0){
if(bitstream&0x01)
out[i++]="1";
else
out[i++]="0";
j++;
if(j%8==0){
out[i++]=" ";
space++;
}
bitstream=bitstream>>1;
}
out[i]="\0";
strcpy(out,strrev(out));
printf("%s **:%d\n",out,i-space);
}
void CDES::ConvertTableToMask(DWORDLONG *mask,int max){
int i=0;
DWORDLONG nBit=1;
while(mask[i]!=0){
nBit=1;
nBit<<=max-mask[i];
mask[i++]=nBit;
}
}
void CDES::Generate_S(void){
int i;
int j,m,n;
m=n=0;
j=1;
for(i=0;i<512;i++){
dwlData_S[j][m][n]=OS[i];
n=(n+1)%16;
if(!n){
m=(m+1)%4;
if(!m)
j++;
}
}
}
unsigned char * CDES::EncryptData(unsigned char *block){
unsigned char *EncrytedData=new unsigned char⒂;
printf("\nOriginal Data: %s\n",block);
m_dwlData=ProcessByte(block,0);
// PrintBit(m_dwlData);
m_dwlData=PermuteTable(m_dwlData,dwlData_IP,64);
EncryptKernel();
// PrintBit(m_dwlData);
DWORDLONG bit6=m_dwlData;
for(int i=0;i<11;i++){
EncrytedData[7-i]=(unsigned char)(bit6&0x3f)+46;
bit6>>=6;
}
EncrytedData[11]="\0";
printf("\nAfter Encrypted: %s",EncrytedData);
for(i=0;i<8;i++){
EncrytedData[7-i]=(unsigned char)(m_dwlData&0xff);
m_dwlData>>=8;
}
EncrytedData[8]="\0";
return EncrytedData;
}
void CDES::EncryptKernel(void){
int i=1;
DWORDLONG L[17],R[17],B[9],EK,PSB;
L[0]=m_dwlData>>32;
R[0]=m_dwlData&0xffffffff;
for(i=1;i<=16;i++){
L[i]=R[i-1];
R[i-1]=PermuteTable(R[i-1],dwlData_Expansion,48); //Expansion R
EK=R[i-1]^m_dwl_K[i]; //E Permutation
PSB=Generate_B(EK,B); //P Permutation
R[i]=L[i-1]^PSB;
}
R[16]<<=32;
m_dwlData=R[16]|L[16];
m_dwlData=PermuteTable(m_dwlData,dwlData_FP,64);
}
unsigned char* CDES::DescryptData(unsigned char *desData){
int i=1;
unsigned char *DescryptedData=new unsigned char⒂;
DWORDLONG L[17],R[17],B[9],EK,PSB;
DWORDLONG dataPara;
dataPara=ProcessByte(desData,0);
dataPara=PermuteTable(dataPara,dwlData_IP,64);
R[16]=dataPara>>32;
L[16]=dataPara&0xffffffff;
for(i=16;i>=1;i--){
R[i-1]=L[i];
L[i]=PermuteTable(L[i],dwlData_Expansion,48); //Expansion L
EK=L[i]^m_dwl_K[i]; //E Permutation
PSB=Generate_B(EK,B); //P Permutation
L[i-1]=R[i]^PSB;
}
L[0]<<=32;
dataPara=L[0]|R[0];
dataPara=PermuteTable(dataPara,dwlData_FP,64);
// PrintBit(dataPara);
for(i=0;i<8;i++){
DescryptedData[7-i]=(unsigned char)(dataPara&0xff);
dataPara>>=8;
}
DescryptedData[8]="\0";
printf("\nAfter Decrypted: %s\n",DescryptedData);
return DescryptedData;
}
DWORDLONG CDES::Generate_B(DWORDLONG EKPara,DWORDLONG *block){
int i,m,n;
DWORDLONG tmp=0;
for(i=8;i>0;i--){
block[i]=EKPara&0x3f;
m=(int)(block[i]&0x20)>>4;
m|=block[i]&0x01;
n=(int)(block[i]<<1)>>2;
block[i]=dwlData_S[i][m][n];
EKPara>>=6;
}
for(i=1;i<=8;i++){
tmp|=block[i];
tmp<<=4;
}
tmp>>=4;
tmp=PermuteTable(tmp,dwlData_P,32);
return tmp;
}
void main(void){
CDES des;
des.EncryptKey("12345678");
unsigned char *result=des.EncryptData((unsigned char*)"DemoData");
des.DescryptData(result);
}

