簡介
高壓鏇噴樁 分類及形式
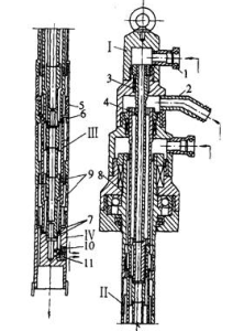
三重管構造 單管法
用一根單管噴射高壓水泥漿液作為噴射流,由於高壓漿液射流在土中衰減大,破碎土的射程較短,成樁直徑較小,一般為0.3-0.8m。
二重管法
用同軸雙通道二重注漿管複合噴射高壓水泥漿和壓縮空氣二種介質,以漿液作為噴射流,但在其外圍裹著一圈空氣流成為複合噴射流,成樁直徑1.0m左右。
三重管法
同軸三重注漿管複合噴射高壓水流和壓縮空氣,並注入水泥漿液。由於高壓水射流的作用,使地基中一部分土粒隨著水、氣排出地面,高壓漿流隨之填充空隙。成樁直徑較大,一般有1.0-2.0m,但成樁強度較低(0.9-1.2MPa)。成樁形式分鏇噴注漿、定噴注漿和擺噴注漿等三種類別。加固形狀可分為柱狀、壁狀和塊狀等。
特點
鏇噴法具有以下特點:提高地基的抗剪強度,改善土的變形性質,使在上部結構荷載作用下,不產生破壞和較大沉降;能利用小直徑鑽孔鏇噴成比孔大8-10倍的大直徑固結體;可通過調節噴嘴的鏇噴速度、提升速度、噴射壓力和噴漿量,鏇噴成各種形狀樁體;可製成垂直樁、斜樁或連續牆,並獲得需要的強度;可用
於已有建築物地基加固而不擾動附近土體,施工噪聲低,振動小;可用於任何軟弱土層,可控制加固範圍;設備較簡單、輕便,機械化程度高,材料來源廣;施工簡便,操作容易,速度快,效率高,用途廣泛,成本低。
適用範圍
適於淤泥、淤泥質土、粘性土、粉土、砂土、濕陷性黃土、人工填土及碎石土等的地基加固;可用於既有建築和新建築的地基處理,深基坑側壁擋土或擋水,基坑底部加固防止管涌與隆起,壩的加固與防水帷幕等工程。但對含有較多大粒塊石、堅硬粘性土、大量植物根基或含過多有機質的土以及地下水流過大、噴射漿液無法在注漿管周圍凝聚的情況下,不宜採用。
樁徑的選擇
樁直徑大小由注漿方法、土的類別、密度、施工條件等而定。

