概述
霍爾器件
Hall element
利用霍爾效應的固態電子器件。E.H.霍爾於1879年發現:一塊矩形導體或半導體材料在磁感應強度為Bz的磁場中,在垂直於磁場的方向有電流Ix通過試件(圖1),在既垂直於磁場Bz、又垂直於電流Ix的方向將產生電場Ey,這就是霍爾效應。這個電場在電極3和4之間產生電動勢UH,稱為霍爾電動勢
UH=-RHBzIx/d
式中Ix為從電極1到電極2的電流;d為試件厚度;RH為比例係數(稱霍爾係數)。霍爾係數與試件中載流子濃度有關。
霍爾器件式中n為試件中導電載流子濃度;q為電子的電荷。霍爾係數的符號決定於試件中載流子是帶正電荷或負電荷。
霍爾器件除矩形外,還有十字形、方形、四葉苜蓿葉形和其他更複雜的形狀(圖2)。形狀不同,試件中電勢分布也不同。霍爾電極的焊點占一定面積,也影響電勢分布。為此引進一個形狀因子K
UH=-KRHIxBz/d
霍爾器件電動勢
在圖1的電極1,2間加恆定電壓Ui,霍爾電動勢的表達式可變換成
UH=(UiμB)(Kw/l)
式中 Ui為兩個電流電極之間的電壓;μ為試件中載流子遷移率;w和l分別為試件的寬度和長度。恆定電壓下電極3和4之間的電壓也與磁場強度成正比。
霍爾器件
實際上,用霍爾器件測量磁場強度時,是用恆定電流法還是用恆定電壓法,要考慮多方面的因素,如磁場強度和霍爾電壓間的線性誤差、靈敏度的溫度係數、同樣工藝條件製造的器件的性能分散程度等。
用霍爾器件測量磁場強度的特點是:器件很小很扁(可以放在窄縫中),有很高的準確度、靈敏度和穩定性,還有很寬的工作溫度範圍。
已知試件的尺寸、磁場強度和電流,測量霍爾電動勢即可求得試件的載流子濃度。載流子濃度是半導體材料的一個重要參量。在不同溫度下測量霍爾係數可以得到試件中載流子濃度和溫度的關係。這是了解半導體材料的基本性質的一個重要方法。在給定的電流強度下,產生的霍爾電動勢與磁場強度成正比。可以利用這一原理來測量磁場強度。
霍爾器件如果磁場由電磁鐵產生(圖3),磁場強度與電流強度IB成比例,在磁場中的霍爾器件產生的霍爾電壓與兩個電流的乘積IxIB成比例,因此可以利用霍爾效應製成乘法器。乘法器有許多用途,除進行乘法運算外,還可以用作調製器、除法器、功率計等。
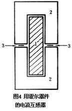
霍爾器件圖4是利用霍爾器件測量幾千安培以上的大電流的方法。圖中1 是通過大電流導體的截面,2是兩塊磁性材料,在兩個空氣隙中放有霍爾器件3。用霍爾器件測量磁性材料中的磁感應強度。此法特別適用於測量大直流電流強度。
用永久磁鐵作為不消耗能源的“發射機”,用霍爾器件作為“接收機”。將它們分別粘在兩個物體上,則可測量兩個物體的相對位置。
還可以利用霍爾效應製作鏇轉器、單向器和環行器。這類器件使信號沿單一方向傳輸,而不能沿相反的方向傳輸。
製造
製造霍爾器件的半導體材料主要是鍺、矽、砷化鎵、砷化銦、銻化銦等。一般用N型材料,因為電子遷移率比空穴的大得多,器件可以有較高的靈敏度。有的材料的禁頻寬度很窄,工作的溫度範圍小。除了用整塊半導體材料做霍爾器件外,還可以用薄膜製作霍爾器件。在絕緣襯底上澱積薄膜或用外延或離子注入等方法在高電阻率的半導體襯底上製造一層厚度為微米量級的薄膜。用離子注入或處延法製造的砷化鎵霍爾器件在很寬的磁場強度範圍內有很好的線性關係,並且能在很寬的溫度範圍內穩定地工作。用矽外延或離子注入方法製作的薄膜霍爾器件可以和積體電路工藝兼容。將霍爾器件和差分放大器及其他電路做在一個矽片上,可以縮小尺寸、提高靈敏度、減小失調電壓,便於大量生產。
霍爾效應
在轎車電路上經常可以看到“霍爾”(Hall)這個名稱,例如桑塔納2000點火系統就有一隻霍爾感測器,專門給發動機電控單元(ECU)提供電壓信號。那么霍爾器件起到什麼作用呢? 這裡涉及一個“霍爾效應”的問題,霍爾效應在套用技術中特別重要。霍爾發現,如果對位於磁場(B)中的導體(d)施加一個電壓(Iv),該磁場的方向垂直於所施加電壓的方向,那么則在既與磁場垂直又和所施加電流方向垂直的方向上會產生另一個電壓(UH),人們將這個電壓叫做霍爾電壓,產生這種現象被稱為霍爾效應。
套用
根據霍爾效應做成的霍爾器件,就是以磁場為工作媒體,將物體的運動參量轉變為數字電壓的形式輸出,使之具備感測和開關的功能。 迄今為止,已在現代汽車上廣泛套用的霍爾器件有:在分電器上作信號感測器、ABS系統中的速度感測器、汽車速度表和里程表、液體物理量檢測器、各種用電負載的電流檢測及工作狀態診斷、發動機轉速及曲軸角度感測器、各種開關,等等。 例如汽車點火系統,設計者將霍爾感測器放在分電器內取代機械斷電器,用作點火脈衝發生器。這種霍爾式點火脈衝發生器隨著轉速變化的磁場在帶電的半導體層內產生脈衝電壓,控制電控單元(ECU)的初級電流。相對於機械斷電器而言,霍爾式點火脈衝發生器無磨損免維護,能夠適應惡劣的工作環境,還能精確地控制點火正時,能夠較大幅度提高發動機的性能,具有明顯的優勢。 用作汽車開關電路上的功率霍爾電路,具有抑制電磁干擾的作用。
優勢
許多人都知道,轎車的自動化程度越高,微電子電路越多,就越怕電磁干擾。而在汽車上有許多燈具和電器件,尤其是功率較大的前照燈、空調電機和雨刮器電機在開關時會產生浪涌電流,使機械式開關觸點產生電弧,產生較大的電磁干擾信號。採用功率霍爾開關電路可以減小這些現象。 霍爾器件通過檢測磁場變化,轉變為電信號輸出,可用於監視和測量汽車各部件運行參數的變化。例如位置、位移、角度、角速度、轉速等等,並可將這些變數進行二次變換;可測量壓力、質量、液位、流速、流量等。霍爾器件輸出量直接與電控單元接口,可實現自動檢測。霍爾器件都可承受一定的振動,可在零下40℃到零上150℃範圍內工作,全部密封不受水油污染,完全能夠適應汽車的惡劣工作環境。

