防誤閉鎖
主要功能
防誤閉鎖的主要功能為(簡稱“五防” ):
①防止誤分、合斷路器。
②防止帶負荷分、合隔離開關。
③防止帶電掛 (合)接地線(接地刀閘 ) 。
④防止帶接地線 (接地刀閘 ) 合斷路器(隔離開關 ) 。
⑤防止誤入帶電間隔。
原則
①防誤閉鎖裝置的結構應簡單、可靠,操作維護方便,儘可能不增加正常操作和事故處理的複雜性。
②電磁鎖採用間隙式原理, 鎖栓能自動復位。
③成套的高壓開關設備應優先選用機械聯鎖防誤。
④防誤裝置應設有解鎖工具 (鑰匙) 。
⑤防誤裝置應不影響開關設備的主要技術性能。
⑥ 防誤裝置應做到防塵、防異物、防鏽、不卡澀。戶外的防誤裝置還應有防水、防潮、防霉的措施。
⑦“五防”中除防止誤分、誤合斷路器可採用提示性的設施外,其它“四防”應採用強制性措施。
分類
現階段的防誤閉鎖主要包括:電氣閉鎖、電磁閉鎖(電磁鎖) 、機械閉鎖、機械程式鎖、帶電顯示裝置、微機防誤、測控閉鎖、後台邏輯閉鎖等。
簡介
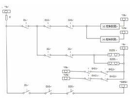
電氣閉鎖方式通常是在電氣接線迴路增加附加的觸點,通過電氣線在被控的電氣設備上添加閉鎖控制。它通過開合被控設備的電源達到強制閉鎖的目的。為了滿足運行可靠性的要求、達到防止誤操作的目的,電氣閉鎖添加的輔助觸點需要能夠正確保證設備狀態的跳轉,其通斷也需要考慮可靠性。電氣閉鎖普遍套用於電動操作的隔離開關和電動操作的接地刀間。如圖1所示,圖中將斷路器的位置動斷觸點串到隔離開關的控制迴路中,只有當斷路器處於斷開位置時,隔離開關的控制迴路才能導通進行操作,從而達到"防止帶負荷誤分、誤合隔離開關"的目的。
電氣閉鎖一般只是對斷路器、隔離開關、接地刀閩等進行閉鎖,而對誤入帶電間隔、帶電掛地線(合接地刀間)的誤操作,很難實現強制閉鎖。此外,送種閉鎖方式需要接入大量的控制電纜,對於間隔多、閉鎖邏輯複雜的變電站,電纜用量龐大,施工調試時間長,而且給變電站的擴大規模、日常維護帶來很大的工作量。操作簡單使得電氣閒鎖具有很鮮明的特點,但在電氣閉鎖裝置的安裝和套用過程里仍然有幾個缺點不容忽視。
電氣閉鎖引入附加的觸點,在實際運行中,接觸不良的情況可能出現,這會造成整個閉鎖過程的可靠性降低,這對輔助開關的質量和運行環境提出更高的要求 。
典型電氣閉鎖裝置
電氣用鎖一般有以下幾種。
(1)母線隔離開關和母聯(分段)斷路器、隔離開關的用鎖。
(2)接地刀閘、母線隔離開關處於斷路器母線側時兩者間的閉鎖。
(3)線路(變壓器)隔離開關或母線隔離開關和斷路器的閉鎖。
(4)正負巧線隔離開關之間的閉鎖。
(5)線路(變壓器)接地刀闡和線路(變壓器)隔離開關、旁路隔離開關之間的閉鎖。
(6)所有旁路隔離開關和旁路斷路器的閉鎖。
(7)母線接地刀閩和所有母線隔離開關的閉鎖 。
電氣閉鎖的優缺點
(1) 電氣閉鎖結構嚴謹、可靠。
(2) 電氣閉鎖一般能防止隔離開關、接地刀閘和網門的誤操作。
(3) 電氣閉鎖可以很好地防止誤入電容器組、站用接地變等的間隔,做到防誤入帶點間隔。
(4) 由於其接線複雜,涉及的元件較多,需掌握一定電氣技術的工人才能進行人為解鎖,因此能達到強制性防誤操作的目的。
(5) 需要接入大量的二次電纜,接線方式較為複雜,運行維護較為困難。
(6) 電氣閉鎖對接地線的掛接(拆除)則無能為力,不能實現完整的“五防“。
(7) 由於涉及的元件較多,只要開關、刀閘、地刀的輔助接點及其操作機構某一環節出現故障就會影響電動操作,維護比較困難。
(8) 閉鎖一旦安裝後,如需改動,工作量比較大,工作複雜,不能很好滿足變電站的日常工作使用 。

