背景介紹
電傳輸是離子遷移現象,故可望套用於金屬的精煉方面,某科學家最初利用此現象研究了Zr高純化,爾後又研究了許多液態和固態金屬,測定了有關置換、間隙型元素的電傳輸特徵值,並據此從理論上對金屬的精煉效果作了探討,結果表明,固態金屬中間隙型元素和液態金屬中的置換型元素用電傳輸法去除很有效。此法研究普通金屬時耗能多不經濟,因此1970年以後主要用於難以用化學法精煉的活潑金屬(Ti、Zr、Hf、V、Nb和Ta、U、Mo稀土金屬等)。
在金屬兩端加上電場,通過直流電時,大部分電流通過自由電來傳導,極少部分則由離子來傳導,後者通常稱為電傳輸或電遷移,有時也叫做電擴散。
電傳輸法裝置
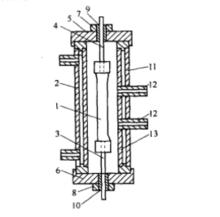
設備由電極內裝料棒的超高真空容器和電源構成。容器內應保持超高真空或與此相應的高純惰性氣體,通過 直流電產生的焦耳熱,應使料棒保持0.8~0.95T的溫度 。如下圖所示,在料棒和電極的連線處,為減 少料棒加熱和冷卻時的伸縮現象,儘可能採用波紋聯結 。
電傳輸法裝置基本原理
固態電傳輸法又稱固態電解法或離子遷移法,它是在低於金屬熔點的溫度下以及在電場作用下,由於雜質離子有效電荷和擴散係數的差異產生順序遷移來實現金屬的提純目的。此法對有效電荷為負的間隙性雜質氧、氮、氫、碳等的去除效果明顯,對微量的金屬雜質的去除也有效。固態電傳輸法的提純效果取決於離子和電子或導電空穴間作用的特性。
影響固態電傳輸提純程度的主要因素為試樣長度、電場強度、電傳輸速率和擴散係數,而後二者的數值隨著溫度的提高則增大。因此,用儘可能長的試樣,提高電流密度以增加電場強度。以及提高提純比等,均可提高提純程度。
提純工藝
下圖為電傳輸所用的設備示意圖。將經過真空熔化甚至真空蒸餾提純後的稀土金屬棒垂直固定在正、負電極之間,在超高真空或惰性氣氛下,通過直流電加熱到一定溫度,並保持一定時間,使雜質分別向兩極遷移以達到提純金屬的目的。若需進一步提純,將樣品兩端切去,剩下較純的中間部分進行二次電遷移處理。
固態電傳輸提純工藝示意圖懸浮區熔
電傳輸聯合法提純稀土金屬
為提高提純效果,縮短生產周期,常將區熔和電傳輸結合起來,即在電場中區熔提純稀土金屬。此法綜合了兩種提純方法的優點,通過雜質在液固兩相中的溶解度不同而區熔除去,同時利用電傳輸使雜質向陽極遷移,並且在高真空狀態下使易揮發雜質揮發除去。一般情況下,氣體雜質和碳主要靠電傳輸除去,非稀土雜質利用區熔和電傳輸共同除去。下圖為區熔一電傳輸聯合法提純稀土金屬的示意圖。
區熔一電傳輸聯合法提純稀土金屬示意圖試樣垂直固定在水冷銅電極之間,底部電極用彈簧頂住,以便試樣由於熱膨脹而向下移動。提純時試樣通入直流電加熱,電子束熔區由下向上移動。
提純金屬釔的試樣長230mm,截面120mm ,將其垂直固定在水冷銅電極之間,通入直流電加熱至900℃,電流密度為3A/mm ,電場電壓0.06V/cm,設備的真空度1.33×10~Pa,電子束熔區以0.4mm/min的速度由下向上移動。在電場中經過10次區熔的試樣,其x射線照片表明,釔錠的首部是單晶,中部是粗晶,而尾部是多晶,可見釔棒的首部是試樣的最純部分。
鈰的提純試樣尺寸為120mm×8mm,在以熔融鋰提純的氦氣氛下(66.5kPa)進行區熔一電傳輸,電流密度6A/mm ,電壓降0.4V,電子束熔區以0.3mm/min的速度由下向上移動。熔區通過6次以後,陰極和中間兩部分的雜質含量已低於光譜分析的靈敏度,雜質含量從原料鈰中的0.245%降低到提純鈰中的0.085%,顯微硬度相應的從28kg/m 降到23.8kg/mm 。

