簡介
間歇式離心機有三足式離心機、上懸式離心機、副刀卸料離心機等。其工作特點是力料、分離、洗滌、脫水、卸料、洗網等各道工序都在不同時間內,在轉鼓內周期性地問歇進行與連續式離心機相比,其生產能力小,操作維修量大,但對物料的適應性強。
三足式離心機
三足式離心機是世界上最早出現的離心機種,目前仍是國內外套用範圍最廣、製造婁目最多的一種問歇操作、人工卸料的立式離心機。它具有結構簡單,適應性強,操作方便製造容易,運轉平穩,濾渣顆粒不易受損傷等特,·三足式離心機有過濾式和沉降式兩種,其卸料方式又有上部卸料與下部卸料之分。
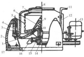
結構圖
三足式離心機的結構如下圖所示,
三足式離心機轉鼓體、主軸、軸承座、外殼、電機、角帶輪等離心機零件幾乎全部裝在底盤上,然後退過三根擺桿懸吊在二三條支柱上,故而因此得到三足式之名。
操作時,料液從機器頂送入,經布料器在轉鼓內均布。濾液受離心力作用穿過過濾介質,從鼓壁外收集。而固體顆粒則積留在濾布上,逐漸形成一定厚度的濾餅層。卸料時需停機,靠人工除去濾餅及更換濾布,機器運轉及分離過程均為間歇式。
操作循環
一個典型的操作循環可以包括以下幾個階段:①起動加速至加料轉速;②在加料轉速於燥;⑤制動轉入低速;⑥在低速下用刮刀機構排除濾餅。
優缺點
其主要優點:①對物料的適應性強;②人工卸料式的結構簡單,製造、安裝、維修方便,成本低,操作容易,停機或低速下卸料,易於保持產品的晶粒形狀;③彈性懸掛支承結構,能減少振動,機器運轉平穩;④整個高速迴轉機構集中在一個可以封閉的天體中,易於實現密封防爆。
其缺點有:間歇式分離,周期循環操作,進料階段需啟動,增速、卸料則需減速或停機;生產能力低,人工上部卸料機型勞動強度大;操作條件差,故只適用於小型的生產。
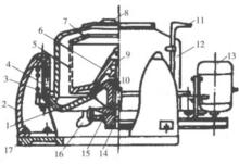
上懸式離心機
上懸式離心機是繼三足式離心機以後出現的一種間歇式離心機。有過濾式和沉降式兩種,其中過濾式套用較廣。下圖為其結構圖。
上懸式離心機工作特點
上懸式離心機的結構特點是其轉鼓固定在較長的柔性軸下端,而軸的上端則藉助軸承而懸掛在鉸接支承中。鉸接支承內裝有彈性材料製成的緩衝環,用於限制主軸的徑向位移,以減弱轉子不平衡時軸承承受的動載荷。
這種支承方式使支承點遠高於轉子的質量中心,從而保證運時的穩定性,並能使轉子自動調心。這樣的支承與傳動裝置也不致被濾液或濾渣所污染。
工作循環
上懸式離心機每一工作循環包括加料、分離、洗滌、再分離、卸料、濾網再生等工序。根據其結構特點,加料及卸料均在低迴轉速度下進行一故離心機運行時,轉鼓迴轉速度連續作周期性變化,即低速加料後,加速至全速進行分離;分離結束後利用電力再生制動和機械制動,至低速下進行卸料,如此周期性地循環工作,上懸式離心機採用下部卸料,卸料方式有重力卸料和機械卸料兩種,目前多採用機械刮刀卸料、為了減輕勞動強度,提高生產能力,改善生產現場衛生條件,近年來均採用多速電動機或直流電動機驅動和時間自動控制的全自動或半自動上懸式離心機。

