簡述:
鏈輪傳動裝置包括鏈輪、鏈條和一端設裝在離合器傳動盤上的鏈輪軸,其特徵在於:還包括設裝在離合器殼體或機體上的設有能使鏈條通過的口的鏈輪軸定位蓋,鏈輪軸的另一端設裝在鏈輪軸定位蓋上。所以,能平穩地運行,不易產生徑向跳動及振動,零部件不易損壞,能充分保證鏈輪傳動裝置的使用壽命,是一種理想的更新換代產品。
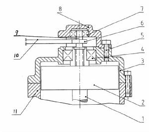
分解圖和分解說明

鏈輪傳動裝置包括鏈輪、鏈條和一端設裝在離合器傳動盤上的鏈輪軸,其特徵在於:還包括設裝在離合器殼體或機體上的設有能使鏈條通過的口的鏈輪軸定位蓋,鏈輪軸的另一端設裝在鏈輪軸定位蓋上。 所以,能平穩地運行,不易產生徑向跳動及振動,零部件不易損壞,能充分保證鏈輪傳動裝置的使用壽命,是一種理想的更新換代產品。 一種小型汽油機鏈輪傳動裝置,包括鏈輪(6)、鏈條(10)和一端設裝在離合器傳動盤(2)上的鏈輪軸(9),其特徵在於:還包括設裝在離合器殼體(3)或機體(11)上的設有能使鏈條(10)通過的口的鏈輪軸定位蓋(8),鏈輪軸(9)的另一端設裝在鏈輪軸定位蓋(8)上。
鏈輪傳動裝置包括鏈輪、鏈條和一端設裝在離合器傳動盤上的鏈輪軸,其特徵在於:還包括設裝在離合器殼體或機體上的設有能使鏈條通過的口的鏈輪軸定位蓋,鏈輪軸的另一端設裝在鏈輪軸定位蓋上。所以,能平穩地運行,不易產生徑向跳動及振動,零部件不易損壞,能充分保證鏈輪傳動裝置的使用壽命,是一種理想的更新換代產品。
分解圖和分解說明
準雙曲面齒輪傳動1錐齒輪傳動的分類2錐齒輪的基準齒制和模數系列3錐齒輪、準雙曲面齒輪傳動的幾何計算3.1直齒錐齒輪傳動的幾何計算3.2斜齒錐齒輪傳動的幾...
內容介紹 作品目錄Hy-Vo齒形鏈。對於齒形鏈鏈輪。按照齒形的不同可分為漸開線齒形鏈輪、直線齒形鏈輪、圓弧齒形鏈輪等;按照傳動形式的不同可分為單排鏈輪、雙排鏈輪、多排鏈輪等;按照齒頂圓弧形式的不同可分為非頂切鏈輪、頂切鏈輪;按照齒形鏈...
基本概述 套用領域 齒形鏈特點 齒形鏈分類(GB13575.1―92)1.5傳動裝置的安裝與使用(GB13575.1―92...1一般傳動裝置用同步帶傳動1.1同步帶(GB11616―89)1.2...第21篇 鏈 傳 動第1章 傳動鏈及鏈輪1傳動用鏈條和鏈輪標準的主要內容...
作品目錄作品目錄目 錄第二版序第一版序第二版編輯說明第1篇 傳 動 總 論第1章 概 論1傳動及其組成2傳動的特性和參數2?1常用特性參...
作品目錄機械 儀表工業 機械零件及傳動裝置定價:¥175.00內容簡介金屬...
離合器卷 密封墊片卷 聯軸器卷(上) 聯軸器卷(下) 鏈傳動卷,設在船的首部。其鏈輪兩側的滾筒可作絞收纜繩之用。錨機按動力不同可分人力...不同外,其功能部分是基本相同的,即都包括鏈輪、絞纜滾筒、離合器和剎車...)一般隨主軸一起轉動,鏈輪則由獨立離合器和剎車控制。離合器合攏時,鏈輪和...
簡介 運行特點 技術指標 錨機在船上的布置的驅動由傳動裝置完成,電動機啟動經減速機將動力傳給裝有鏈輪的主軸,在鏈輪...的主體,它主要有輸送鏈條、附屬檔案、鏈輪、頭軸、尾軸、軌道、支架等部分組成。4...裝有鏈輪的3根傳動軸加1台驅動電機減速機組成。鏈條繞過傳動軸上的鏈輪和鏈...
工作原理 設備特點 設備結構 鏈式輸送機 設備改進傳動裝置(圖4—11)。 (1)排種傳動機構 排種傳動機構配置在機體左側,由地輪軸主動鏈輪7(z=12)、中間軸鏈輪(z=8、18)10(z=8)、11(z=18)、排種軸鏈輪14(z=10 或20)、張緊輪12...
簡介 結構 歷史 發明人 類型