基本結構
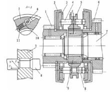
鎖銷式同步器圖1所示是鎖銷式慣性同步器的結構圖,其主要由花鍵轂9、接合套5、摩擦錐環3、摩擦錐盤2、鎖銷8、定位銷4 以及鋼球10、彈簧11等組成。
兩個有內錐面的摩擦錐盤2 分別固定在帶有外花鍵齒圈的齒輪1 和6 上,隨齒輪一同旋轉。與之相配合的兩個有外錐面的摩擦錐環3,通過三個鎖銷8 和三個定位銷4 與接合套 5 連線。銷鎖8 與定位銷4 在同一圓周上相互間隔地均勻分布。鎖銷8 的兩端固定在摩擦錐環3的孔中,兩端的工作表面直徑與接合套上孔的內徑相等,而中部直徑則小於孔徑。
鎖銷8 中部和接合套5 上相應的銷孔兩端有角度相同的倒角—鎖止角。只有在鎖銷與接合套孔對中時,接合套才能沿鎖銷軸向移動。在接合套上定位銷孔中部有斜孔,內裝彈簧11,把鋼球10 頂向定位銷中部的環槽(如A—A 所示),以保證同步器處於正確的空擋位置。定位銷4 兩端伸入錐環內側面,但有周向間隙,錐環相對接合套在一定範圍內作周向擺動。
工作過程
在空擋位置時,摩擦錐環3 與摩擦錐盤2 之間有一定間隙,定位銷4 可隨接合套軸向移動。由四擋換入五擋時,接合套5受到撥叉的軸向推力作用,通過鋼球10和定位銷4 帶動摩擦錐環3左移,使之與對應的摩擦錐盤接觸。
因摩擦錐環與錐盤有轉速差,接觸後的摩擦作用使錐環和鎖銷相對於接合套轉過一個角度,鎖銷8 軸線與接合套上相應孔的軸線偏移,於是鎖銷中部倒角與銷孔端的倒角互相牴觸,以阻止接合套繼續前移。此時鎖止面上的法向壓緊力N的軸向分力F1作用在摩擦錐環上並使之與錐盤壓緊,使接合套與待嚙合的齒圈迅速達到同步。
達到同步時,起鎖止作用的齒輪1的慣性力矩消失,作用在鎖銷上的切向力F2產生的撥銷力矩通過鎖銷使摩擦錐環3、摩擦錐盤2 和齒輪1相對於接合套轉過一個角度,鎖銷與接合套的相應孔對中,接合套克服彈簧11 的彈力壓下鋼球而沿鎖銷移動,直到與齒輪1的接合齒圈嚙合,順利掛上五擋。
