兩個彼此鉸接的車輛部分之間的過渡部
技術領域
本實用新型涉及一種兩個彼此鉸接的車輛部分之間的過渡部的過渡裝置,所述車輛部分是鉸接車輛的車輛部分,其中至少在所述過渡裝置的一個端部處在過渡裝置與車輛部分的地板之間存在間隙,其中設有至少一個第一唇形板條來跨接所述間隙,所述至少一個第一唇形板條通過固定裝置被接納在過渡裝置上或地板上。
背景技術
兩個彼此狡接的車輛間的過渡部通常包括過渡部裝置,該過渡部裝置使乘客能從一個車輛部分轉移到另一個車輛部分上,以及一箱形或隧道形包圍該過渡裝置的折棚,從而實現了乘客在不受天氣情況影響的情況下從一個車輛部分到另一個車輛部分的轉移。在車輛部分之間具有鉸接部,例如在鉸接大客車中的情況下是車輛鉸接機構。該折棚不僅跨過該過渡裝置上,而且也跨過該鉸接件。而在軌道車輛上經常是,折棚在過渡裝置和鉸接部之間伸展,並在必要時支撐在該鉸接部上。 該過渡裝置自身例如可設計為具有一轉盤和一固定的平台元件的過渡平台。該固定的平台元件在此鉸接在後車輛部分上,而該過渡平台的轉盤支撐在車輛鉸接機構上。這種車輛鉸接機構必需能夠適應不同的車輛運動。其中特別包括俯仰、轉彎和側傾運動。當車輛駛過彎道時會出現轉彎運動。而當鉸接車輛例如鉸接大客車的兩個車輛部分繞縱軸相對轉動時,會出現側傾運動。當這種鉸接車輛駛過凹坑過突起時,兩個車輛部分進行俯仰運動。為了實現這種車輛運動,在轉盤和車輛之間設定有間隙。該間隙特別允許兩個車輛部分間的俯仰和側傾運動。在使用具有中央轉彎軸線的鉸接機構時該過渡平台的轉軸位於該轉彎軸線中。 已知設有兩個相互搭接的、平行於間隙伸展的唇形板條來跨接該間隙,其中一個唇形板條布置在過渡平台上而另一個唇形板條布置在相應的相鄰的車輛部分的地板上。該唇形板條在其端部被固定地夾緊。也就是說,在側傾和俯仰運動中必需通過該唇形板條的材料自身產生該唇形板條相應的變形。當前該唇形板條完全由彈性體製造,從而該唇形板條在一定範圍內能適應所述運動,該運動例如當這種鉸接車輛駛過突起或在側傾運動中出現。當然該唇形板條必需具有足夠的剛度,從而確保處於該唇形板條上的乘客感受到足夠的阻力。這特別適用於穿高跟鞋的女士。在這種情況下必需避免鞋跟踩破該唇形板條。如前所述,在此該密封唇部具有一定的剛度。當出現強烈的側傾和俯仰運動時會導致在過渡裝置在此特別是過渡平台和車輛地板上的鉸接區域的唇形板條破壞,從而需要更換該唇形板條。
實用新型內容
因此本實用新型的目的在於,在至少一個唇形板條的布置方面使該至少一個唇形板條一方面能夠屈從於相應的車輛運動並且足夠硬從而不被踏上該唇形板條的乘客踩壞。 為了實現該目的,對於上述過渡裝置提出:通過固定裝置使至少一個第一唇形板條以能繞水平軸擺動的方式與地板或過渡裝置連線。由此表明,當出現側傾和俯仰運動時不必僅由唇形板條的材料來承擔變形任務,而是通過唇形板條的擺動運動來承擔該任務,唇形板條自身只需在小範圍內變形,從而能用相對較硬的材料來生產該唇形板條。
特別提出:用於第一唇形板條的固定裝置包括圓頭板條,所述圓頭板條由頸板條保持,即圓頭板條通過頸板條與過渡裝置、在此特別是與過渡平台連線。所述第一唇形板條為抓住圓頭板條而與圓頭板條的橫截面形狀相一致地具有凹槽、特別是圓形凹槽。由此表明,凹槽與圓頭板條相結合地按照用於唇形板條的鉸鏈固定裝置的形式構成。特別是在此情況下提出,第一唇形板條在凹槽的開口區域中在兩側與頸板條間隔開,從而使唇形板條能繞該圓頭板條擺動。該間隔的大小決定了第一唇形板條繞該圓頭板條的自由擺動角度。有利地,固定裝置這樣布置在地板或過渡裝置的端側上:使第一唇形板條大致在過渡裝置或地板的表面的平面中延伸,從而消除了絆腳的棱。
為了確保在唇形板條和車輛地板或過渡裝置地板之間儘可能無間隙的過渡而提出:第一唇形板條由彈性體製成、例如TO的唇形板條,該第一唇形板條在其朝向地板或過渡裝置的端側外側上設計為弧形。與此對應地地板或過渡裝置同樣具有在端側設計成弧形的、在第一唇形板條的長度上延伸的凹口,其中,凹口以超過90°的角度包裹第一唇形板條。通過該凹口和唇形板條的弧形設計不僅避免了空隙形成,而且使該唇形板條的擺動更容易。通過凹口以90°包圍該唇形板條可避免該唇形板條意外地從圓頭板條脫落。為了在將唇形板條固定在圓頭板條上時防止側向滑脫而在過渡裝置或地板的端側設定有螺栓連同相應的墊片,它們基本上覆蓋住所述凹口。圓頭板條在端側接納該螺栓。一個特別有利的實施方式的特徵在於,還包括由彈性體製成的第二唇形板條,所述第二唇形板條與第一唇形板條相反地布置在地板或過渡裝置上。這種情況下一種相反的布置為:第一唇形板條固定在過渡裝置上,而第二唇形板條固定在地板上。第二唇形板條與第一唇形板條相搭接,也就是說,第二唇形板條支撐在第一唇形板條上。為了實現這種設定,第一唇形板條的橫截面比第二唇形板條的橫截面大,也就是說第一唇形板條設計地更穩定。該實施方式在如下情況下特別有利:第一唇形板條布置在過渡裝置上,第二唇形板條布置在車輛部分的地板上。
另外有利的是:在車輛部分的地板的端側區域中設有在第一唇形板條下方延伸的支撐板條。這種例如金屬製成的支撐板條用於支撐第一唇形板條。該支撐板條在此有利地布置在車輛部分的地板的端側上,其中該支撐板條彎向車輛鉸接機構的方向。這基於以下考慮,應當使密封唇在俯仰運動中不能到達支撐板條的下方。[0014] 應當指出:過渡裝置特別是具有轉盤和固定的平台元件的過渡平台。該固定的平台元件位於後車輛部分上,而轉盤被提供給前車輛部分。也就是說,間隙位於前車輛部分與過渡裝置之間。
附圖說明
以下根據附圖對本實用新型作舉例說明。
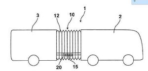
圖1是具有兩個車輛部分的鉸接車輛的示意圖。
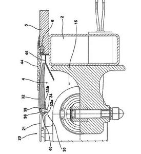
過渡部圖2是過渡平台的透視圖。
過渡部圖3是根據圖2中線III-III的剖視圖。
過渡部圖4是第一唇形板條在圓頭板條上的端側固定。
過渡部附圖示記列表: 1鉸接大客車;2前車輛部分;3後車輛部分;4間隙;5地板;6用於第二唇形板條的缺口;10過渡部;12 折棚;15車輛鉸接機構;20過渡平台;21 轉盤;22平台元件;30固定裝置;32第一唇形板條;33a、33b在頸板條區域的第一唇形板條腿部;34頸板條; 36圓頭板條;38 凹槽;40 凹口;44第二唇形板條;46支撐板條; 48 螺栓; 49 墊片。
具體實施方式
圖1中示意性地示出了具有前車輛部分2和後車輛部分3的鉸接大客車1。在兩個車輛部分2和3之間具有用10表示的過渡部。該過渡部10包括折棚12和被折棚12以隧道形包圍的過渡平台20。該過渡平台20位於示意性示出的車輛鉸接機構15的上方並支撐在車輛鉸接機構上。本實用新型涉及對過渡平台20和前車輛部分2的地板5之間的間隙4的覆蓋。在這方面參見示出了具有轉盤21和固定的平台元件22的過渡平台20的圖2。圖3示出了根據圖2中線III-III的剖視圖。用21表示的該過渡平台20的轉盤在其端側的、指向前車輛部分2的端部上具有用30表示的固定裝置。該固定裝置30接納第一唇形板條32。此外轉盤21在端側具有構成為鉤狀的頸板條34,該頸板條在其自由的上端部上帶有圓頭板條36。第一唇形板條在圓頭板條36的區域中具有一對應設計的、橫截面同樣為圓形的凹槽38。在該凹槽38的開口區域中、也就是在向頸板條過渡的過渡部中,該唇形板條在兩側與頸板條間隔開。也就是說,圓頭板條由唇形板條的凹槽包圍,但唇形板條的腿部33a、33b的端部與頸板條34間隔開,從而使該唇形板條可繞圓頭板條36擺動。腿部33a、33b到頸板條的側向距離在此是唇形板條繞圓頭板條的擺動角度的度量。 轉盤21在第一唇形板條32的區域中具有一凹口 40,該凹口在朝向第一唇形板條32的一側與該唇部板條一樣在該區域中構成為圓弧形。也就是說,第一唇形板條32在其指向凹口 40壁部的一側具有相應的圓弧形構造。特別在此設計為,該凹口 40以大於90°的角度包圍第一唇形板條32,從而使第一唇形板條32 —方面通過圓頭板條36另一方面通過凹口 40形狀鎖合地被抓住。為了將第一唇形板條34在凹口 40中固定在圓頭板條36上,在端側設有可旋入圓頭板條36端側中的螺栓48,該螺栓具有在此區域內覆蓋第一唇形板條32的墊片49。在這方面參見圖4,該圖從凹口 40中示出了第一唇形板條32的局部視圖。第二唇形板條44布置在前車輛部分2的地板5上。該第二唇形板條在此放置在地板5的缺口 6中,其中第二唇形板條可夾緊地保持在缺口 6中。在地板5的端側上具有用46表示的支撐板條,該支撐板條彎向鉸接機構15的方向。第一唇形板條32可支撐在該支撐板條46上。該第二唇形板條44靠在第一唇形板條32上。第一唇形板條32比第二唇形板條具有更大的橫截面。因此第一唇形板條在使用相同材料的情況下更穩定,從而可支撐第二唇形板條和站在上面的乘客的重量。

