優缺點
優點
超音波流量計是一種非接觸式儀表,它既可以測量大管徑的介質流量也可以用於不易接觸和觀察的介質的測量。它的測量準確度很高,幾乎不受被測介質的各種參數的干擾,尤其可以解決其它儀表不能的強腐蝕性、非導電性、放射性及易燃易爆介質的流量測量問題。
缺點
現今所存在的缺點主要是可測流體的溫度範圍受超音波換能鋁及換能器與管道之間的耦合材料耐溫程度的限制,以及高溫下被測流體傳聲速度的原始數據不全。目前我國只能用於測量200℃以下的流體。另外,超音波流量計的測量線路比一般流量計複雜。這是因為,一般工業計量中液體的流速常常是每秒幾米,而聲波在液體中的傳播速度約為1500m/s左右,被測流體流速(流量)變化帶給聲速的變化量最大也是10-3數量級.若要求測量流速的準確度為1%,則對聲速的測量準確度需為10-5~10-6數量級,因此必須有完善的測量線路才能實現,這也正是超音波流量計只有在積體電路技術迅速發展的前題下才能得到實際套用的原因。
超音波流量計由超音波換能器、電子線路及流量顯示和累積系統三部分組成。超音波發射換能器將電能轉換為超音波能量,並將其發射到被測流體中,接收器接收到的超音波信號,經電子線路放大並轉換為代表流量的電信號供給顯示和積算儀表進行顯示和積算。這樣就實現了流量的檢測和顯示。
超音波流量計常用壓電換能器。它利用壓電材料的壓電效應,採用適出的發射電路把電能加到發射換能器的壓電元件上,使其產生超音波振勸。超音波以某一角度射入流體中傳播,然後由接收換能器接收,並經壓電元件變為電能,以便檢測。發射換能器利用壓電元件的逆壓電效應,而接收換能器則是利用壓電效應。
超音波流量計換能器的壓電元件常做成圓形薄片,沿厚度振動。薄片直徑超過厚度的10倍,以保證振動的方向性。壓電元件材料多採用鋯鈦酸鉛。為固定壓電元件,使超音波以合適的角度射入到流體中,需把元件故人聲楔中,構成換能器整體(又稱探頭)。聲楔的材料不僅要求強度高、耐老化,而且要求超音波經聲楔後能量損失小即透射係數接近1。常用的聲楔材料是有機玻璃,因為它透明,可以觀察到聲楔中壓電元件的組裝情況。另外,某些橡膠、塑膠及膠木也可作聲楔材料。
特點功能
特點
◆獨特的信號數位化處理技術,使儀表測量信號更穩定、抗干擾能力強、計量更準確。
◆無機械傳動部件不容易損壞,免維護,壽命長。
◆電路更最佳化、集成度高、功耗低、可靠性高。
◆智慧型化標準信號輸出,人機界面友好、多種二次信號輸出,供您任意選擇。
◆管段式小管徑測量經濟又方便,測量精度高。
手持式超音波流量計F601/G601的技術參數如下:
測量原理:時差相關原理 流速: 0.01~25 m/s 解析度:0.025 cm/s 重複性:0.15% 讀數:視套用而定 流場充分發展且徑向對稱 體積流量: ± 1%讀數,視套用而定± 0.5%讀數, 經過標定流速: ± 0.5%讀數,視套用而定 可測介質: 所有導聲流體, 且氣泡或固體顆粒的體積含量<10% 主機外殼重量: ~ 1.9kg 防護等級: IP65 (根據EN60529) 材質:鋁合金 粉末塗層尺寸: (226 x 213 x 59)mm (WxHx D) 通道: 2 危險區: Zone 2 電源: 充電電池(6V/4Ah); 外接電源(100 ~ 240)VAC 電池工作時間: >14h 顯示: 2 x 16 字元,點陣, 帶背光工作 溫度: -10 ~ 60℃ 功耗: < 6W信號平均: (0 ~ 100)s, 可調測量速率: (100 ~ 1000)Hz (1通道)回響時間: 1s (1通道), 70ms可選.測量功能測量量: 體積/質量流量, 流速, 能量流量(需溫度輸入)累積量: 體積, 質量,能量(可選)計算功能: 平均值, 差值, 總和工作語言: 捷克語, 丹麥語, 德語, 英語, 法語, 荷蘭語, 挪威語,波蘭語, 西班牙語數據記錄可記錄的參數: 所有測量量及累積量容量: >100000條測量量通訊接口: RS232, RS485(可選)可通訊的參數: 實測值, 記錄值, 參數記錄軟體: FluxData(可選)
可做非接觸式測量
無流動阻撓測量,無壓力損失
可測量非導電性液體
量程比寬,用途廣泛
多種功能主機,攜帶方便
功能
下載測量值/記錄, 圖形顯示, 格式轉換作業系統: WindowsTM ;過程輸出(可選)輸出與主設備電隔離輸出組數視輸出類型而定. 更多信息請洽FLEXIM電流範圍: (0/4-20) mA精度: 0.1%讀數± 15μA有源輸出: Rext < 500?無源輸出: Uext < 24V, Rext < 1k?電壓範圍: (0~1) V或(0~10) V精度: 0~1V: 0.1%讀數± 1mV0~10V: 0.1%讀數± 10mV儀表阻抗: Ri = 500?頻率範圍: 0~1kHz或0~10kHz集電極開路: 24 V/4mA開關量集電極開路: 24 V/4mA乾簧繼電器: 48 V/0.1A功能,如狀態輸出: 上下限, 符號變化或出錯脈衝輸出: 值: (0.01~1000)units寬度: (80~1000)ms過程輸入(可選)輸入與主設備電隔離, 最多4組輸入.溫度類型: Pt100, 四線制範圍: -50℃~400℃解析度: 0.1 K精度: ± (0.02K + 0.1%讀數)電流範圍: 有源: (0~20)mA無源: (-20~20)mA精度: 0.1%讀數± 10 A有源輸入: Ri = 50?無源輸入: Uext < 24V, Rext < 1k?電壓範圍: (0~1) V或(0~10) V精度: 0~1V: 0.1%讀數± 1mV0~10V: 0.1%讀數± 10mV儀表阻抗: Ri= 1M夾裝式探頭
適用口徑: DN6-DN6500適用溫度: -30 to 400℃ (適用防爆區)詳見下圖. 更多資料, 請參閱相關手冊.測厚探頭(可選)測量範圍: (1.0 - 200) mm解析度: 0.01 mm線性度: 0.1 mm標準型: -20℃ to +60℃高溫型: 0℃ to +200℃短時間可達+540℃套用領域
套用
概況
傳播時間法套用於清潔、單相液體和氣體。典型套用有工廠排放液、:怪液、液化天然氣等;
氣體套用方面在高壓天然氣領域已有使用良好的經驗;
環境
都卜勒法適用於異相含量不太高的雙相流體,例如:未處理污水、工廠排放液、髒流程液;通常不適用於非常清潔的液體。
注意事項
超音波流量計正確選型才能保證超音波流量計更好的使用。選用什麼種類的超音波流量計應根據被測流體介質的物理性質和化學性質來決定,使超音波流量計的通徑、流量範圍、襯裡材料、電極材料和輸出電流等都能適應被測流體的性質和流量測量的要求。
1、精密功能檢查
精度等級和功能根據測量要求和使用場合選擇儀表精 度等級,做到經濟合算。比如用於貿易結算、產品交接和能源計量的場合,應該選擇精度等級高些,如1.0級、0.5級,或者更高等級; 用於過程控制的場合,根據控制要求選擇不 同精度等級;有些僅僅是檢測一下過程流量,無需做精確控制和計量的場合,可以選擇精度等級稍低的,如1.5級、2.5級,甚至 4.0級,這時可以選用價格低廉的插入式超音波流量計。
2、可測量的介質
測量介質流速、儀表量程與口徑 測量一般的介質時,超音波流量計的滿度 流量可以在測量介質流速0.5—12m/s範圍內 選用,範圍比較寬。選擇儀表規格(口徑)不一 定與工藝管道相同,應視測量流量範圍是否 在流速範圍內確定,即當管道流速偏低,不能滿足流量儀表要求時或者在此流速下測量準 確度不能保證時,需要縮小儀表口徑,從而提 高管內流速,得到滿意測量結果。
套用領域
| 序號 | 主要套用領域 | 檢測項目 | 套用儀表 |
| 1 | 環保 | 市政污水測量 | 都卜勒超音波流量計 非滿管超音波流量計 |
| 工廠污水排放監測 | 都卜勒超音波流量計 非滿管超音波流量計 | ||
| 2 | 油田 | 原油生產流量測量 | 都卜勒超音波流量計 |
| 固井泥漿流量測量 | 都卜勒超音波流量計 | ||
| 油田含油污水流量測量 | 都卜勒超音波流量計 非滿管超音波流量計 | ||
| 油井注水量流量測量 | 時差式超音波流量計 | ||
| 3 | 水務公司 | 江、河、水庫原水測量 | 時差式超音波流量計 |
| 自來水流量測量 | 時差式超音波流量計 | ||
| 4 | 石油化工 | 石化產品工藝流檢測 | 時差式超音波流量計 |
| 工業循環水流量測量 | 時差式超音波流量計 都卜勒超音波流量計 | ||
| 5 | 冶金 | 工業循環水流量測量 | 時差式超音波流量計 都卜勒超音波流量計 |
| 生產過程耗水量測量 | 時差式超音波流量計 | ||
| 選礦礦漿流量測量 | 都卜勒超音波流量計 | ||
| 6 | 礦山 | 礦井排水流量測量 | 都卜勒超音波流量計 |
| 選礦礦漿流量測量 | 都卜勒超音波流量計 | ||
| 7 | 鋁廠 | 生產過程耗水量測量 | 時差式超音波流量計 |
| 鋁酸鈉 等工藝流流量測控 | 都卜勒超音波流量計 | ||
| 8 | 造紙 | 紙漿流量測量 | 都卜勒超音波流量計 |
| 生產過程耗水量測量 | 時差式超音波流量計 | ||
| 9 | 製藥廠 | 化學藥品流量測量 | 時差式超音波流量計 都卜勒超音波流量計 |
| 生產過程耗水量測量 | 時差式超音波流量計 | ||
| 10 | 發電廠、熱電廠 | 生產過程耗水量測量 | 時差式超音波流量計 |
| 冷卻循環水流量測量 | 時差式超音波流量計 | ||
| 發電機組線圈冷卻水流量測量 | 時差式超音波流量計 (超小管徑) | ||
| 11 | 食品 | 果汁流量測量 | 都卜勒超音波流量計 |
| 奶液流量測量 | 都卜勒超音波流量計 |
參數介紹
管段式感測器參數
| 性 能 | 參 數 | |||
| 測量液體 | 充滿被測管道的水、污水及其它均質液體,懸浮物含量小於10g/L,粒徑小於1mm。 | |||
| 準確度 | ±1.0% | |||
| 流速範圍 | ±0.01m/s~±12.0m/s | |||
| 管徑範圍 | DN300mm~DN2000mm | |||
| 感測器材質 | 鋼或不鏽鋼 | |||
| 感測器承壓能力 | 管徑300~600mm,壓力不超過2MPa;管徑700~2000mm,壓力不超過1MPa | |||
| 轉換器 | 環境溫度:-10℃~+45℃;濕度≤85%(RH) (特殊環境訂貨時說明) | |||
| 壁掛式 | 盤裝式 | 一體式 | ||
| 防護等級 | IP65 | IP51 | IP65 | |
| 感測器 | 防護等級:IP68 | 常溫型 | 高溫型 | 低溫型 |
| 工作溫度 | 0~50℃ | 0~150℃ | -20~0℃ | |
| 電 纜 | 採用雙芯帶禁止高頻電纜,工作溫度-40~+70℃ | |||
| 信號輸出 | 模擬量:4~20mA或0~20mA或0~10mA軟體可選;負載能力小於600Ω | |||
| 開關量:累計流量脈衝輸出,閉合3ms,周期6ms,傳輸距離小於500m | ||||
| 串列口:RS-485,傳輸速率4800bit/s,傳輸距離小於1200m | ||||
| 鍵 盤 | 1×3按鍵 | |||
| 顯示器 | 2×16位背光液晶字元顯示器 | |||
| 顯示內容 | 同屏顯示瞬時流量:-99999.99~+99999.99m3/h 累計流量: -19999999.99~+19999999.99m3,鍵控顯示累計運行時間 | |||
| 數據存儲 | 累計流量、累計運行時間及各項設定參數,掉電後數據可保存100年 | |||
| 工作電源 | AC 220V ±15%,50Hz 功率<10W (DC 5~36V、1A,定貨時提出) | |||
| 電纜長度 | 感測器到轉換器的布線距離,10m、20m、30m……300m可選 |
測量原理
設靜止流體中的聲速為c,流體流動的速度為u,傳播距離為L,當聲波與流體流動方向一致時(即順流方向),其傳播速度為c+u;反之,傳播速度為c-u.在相距為L的兩處分別放置兩組超音波發生器和接收器(T1,R1)和(T2,R2)。當T1順方向,T2逆方向發射超音波時,超音波分別到達接收器R1和R2所需要的時間為t1和t2,則t1=L/(c+u) t2=L/(c-u)。由於在工業管道中,流體的流速比聲速小的多,即c>>u,因此兩者的時間差為 ▽t=t2-t1=2Lu/cc由此可知,當聲波在流體中的傳播速度c已知時,只要測出時間差▽t即可求出流速u,進而可求出流量Q。利用這個原理進行流量測量的方法稱為時差法。此外還可用相差法、頻差法等。通常採用兩種類型的超音波流量計,一種為都卜勒超音波流量計,另一類為時差式超音波流量計。都卜勒型是利用相位差法測量流速,即某一已知頻率的聲波在流體中運動,由於液體本身有一運動速度,導致超音波在兩接收器(或發射器)之間的頻率或相位發生相對變化,通過測量這一相對變化就可獲得液體速度;時差型是利用時間差法測量流速,即某一速度的聲波由於流體流動而使得其在兩接收器(或發射器)之間傳播時間發生變化,通過測量這一相對變化就可獲得流體流速。採用了時差式超音波流量計。
超音波流量計超音波在流動的流體中傳播時就載上流體流速的信息。因此通過接收到的超音波就可以檢測出流體的流速,從而換算成流量。根據檢測的方式,可分為傳播速度差法、都卜勒法、波束偏移法、噪聲法及相關法等不同類型的超音波流量計。起聲波流量計是近十幾年來隨著積體電路技術迅速發展才開始套用的一種。
超聲檢測(UT)是工業上無損檢測的方法之一。超音波進入物體遇到缺陷時,一部分聲波會產生反射,發射和接收器可對反射波進行分析,就能異常精確地測出缺陷來.並且能顯示內部缺陷的位置和大小,測定材料厚度等.
相差法
如果超音波發射器發射連續超聲脈衝或周期較長的脈衝列,則在順流和逆流發射時所接收到的信號之間便要產生相位差▽O,即▽O=w▽t=2wLu/cc式中,w為超音波角頻率。當測得▽O時即可求出u,進而求得流量Q。此法用測量相位差▽O代替了測量微小的時差▽t,有利於提高測量精度。但存在者聲速c對測量結果的影響。
頻差法
為了消除聲速c的影響,常採用頻差法。由前可知,上、下游接收器接受到的超音波的頻率之差為▽f可用下式表示▽f=[(c+u)/L]-[(c-u)/L]=2u/L
由此可知,只要測得▽f就可求得流量Q,並且此法與聲速無關。超音波技術及其套用一、沒測量水位概況水電站多採用浮子式液位計或投入式液位計來進行水位測量。其缺點為:測量精度低,不可靠,經常出現浮子卡死不動和感測器堵塞導致測不準;維護工作量大,安裝、調試不便,採集到的僅是模擬告警信號,不能直接進入電廠計算機監控系統。對無人值班電廠不實用。
我們對攔污柵水位測量系統進行了反覆對比,最佳化得出最後的方案設計,採用超音波液位計對柵前、柵後水位進行實時準確監測,超音波液位計用PLC對採集量進行處理。並且把實時水位和壓差數據送到中控室,超音波液位計顯示和越限報警。超音波液位計同時採用RS422/RS232接口,又把實時數據送到大壩集中控制室工控機,處理成計算機通信報文,最終將採集量送到電廠計算機監控系統上位機。
該項目實施後不僅滿足欄污柵柵前、柵後水位及壓差的多點實時監測,及報警功能,而且結束了攔污柵測量系統獨立工作,無法與電廠計算機監控系統通訊的局面。實現與閘門系統的監視功能、控制功能以及故障時ON-CALL尋呼系統功能的集成。滿足了無人值班電站的需要。該技術在雲南省電力系統還是第一家。
超音波液位計工作時,高頻脈衝聲波由換能器(探頭)發出,遇被測物體(水面)表面被反射,折回的反射回波被同一換能器(探頭)接收,轉換成電信號。脈衝傳送和接收之間的時間(聲波的運動時間)與換能器到物體表面的距離成正比,聲波傳輸的距離S與聲速C和傳輸時間T之間的關係可以用公式表示:S=CⅩT/2
例如:聲速C=344m/s,傳輸時間為50ms,即可算出傳輸的距離為17.2m,測定距離為8.6m。
三.可程式超音波式攔污柵水位測量系統在田壩電站套用產生的效果
用超音波液位計測量大壩水位在當今國內尚不普遍,技術上尚無經驗可以借鑑。在這樣的情況下,我們充分利用PLC與超音波液位計 這一領域的先進技術,按照總體規劃,長遠考慮,一次到位,避免重複改造,重複投資的這一原則,對該項目進行自行設計,全面順利地完成了這一課題。在該領域取得了較有價值的經驗。為目前我國國內水電站實現對大壩水位監測系統提供了一個可以借鑑的範例。
分類
超音波流量計大致可分傳播速度差法(包括:直接時差法、時差法、相位差法、頻差法)波束偏移法、都卜勒法、相關法、空間濾波法及噪聲法等類型,其中以噪聲法原理及結構最簡單,便於測量和攜帶,價格便宜但準確度較低,適於在流量測量準確度要求不高的場合使用。由於直接時差法、時差法、頻差法和相位差法的基本原理都是通過測量超音波脈衝順流和逆流傳報時速度之差來反映流體的流速的,故又統稱為傳播速度差法。其中頻差法和時差法克服了聲速隨流體溫度變化帶來的誤差,準確度較高,所以被廣泛採用。時差法超音波流量計是在不連續缺陷的尖端產生波型的轉換,當它轉換後產生衍射波,這個衍射波復蓋了較大的角度範圍,那么衍射波就會檢測出所存在的缺陷,記錄信號的飛越時間就可以測量出缺陷的高度,那么就可以對缺陷進行定量,缺陷尺寸通常是被定義為衍射信號的飛越時間差,信號波幅與缺陷定量沒有關係。按照換能器的配置方法不同,傳播速度差撥又分為:Z法(透過法)、V法(反射法)、X法(交叉法)等。波束偏移法是利用超音波束在流體中的傳播方向隨流體流速變化而產生偏移來反映流體流速的,低流速時,靈敏度很低適用性不大.都卜勒法是利用聲學都卜勒原理,通過測量不均勻流體中散射體散射的超音波都卜勒頻移來確定流體流量的,適用於含懸浮顆粒、氣泡等流體流量測量。相關法是利用相關技術測量流量,原理上,此法的測量準確度與流體中的聲速無關,因而與流體溫度,濃度等無關,因而測量準確度高,適用範圍廣。但相關器價格貴,線路比較複雜。在微處理機普及套用後,這個缺點可以克服。噪聲法(聽音法)是利用管道內流體流動時產生的噪聲與流體的流速有關的原理,通過檢測噪聲表示流速或流量值。其方法簡單,設備價格便宜,但準確度低。
安裝介紹
時差式超音波流量計是當今世界上具競爭力的流量測量手段,其測量線精度高於1.0%。由於工業現場特別是管路周圍環境的多樣性,因此,怎樣根據特定的環境安裝調試超音波流量計,就成了超音波流量測量領域的一個重要課題,本規程詳解了超音波流量計的安裝細節,從而進一步完整體現了超音波流量計的精度、可靠性和穩定性的優勢,大大降低日後的維護工作甚至免維護。
安裝細解
超音波流量計在安裝之前應了解現場情況,包括:
1.安裝感測器處距主機距離為多少;
2.管道材質、管壁厚度及管徑;
3.管道年限;
4.流體類型、是否含有雜質、氣泡以及是否滿管;
5.流體溫度;
6.安裝現場是否有干擾源(如變頻、強磁場等);
7.主機安放處四季溫度;
8.使用的電源電壓是否穩定;
9.是否需要遠傳信號及種類;
根據以上提供的現場情況,廠家可針對現場情況進行配置,必要情況下也可特製機型。
安裝位置
選擇安裝管段對測試精度影響很大,所選管段應避開干擾和渦流這兩種對測量精度影響較大的情況,一般選擇管段應滿足下列條件:
1、避免在水泵、大功率電台、變頻,即有強磁場和震動干擾處安裝機器;
2、選擇管材應均勻緻密,易於超音波傳輸的管段;
3、要有足夠長的直管段,安裝點上游直管段必須要大於10D(註:D=直徑),下游要大於5D;
4、安裝點上游距水泵應有30D距離;
5、流體應充滿管道;
6、管道周圍要有足夠的空間便於現場人員操作,地下管道需做測試井,測試井如下:
安裝方式
超音波流量計一般有兩種探頭安裝方式,即Z法和V法。
但是,當D < 200mm而現場情況為下列條件之一者,也可採用Z法安裝:
1、當被測量流體濁度高,用V法測量收不到信號或信號很弱時;
2、當管道內壁有襯裡時;
3、當管道使用年限太長且內壁結垢嚴重時;
對於管道條件較好者,即使D稍大於200mm,為了提高測量精度,也可採用V法安裝。
探頭位置
1、將管道參數輸入儀表,選擇探頭安裝方式,得出安裝距離;
2、在水平管道上,一般應選擇管道的中部,避開頂部和底部(頂部可能含有氣泡、底部可能有沉澱);
3、V法安裝:先確定一個點,按安裝距離在水平位置量出另一個點。
Z法安裝:先確定一個點,按安裝距離在水平位置量出另一個點,然後測出此點在管道另一側的對稱點。
管道處理
確定探頭位置之後,在兩安裝點±100mm範圍內,使用角磨砂輪機、銼、砂紙等工具將管道打磨至光亮平滑無蝕坑。
要求:光澤均勻,無起伏不平,手感光滑圓潤。需要特別注意,打磨點要求與原管道有同樣的弧度,切忌將安裝點打磨成平面,用酒精或汽油等將此範圍擦淨,以利於探頭粘接。
接線
探頭與儀表接線
探頭(感測器)
探頭根據實際測量管道可分三種:
S型感測器(15~100mm)
M型感測器(50~700mm)
L型感測器(300~6000mm)
微調探頭
接完線後把探頭內部用矽膠注滿,放置半小時,然後用矽膠和卡具把探頭固定到打磨好的管道上(注意探頭方向,引線端向外),然後觀察儀表的信號強度、良度與傳輸時間比,如發現不好,則細微調整探頭位置,直到儀表的信號達到規定的範圍之內:
(信號強度:一般應大於6.5,少數可根據現場具體情況另定。)
(信號良度:低峰值一般為7~14,高峰值一般為25~80。)
(傳輸時間比:在100±4範圍之內,此值必須穩定。)
固定探頭
儀表信號調整好以後,用所配卡具將探頭固定好,注意不要使鋼絲繩傾斜,以免拉動探頭,使探頭移位,再用矽膠將探頭與管道接觸的四周封住。此膠凝固大約需一天時間,在未乾之前必須注意探頭防水。(信號線的外禁止線必須可靠接地)。
超音波流量計主要技術指標:
| 插入式超音波流量計 | 管段式超音波流量計 | 外加式超音波流量計 | |||||
| 管徑範圍(mm) | DN80-4000 | DN20-2000 | DN20-4000 | ||||
| 流速範圍(m/s) | | ||||||
| 準確度(%) | 單聲道 | 雙聲道 | 三聲道 | 單聲道 | 雙聲道 | 三聲道 | |
| | | | | | | ||
| 測量介質 | 飲用水、河水、海水、地下水、冷卻水、高溫水、污水、潤滑油、 柴油 、燃油、化工液體、其他均質流體 | ||||||
| 管道材質 | 金屬(如 碳鋼 、 鑄鐵 、不鏽鋼、鋁等)非金屬材質(如PVC, 有機玻璃 等) | ||||||
| 管襯材質 | 玻璃鋼、沙漿、橡膠等 | ||||||
| 信號輸出 | 1、4-20mA:阻抗小於800Ω,光電隔離,準確度0.1%。 2、累計脈衝輸出:光電隔離,無源開路輸出,傳輸距離小於500m。 3、RS-485:光電隔離,波特率可選擇,傳輸距離大於1.6Km. 4、印表機:RS-232串口模式。印表機為選配件。 5、M-BUS. | ||||||
| 鍵 盤 | 2×8漢字鍵盤 | ||||||
| 顯示器 | 2×10漢字顯示或英文顯示 | ||||||
| 測量功能 | 顯示瞬時流量、瞬時流速、正累計流量、負累計流量、淨累計流量、累計運行時間、瞬時供熱量、累計共熱量、斷電時間等。 | ||||||
| 數據存貯 | 可存貯前720小時,前365天,前36個月和前十年的測量數據,包括瞬時流量、累計流量、斷電時間等。 | ||||||
| 環境溫度 | 轉換器:-10~45℃(特殊環境請說明) 感測器:-40~+60℃(常溫型) -40~+160℃(高溫型) | ||||||
| 感測器材質 | 不鏽鋼和陶瓷 | 不鏽鋼和普通碳鋼 | 常溫型為 尼龍 高溫型為 合金鋁 | ||||
| 感測器承壓能力 | 管內部分壓力小於4.5MPa | DN20~700mm小於2.5MPa DN800~2000mm小於1.6MPa | 與管道內壓力無關建議不浸水工作 | ||||
| 感測器防護等級 | IP68 | ||||||
| 轉換器防護等級 | 壁掛式轉換器:IP65 盤裝式轉換器:IP52 一體式轉換器:IP67 | ||||||
| 防爆等級 | EXdⅡBT6 | ||||||
| 感測器電纜長度 | < 500m | < 500m | < 300m | ||||
| 感測器電纜型號 | 專用電纜SEYV-75-2(直徑7mm),越短越好,減少干擾,也可以加長到300m若長要加粗電纜 | ||||||
| 工作電源 | AC220V, DC12~36V 0.8A (可選) | ||||||
| 轉換器外形尺寸 | 壁掛式:213×185×107mm 盤裝式:160×80×250mm 一體式:185×140×100mm | ||||||
| 感測器外形尺寸 | 220×ø20(桿部)×ø50(連線部)mm | 見管段感測器數據表 | 60×40×35mm | ||||
| 轉換器重量 | 壁掛式:1.2Kg 盤裝式:0.8Kg 一體式:1.4Kg | ||||||
| 感測器重量 | | 見管段感測器數據表 | | ||||
| 熱量測量功能 | 測量供熱量、熱損耗、入口溫度、出口溫度 |
安裝超音波流量計可按照以下步驟操作:
一:觀察安裝現場管道是否滿足直管段前10D後5D以及離泵30D的距離。(D為管道內直徑)
二:確認管道內流體介質以及是否滿管。
三:確認管道材質以及壁厚(充分考慮到管道內壁結垢厚度)
四:確認管道使用年限,在使用10左右的管道,即使是碳鋼材質,最好也採用插入式安裝。
五:前四步驟完成後可確認使用何種感測器安裝
六:開始向表體輸入參數以確定安裝距離。
七:非常重要:精確測量出安裝距離。
八:安裝感測器——調試信號——做防水——歸整好信號電纜——清理現場線頭等廢棄物 ——安裝結束——驗收簽字
圖紙分解
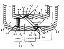
超音波流量計原理圖包括:測量流動通道6,被測量的流體通過其中流動;超音波換能器8和9,分別設定在沿測量流動通道6彼此相對的上游端和下游端;上游孔眼11和下游孔眼12,用於使超音波換能器8和9暴露於該測量流動通道6;第一流體抑制器15,至少鄰近下游孔眼12,用於減少被測量的流體流入孔眼12;第二流體抑制器16,被設定在測量流動通道6的上游端並相對於孔眼11和12,用於減少被測量的流體流入孔眼11和12;測量控制部件19,用於測量超音波換能器8和9之間的超音波的傳播時間;及計算部件20,用於根據該測量控制部件19的信號計算流量。為下游孔眼12設定的第一流體抑制器15包括具有至少一個超音波傳輸孔22的孔眼密封部件21。因此,有可能穩定超音波換能器之間的流體,以便增強超音波的接收水平,從而提高測量精度和對流量測量的上限值,並減少對於超音波換能器的驅動輸入。
技術優勢
德國FLEXIM超音波流量計採用了專利的Wave Injector技術,通過在管道與探頭之間架設金屬導波板,將介質450℃的高溫,降低到200℃以下,實現測量的可能,在石油化工行業、核電行業、導熱油領域有著獨特的套用,並且採用了能量計算功能,可以在測量流量的同時,引入溫度信號,從而獲取能量參數。
管段式感測器外型尺寸
| 內徑(mm) DN | 安裝長度(mm) L | 法蘭尺寸(mm) | 重 量 (Kg) | 額定壓力 (MPa) | ||
| D | Do | N×,A | ||||
| 300 | 412 | 485 | 0 | 12×,26 | 1 | 6 |
| 350 | 447 | 535 | 0 | 12×,30 | 9 | |
| 400 | 481 | 600 | 0 | 16×,30 | 102 | |
| 450 | 516 | 635 | 0 | 16×,33 | 114 | |
| 500 | 552 | 700 | 0 | 20×,33 | 148 | |
| 600 | 621 | 815 | 5 | 20×,36 | 212 | |
| 700 | 692 | 915 | 850 | 24×,36 | 336 | 0 |
| 800 | 759 | 1046 | 970 | 24×,40 | 500 | |
| 1000 | 894 | 1288 | 1200 | 28×,44 | 821 | |
| 1200 | 1030 | 1522 | 1434 | 32×,44 | 1303 | |
| 1400 | 1164 | 1778 | 1670 | 32×,48 | 1914 | |
| 1600 | 1298 | 1982 | 1874 | 36×,48 | 2442 | |
| 1800 | 1432 | 2236 | 2114 | 36×,52 | 3411 | |
| 2000 | 1566 | 2446 | 2324 | 40×,52 | 4262 |
ZR系列超音波流量計採用的是時差法測量原理。它的高可靠性是積8年的製造經驗加上博採眾長,通過不斷完善提高得到的;是由於採用了最新的諸如Philips、Tl、美國國家半導體公司的新型高性能集成元器件加上先進的SMD貼裝器件生產線大規模生產實現的。 40皮秒(40×10E-12秒)的時間解析度,0.5%的線性度。 低電壓多脈衝原理,保證可靠運行。 兩路0.1%精度的模擬輸入,接入溫度感測器電流信號 ,即變成熱量計! 實現中文顯示,軟體開放式設計,所有參數用戶皆可設定;硬體元件參數無關化設計,無需調整即能確保每一台流量計具有完全相同的性能。 主機機型有:攜帶型、壁掛式、標準盤裝式、手持式、一體式。 感測器具有:方便安裝的外縛式、可靠工作的插入式、高可靠高精度的標準管段式、超高精度的標準型π管段式。
超音波流量計的主要特點是:流體中不插入任何元件,對流速無影響,也沒有壓力損失;能用於任何液體,特別是具有高黏度、強腐蝕,非導電性等性能的液體的流量測量,也能測量氣體的流量;對於大口徑管道的流量測量,不會因管徑大而增加投資;量程比較寬,可達5:1;輸出與流量之間呈線性等優點。缺點:當被測液體中含有氣泡或有雜音時,將會影響測量精度,故要求變送器前後分別有10D和5D的直管段;此外,結構複雜,成本較高。
超音波流量計轉換器拆裝及調整介紹
⑴拆卸信號拾取連線器+流量轉換器組合體
①關閉電源。
②用扳手逆時針鏇轉鬆開信號拾取連線器上的M16鎖母。
③用手抓緊 表殼,逆時針鏇轉,拆下組合體,注意在鏇轉過程中應保持信號拾取連線器與流量轉換器之間的螺紋連線緊固性。
⑵拆裝信號拾取連線器與流量轉換器
①確保電源已關閉並處在安全的區域。
②拆卸時,逆時針擰開前表蓋,“拆卸電路板”介紹的步驟拆下電路板組件。拔下插在電路板上的信號線插頭,用扳手逆時針鏇轉信號拾取連線器,將其與流量轉換器分離。
③組裝時,順時針將信號拾取連線器擰在流量轉換器的對應螺紋處,注意應正對螺紋,擰上後適當用力,用肉眼觀察無明顯細縫,密封性完好。逆時針擰開前表蓋,按照中“拆卸電路板”介紹的步驟拆下電路板組件。將信號拾取器引出的插頭插在電路板對應的插座上。再按照“裝配電路板”介紹的步驟,將電路板固定在流量轉換器的表殼上。順時針擰上前表蓋。
超音波流量計安裝要求介紹
高溫型(80度至500度)、常溫型(-20度至70度)、低溫型(-20至-200度)流量計的安裝:
a、常溫型、低溫型、高溫型流量計視不同工況採用水平、垂直或倒置式安裝(以出廠校驗單為準);b、介質工作溫度在300度以上時,用戶應對流量計殼體採取隔熱措施防止熱輻射損壞表頭(表頭工作溫度為-30至70度),同理工作溫度-100度以下的介質,也要採取防凍措施;c、為保證流量計準確計量,要求設定前後直管段;)d、為保證流量計在檢查及更換時不影響系統工作,應儘量設定旁通閥(3)及切斷閥(1、2);e、因工藝需要可採用垂直安裝,被測介質流向可由下至上,也可由上至下,但訂購時應向供貨方說明;f、流量計口徑與相連的管道口徑尺寸儘量相同,以減少流動干擾,造成計量誤差;g、法蘭式和夾裝式流量計安裝時,應注意法蘭之間密封墊片內孔尺寸大於流量計和工藝管道通徑6-8mm及否同軸,以避免因其產生干擾流而影響計量精確度;h、插入式流量計安裝時,將短管及法蘭焊到管道上時必須確保流體正對著靶片受力面,焊接短管高度在100mm(從管道內壁至法蘭密封面的距離);i、對於新完工的工藝管道,應先進行初步吹掃後再安裝流量計;j、測量管外壁上箭頭所指方向為被測介質流向;k、 殼體必須可靠接地,若無接地條件應向廠方說明;l、流量計連線法蘭規格執行GB/T系列標準,也可以根據用戶要求特殊加工(以出廠校驗單為準)。分別為前後閥和旁通閥;4為流量計,L≥10D和L≥5D分別為前後直管段長度,D為管道公稱直徑。
2、流量計設定零點(流量計安裝後必須先置零操作)由於電容式力感測器及阻流件有自重,在流量計安裝時不在水平方位狀況下,需要重新設定流量計零點。操作程式為:(也可在管道內無介質流動時直接置零,高溫型及低溫型流量計必須使管道內溫度達到工作溫度後置零)a、關閉流量計下游的閥門;b、緩慢打開流量計上游閥門,使流量計充滿介質;c、緩慢打開流量計下游閥門,使流量計運行10分鐘左右;d、關閉流量計上、下游閥門,並確定管道內流量為零;e、置零按鍵操作(必須用無任何磁性的工具操作置零鍵,否則置零鍵可能無法操。
常見問題分析
(1)管道上已打磨光滑,但安裝測量時信號始終為(0~2)%之間,無法測量。可能原因包括:1)管道內壁結垢較多,超音波衰減較嚴重,無法測量;2)管道有內襯,內襯與管道之間有間隙,導致聲波不能穿透,無法測量;3)耦合計乾涸,失去作用;4)介質含雜、氣泡增多或介質糊住探頭;5)探頭位置發生變化;6)探頭老化;7)探頭電纜接觸不良。(2)超音波流量計產生流量讀數不穩定。可能原因包括:1)測量點直管短,不符合測量要求;2)介質含有氣體或雜質且不穩定;3)儀表故障。
(3)超音波流量計信號很弱,波形差,讀數不穩定。可能原因包括:1)安裝探頭位置不正確;2)參數設定出錯;3)管道使用多年使內壁結垢太厚;(4)有氣泡或渦流;5)管徑大於等於1200mm可考慮換裝插入式換能器。
超音波流量計運輸及貯存介紹
為防止儀表受到意外損壞,流量計在運到用戶使用地點之時,請保持我公司發貨時的包裝狀態。
儀器到達之後應及時安裝,以免因意外因素使流量轉換器的絕緣性能減低,金屬部件受到腐蝕。如需要長期存放,請遵守下列事項:
存放時,儘量勿拆包裝。
存放地點應具備下列條件:
具有防雨防水設施
不易受到機械振動或衝擊
儀器應存放在下表所列的溫度和濕度範圍里。理想的溫度和濕度是25℃,65%
環境溫度 -20℃~+60℃
相對濕度 5%~90%
安裝場所注意事項
環境溫度
避免安裝在溫度變化較大的場所,若可能受到其他設備熱輻射,須有隔熱通風措施。
大氣條件
避免把 安裝在含腐蝕性氣體的環境中,如需安裝,則必須提供通風措施。
機械振動或衝擊
流量計雖結構很堅固,但應選擇安裝在振動或撞擊小的場所。如確須將流量計裝在振動較大的管道上,需加設管道支撐。
其他注意事項
安裝場所應便於接線和安裝管道。

