簡介
太陽能熱水器熱交換器使用從太陽吸收的能量加熱水,他們是一個非常有效的方式來加熱水,因為它們不使用不可再生資源,而陽光不費分文,太陽能熱水器熱交換器分為主動和被動式兩種類型。
圖1 被動式太陽能熱水器工作原理主動式與被動式 優缺點
被動式太陽能熱水器的熱交換器一般不是很高效,但它們的價格比主動式熱水器的交換器積極。被動式太陽能熱水器實際上並不需要熱交換器,這是一部份的原因,他們是效率較低。他們的工作,然後利用來自太陽的能量,迫使熱水上升,進入一個坦克的底部抽冷水,從收集罐的頂部區域,然後熱水抽進了屋子。
主動式太陽能熱水器依靠水泵實現循環,最常見的主動式系統是採用間接循環,熱介質將集熱器收集的太陽能轉移到水罐中,主動式系統的優點是出熱水穩定,抗凍耐候性能好,不利之處是系統較複雜,成本相對高。
被動式循環依靠重力運行,無需循環水泵,由於沒有電子控制設備,被動式太陽能熱水器更加可靠,成本也相對低廉。被動式系統的缺陷是反應遲緩,此外,水箱還必須安裝在集熱器上方。
一般來說,城市地區多採用主動式間接循環太陽能熱水器,而偏遠地區,如果供電不夠穩定,或缺乏售後服務,則可優先考慮穩定可靠、運行費用低的被動式系統。
主動式與被動式系統比較
主動式太陽能熱水系統有兩個類型:
(1) 直接流通系統。
循環泵直接通過太陽能集熱器加熱然後進入家庭用水系統。這種一般適用於氣溫比較高,冬季不結凍的氣候的地方。
(2)間接環流系統。
這種是防凍循環系統,系統中走的是冷媒(是一種一般地方的溫度下不會凍結的液體),通過傳熱流體(即冷媒)與集熱器交換熱量,然後再通過熱傳換器把熱量傳遞給家庭用水系統。這種很適合在嚴寒的氣候下使用。
被動式太陽能熱水系統通常造價小於主動式太陽能熱水器系統,但它們的效率通常是不如主動式來得高。然而,被動的系統更不容易出問題,並且更耐用,被動系統有兩個基本類型:
(1)被動存儲系統。
這種系統很適合那些溫度從不低於零度的地方。另外,這種系統也很適合白天和晚上的熱水需求差別比較明顯的家庭。
(2)虹吸系統。
這種系統是利用當水被加熱變成熱水後比量變輕,自行上升,而冷水自行下沉,這種系統中太陽能集熱器必須安裝在水箱的下面,以便使溫(熱)水上升到水箱裡面。這種系統也是可靠的,但承建商必須特別注意屋頂的承重,因為要很大的水箱。這種虹吸系統比被動式存儲系統造價要高一些。
基本原理和系統結構
太陽能熱水系統由於其使用的經濟性已進入商業性利用,因此在這一領域中進行了較多的研究開發工作。一種顯著的傾向是著力於簡化其結構、降低製作成本、使其安裝簡便及活動部件不易產生故障。被動式循環依靠重力運行,無需循環水泵,由於沒有電子控制設備,被動式太陽能熱水器更加可靠,成本也相對低廉。被動式系統的缺陷是反應遲緩,此外,水箱還必須安裝在集熱器上方。
最為人熟悉的非機械式太陽能熱水系統,此種系統的原理是利用人們熟知的虹吸效應將太陽能集熱器引入安裝在集熱器上方的隔熱儲水箱中。但是,有一種比之熱虹吸系統更為簡化的裝置,就是被動式太陽能熱水器,或稱做悶曬式集熱器、又可稱為集熱/儲熱一體系統(ICS)。兩者之間的重要差別是,在被動式系統中其集熱面也就是水箱的表面,因此可將集熱與儲水兩者構成一體,所用的材料可以比熱虹吸系統節省許多。這種被動式系統實質上就是在通向熱水系統的冷水引入管中形成一個太陽能加熱膨管。因此對於它相對於建築物或水源的安裝高度,僅須考慮現場水壓是否足以使水流過太陽能熱水器達到需用熱水的地點即可。
被動式太陽能熱水器,包含一個集熱器殼體,上面是透明的平面,內面是曲線型的反射面和兩個端壁;在集熱器中裝有儲水箱,其位置恰可受到集熱器內表面所反射的陽光的加熱,且具有園柱形外壁,其曲面可從各種角度向水箱及相對的端壁反射陽光;有第一條管子沿著儲水箱的縱軸穿過並附裝於一側端壁,再伸向儲永箱內臨近圓筒形箱壁的第一位置;第二條管子沿著儲水箱縱軸穿過並附裝於另
圖1一側的端壁,再伸向儲水箱內臨近圓柱形箱壁的第二位置;上述第一和第二個位置大體上以徑向處於相反的方位;第一和第二條管子又向外延伸穿過集熱器外殼的兩個端壁,這以可拆卸的結構將集熱器殼體與儲樣將儲水箱支撐在集熱器殼體內;以可拆卸的結構將集熱器殼體與儲水箱組裝於要求的相對位置。
附圖中將此項發明的各方面(僅作為示例)分別顯示如下:
圖1為此項發明的被動式太陽能熱水器的總體圖;
圖2為圖1所示熱水器的端視圖;
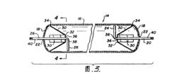
圖3為圖1所示太陽能熱水系統所適用的儲水箱的剖視圖;
圖4為圖3中沿4一4線的剖視圖;
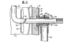
圖5為圖1中沿5一5線剖視的細部圖;
圖6為圖1中沿6一6線的剖視圖。
圖2各圖中表示被動式太陽能熱水器。如圖1及圖2所示,它包含一個集熱器殼體2,具有平底部分3,透明的上蓋41曲面式反射內表面6及兩側端壁8.注意從圖2、5和6中可看出集熱器殼體是由一種絕熱性好的材料10構成1最好是一種泡沫型的合成樹脂1例如聚氨脂,並有反光性的內表面6及外皮12。
在集熱器殼體2中有一儲水箱14,其位置正可受到集熱器殼體2的內表面6所反射的陽光的加熱。水箱14具有圓箭形的箱壁16及相對的端壁18S儲水箱14在圖3中有詳細表示。
圖3第一條管子20延伸在22位置穿過並裝在一側端壁18上-特見於圖3及圖6;第一條管20順著儲水箱14的縱軸線延伸,再伸向第一位置24;這是在儲水箱14的內部靠近圓筒壁16的部位。在熱水器另一端有第二條管子26伸入並裝在另一側端壁18上它也是順著儲水箱14的縱軸線延伸並在水箱內部伸向靠近圓簡壁16的第二位置28。上述第一和第二兩位置24與28大體上以徑向處在相反的方位1見圖2和圖3所示。
儲永箱14裝有內部加固架30以支撐住管子20及26;加固架30在32處相互焊接,在34處與儲永箱焊接,又在36處與管子焊接。在加固架30上做成開口38以容納第一和第二兩條管子20和26。
如圖6所特別顯示3在管子20與26的外伸部分須做上符號40以指示管子在儲水箱內所彎折的方向,因為儲水箱內部的情況從外面是看不見的。
上述對管子20與26以及加固架30的安排,保證了儲水箱14由管子20與26支撐在集熱器殼體中。
圖4圖5如圖1和圖2所示,此加熱器具有一個支架,它包含一對縱向部件42,兩端各有一對支腿44,向上延伸在46處相會組接。橫向上又有撐條48予以加固。又如圖2所示,有幾個定點陣圖50,它們可以在支腿上滑動,這樣可以使集熱器殼體2很方便地變換角度對著太陽,而不致引起水箱從其優選的位置上移位至於如何利用定位圈50將殼體2固定位置,則可利用管子工藝中所熟知的方法。
儲水箱14是由管道連線牢固地裝在管子20和26上,來固定它的旋轉位置的。
整個加熱器用可拆卸的裝置來固定集熱器殼體2與儲水箱14之間的相對位置,和兩者與地面或安裝面的相對位置。如圖6中所示每套固定裝置包括一定定位螺絲52,旋入支腿44的連線頭46上的絲孔54中。旋緊定位蜾絲52即可將支架的中心套壓緊到管子上如圖6所示,在接頭46處配有襯套56為橡膠或氯丁橡膠製作,外面是套筒58,可為鋁質,襯套56對管子20和26提供良好的磨擦配合,並可防止從管子20和26向支架44傳熱而損失熱量。同此目的,在管子20和26延伸穿過集熱器殼體2的地方,加一個墊圈60,墊圈外緣有一凹槽62用以和集熱器殼體2的外皮12上製備的凸緣64相嚙合。
圖6如圖5所示集熱器殼體2有一玻璃的上蓋4,卡在卡套66里.這個卡套是利用68安在集熱器殼體2上,玻璃蓋與卡套之間的安裝還須加上密封襯墊70.圖5所示為一種較好的具體設計,從中可以看出在玻璃蓋下又附加了兩層塑膠薄膜72(最好是聚四氟乙烯),用花鍵74繃平,這樣構成一個三層的體系,在其中間形成兩層氣墊,可提供更好的隔熱性。這樣的系統對於在較冷的氣候條件下滯存熱量是特別需要的。
對這種熱水器的操作極為簡單。先鬆開支架上的定位圈50,將集熱器殼體調到需要的角度。再鬆開螺絲52,使儲水箱14與管子20和26轉動,直到管子外面的符號40指示管子26的冷水入口已處在水箱中的最低點而管子20的熱水出口已處在水箱中的最高點。對管子20和26可用通常的絲扣接頭分別連線必要的水管。用這種方法就可以將儲水箱14調整到所需要的角度位置,使熱的流動和排氣作用最為理想冷水流過加熱器受到陽光直接照射,並由反射面6將陽光聚焦到儲水箱14上,水便迅速地被加熱。
被動式太陽能熱水器重要特徵是其儲水箱的支撐結構。上面介紹的設計可使集熱器殼體2與儲水箱14均能相互獨立地轉動角度,而對水管的連線並無影響。這是因為各部件都具有與儲水箱14的中心軸線成一線的共同旋轉軸心,即令其旋轉時,仍可在加熱器內保持對稱對集熱器殼體2和儲水箱14以及它們在管子20和26上的安裝的設計保證了在結構和支架之間不會發生干擾。水箱I4中的加固架30保證加熱器具有足夠的強度以支撐自已為了有效的工作,管子20和26上轉折的部分,必須總是處於垂直方向,這種使管子20和26不論集熱器殼體2使處在什麼角度位置均能保持垂直的設計,在此項發明中是簡單的。進水口與出水口的位置也可簡單地對調,即將儲水箱14作180度的旋轉。對儲水箱14亦可利用進水口管道的虹吸作用排去存水,集熱器殼體的造形使它當位置調整適當時,凡在60"角範圍內由各種高度從視窗入射或是直接照射或是通過反的全部光線,都會聚射在儲水箱上力射。
由此可見,此項發明所提供的大陽能熱水器,其儲水箱的角度位置和集熱器殼體的角度位置之間是相互獨立的,兩者又均獨立於處在支腿下面的安裝面的坡度角。這種設計使它不論集熱器殼體調到什麼傾角以及它是安在平面上還是安在斜面上,它的儲水箱均可以調到排氣和進出水口的理想位置。
集熱器殼體可以終年保持在一個位置,也可以按季節或需要調整位置以增加日照量,而不調整水箱的位置,也不需要拆卸其進出水管道內部加固架的設定意味著可將儲水箱裝在供水管上,這就避免了與集熱器殼體轉動的相互干擾。
當製造這種加熱器時,通常須注意保證使其反光面做到儘可能地光潔,使其吸光面做到儘可能暗色,最好是鋶黑色。也就是說集熱器殼體2的內表面6須精度拋光,其儲水箱14的外表面須塗以鋶黑,或者更好是覆以黑色膜體,那樣可以增加一種降低熱輻射損失的特性集熱器殼體2外皮最好用預先漆過的鋁皮或鍍鋅鋼皮,支腿可用鋁管以取其輕,儲水箱14可用不鏽鋼 。
被動式太陽能熱水器現有的各種被動式太陽能熱水器中;其水箱安裝在整體外殼中的一個固定位置;而水箱上的熱水出口位置的安排,須當熱水器以一定角度對著太陽時,使熱水出口處於水箱的最高處,以最大限度地排出空氣。如果水箱的布置使熱水引出管的開口不是處於水箱的最高點;則水箱頂部滯留的空氣就會增多,這樣使水和水箱的接觸面積減少,相應地就減少了對水的熱傳送效率。可見這種設計特別就那些水平式安裝的水箱來說有一個問題,就是對於現場的安裝傾角甚少靈活的適當遇到不同緯度及不同的屋頂坡度時,這一點即便為明顯。加之,如要按季節調整傾角以加大其集熱能力,就更見其困難或至於不可能 。

