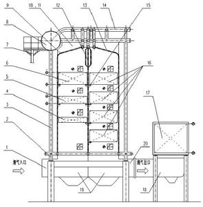
其系統由廢熱煙氣進口、自承腳、集中下降管、預蒸發段、高溫過熱器、低溫過熱器、平台扶梯輔助鋼構、鍋筒、前水冷壁,左右側水冷壁、中間水冷壁、後水冷壁、蒸汽引出管、受熱面支撐腳、蒸發器、省煤器、省煤

構成自承餘熱鍋爐的煙氣進口、自承腳、集中下降管、預蒸發段、高溫過熱器、低溫過熱器、鍋筒、前水冷壁,左右側水冷壁、中間水冷壁、後水冷壁、蒸汽引出管、受熱面支撐腳、蒸發器、本體煙道灰斗、煙氣出口等在鍋爐安裝結束後,形成了一個整體結構的鍋爐,鍋爐的各個部件相互聯結,相互加強,鍋爐的膨脹方向一致,整個鍋爐只需通過自承腳支撐即可,餘熱鍋爐無需鋼架支撐或懸吊。此形式的餘熱鍋爐為自承式餘熱鍋爐。
自承餘熱鍋爐有效的解決了:
1. 整個鍋爐通過自身來支撐和加強,無需鋼架支撐或懸吊。與同樣輸入條件的其它型式餘熱鍋爐相比,鋼耗降低20%以上。
2. 鍋爐保溫全部採用輕型的膜式壁敷管爐牆, 密封和保溫性能好,提高鍋爐效率2各百分點以上。
3. 與同樣輸入條件的其它型式餘熱鍋爐相比,縮減占地面積和空間20%以上。
4. 鍋爐的蒸發段採用模組化設計,可根據需求作增減。
5. 煙氣進出口位置可視工藝要求和空間大小按不同組合(上進下出,上進上出,下進下出,下進上出)進行布置。
6. 鍋爐本體結構本身具有較強的自潔功能。
7. 鍋爐使用壽命長(一般可在25年以上),適用的行業範圍廣(各行各行均可採用)
