空氣調節單元
技術背景
本發明涉及一種空氣調節單元。
眾所周知,現在非常強烈地感到在許多封閉的環境中以及對於最多變的套用需要 確保空氣的最適宜的溫度和濕度條件。實際上,經常要求達到並保持溫度和相對濕度的特定值,以確保食品的儲存、電子設備的運行,以及尤其是長期或短期在家庭和公共/工作相 關的封閉環境內的個人的健康。特別參考該最後的需要,同樣地公知空氣調節設備用於如卡車、拖車(並且,有時 還有汽車)的機動交通工具,和/或用於船及類似物,其實現了各自的隔間、艙室或意在較 長時間容納一個或多個個體的其它空間的內部溫度和相對濕度的控制和調節,即使發動機關閉。然而,這樣的實施方案並不是沒有缺點。為了被使用,市場上可得到的空氣調節設備實際上需要進行經常長時間且困難的初裝行為。這樣的行為涉及外部單元和內部單元的固定,連線管和/或纜線的放置和鋪設, 諸如冷凝泵、換向閥(用於從夏季操作模式到冬及操作模式,並且反之亦然)等的附屬檔案的準備,並且這使設備的使用極為不便。另外,非常複雜的安裝操作使在短時間內將這種設備從一輛機動交通工具(或從任何類型的環境的任何情況)轉移到另一個實質上不可能或者至少很困難,結果決定了對其可能的套用的不想要的限制。
發明目標
本發明的目的在於通過提供一種空氣調節單元來解決上述問題,該空氣調節單元可以以實用且容易的方式安裝和使用,特別是在機動交通工具、船及類似物的隔間、艙室或 空間中。在該目的內,本發明的目標是提供一種空氣調節單元,其可容易地從一個環境搬 運和轉移到另一個環境。本發明的另一個目標是提供一種空氣調節單元,其多餘物非常有節制。本發明的另一個目標是提供一種空氣調節單元,其需要最小限度地使用附屬檔案。
本發明的另一個目標是提供一種空氣調節單元,其可容易地安裝在機動交通工 具、船及類似物中,而不需要對它們進行改變。
本發明的另一個目標是提供一種單元,其可以用於以實用且容易的方式加熱和冷 卻環境。
本發明的另一個目標是提供一種單元,其確保運行的高度可靠。
本發明的另一個目標是提供一種單元,其可使用在市場上容易獲得的元件和材料 來容易地實施。
本發明的另一個目標是提供一種單元,其成本低且套用安全。
在下文將變得更明顯的該目的以及這些目標和其他目標通過一種空氣調節單元 來實現,其可布置在封閉環境中,以改變溫度水平、相對濕度及類似物,其包括至少一個管 道,熱傳遞流體流經該至少一個管道,依次受到至少一個壓縮機、至少一個冷凝器、至少一 個層壓元件和至少一個蒸發器的影響,該至少一個壓縮機用於提升氣態下的熱傳遞流體的溫度和壓力,該至少一個冷凝器用於從熱傳遞流體帶走熱量和用於熱傳遞流體從氣態到液 態的轉變,該至少一個層壓元件用於降低液態下的熱傳遞流體的壓力,該至少一個蒸發器 用於通過熱傳遞流體從液態到氣態的轉變而吸收熱量,特徵在於,該空氣調節單元包括將 可能已經沿著所述蒸發器的外表面形成的冷凝水朝向所述冷凝器自然地、非強制地收集和 運送以用於通過從熱傳遞流體帶走的熱量使其蒸發的機構。
例圖說明
本發明的另外的特徵和優點將從根據本發明的單元的優選的但不排他的實施方式的描述中變得更明顯,該實施方式通過非限制性例子在所附的附圖中圖示,其中:
圖1為根據本發明的單元的前側面透視圖;
空氣調節單元圖2為根據本發明的單元的後側面透視圖;
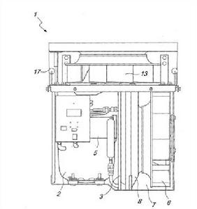
空氣調節單元圖3為根據本發明的單元的內部元件的前側面透視圖;
空氣調節單元圖4為根據本發明的單元的內部元件的後側面透視圖;
空氣調節單元圖5為根據本發明的單元的內部元件的正視圖;
空氣調節單元圖6為根據本發明的單元的內部元件的後視圖;
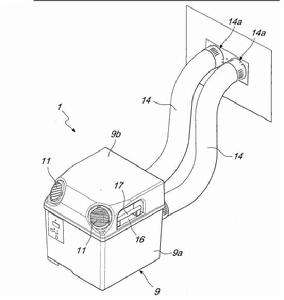
空氣調節單元圖7示出了根據本發明的單元的可能的使用。
空氣調節單元參照附圖,根據本發明的由附圖示記1標示的單元適合於待加熱的空氣或待冷卻 的空氣(或其它流體)的調節,並且因此可位於封閉環境A中,以用於封閉環境A的溫度值、 相關濕度值及類似物的改變。應該注意的是,在該討論中從這一點開始將要給出單元1的套用的許多可能的例 子,以及因此單元1可套用到的一些類型的封閉環境A,但是根據特定的需要,不排除將根 據本發明的單元1用於任何封閉環境A的可能性。單元1包括至少一個管道,熱傳遞流體流經該至少一個管道,並且其依次受到壓 縮機2、冷凝器3、層壓元件和蒸發器4的影響,並且因此能夠使熱傳遞流體進行冷卻循環。根據因此實質上已知的方法,壓縮機2能夠提高氣態下的熱傳遞流體的溫度和壓 力,從冷凝器3中帶走來自氣態下的熱傳遞流體的熱量(屈服於待加熱的流體,例如空氣), 因此決定了其從氣態到液態的轉變。
隨後,在層壓元件中,在液態下的熱傳遞流體隨著壓力的相應的降低而膨脹,並且 最後熱傳遞流體通過在蒸發器4中從液態到氣態的轉變而吸收熱量(從例如空氣的待冷卻 的流體帶走)。根據本發明,單元1包括將可沿蒸發器4的外表面形成的冷凝水朝向冷凝器3自 然地、非強制地收集和運送的機構,以用於通過從熱傳遞流體帶走的熱量使其蒸發。如實際上已知的,衝擊蒸發器4的待冷卻的空氣可經歷溫度的突然降低,比如導 致沿蒸發器4的外表面形成冷凝液滴。因此,以上介紹的機構的存在使根據將在以下頁中 描述的方法排出這種水而不需要採用在常規單元中發生的冷凝泵或其他類似的附屬檔案成為 可能。方便地,以上提到的機構包括至少一個罐5和高度毛細管材料層(例如,但不排他 地,海綿類型的,自然的或合成的),該至少一個罐5布置在蒸發器4的下方,以便能夠收集 冷凝水(通過重力)。以上提到的層部分地容納在罐5中,以便能夠用從上方的蒸發器4落下的冷凝水 浸漬自身。該層此外設定有至少一個端唇部,該至少一個端唇部與冷凝器3接觸,以便通過毛細管作用實現冷凝水朝向冷凝器3的自然運送以及通過從熱傳遞流體帶走的熱量使冷 凝水蒸發。
方便地,單元1包括面對冷凝器3的第一風扇6,以用於待加熱的第一流體(通常, 但不排他地,這種第一流體將是待加熱的空氣,如之前提到的,並且在本討論中將在下文對 其進行參考)通過冷凝器3強制循環。此外,以上提到的機構包括接受器7,該接受器7大 體上布置在冷凝器3的下方並且面向第一風扇6。方便地形成輪廓(contoured)的這種接 受器7與蒸發器4相連(根據各種方法,例如通過各自的管道)地放置,以用於收集冷卻水。 接受器7中收集的冷凝水因而可通過第一風扇6的旋轉而通過壓力被對著冷凝器3驅動, 以用於接受器7中收集的冷凝水的蒸發。為了由第一風扇6驅動的冷凝水的最優的蒸發,冷凝器3被裝在截頭錐體形的外 殼體8中(並且外殼體8的對稱軸線大體上與第一風扇6的旋轉軸線重合)。由第一風扇 6驅動的冷凝水的液滴因而可沿著殼體8的側表面分布,並且,通過由於熱傳遞流體從氣態 到液態的轉變引起的由冷凝器3放出的熱量,然後可與現在已被加熱的空氣一起被排出到 單元1的外側。
根據通過本發明的套用的非限制性例子引用的優選的實施方案,收集和運送機構 包括罐5和接受器7兩者。因此,首先收集罐5中的冷凝水以最初通過毛細管作用將它通 過以上介紹的層輸送到冷凝器3是可能的。然後可通過第一風扇6驅逐水蒸氣,同時可能 沒有蒸發的任何冷凝水可被收集在接受器7 (方便地布置在冷凝器3的下方)中,因此,可 從接受器7通過第一風扇6進行至冷凝器3的第二輸送,因而確保了冷凝水的消除的最大 效率。
從所附的圖可看到,根據本發明的單元1包括外罩9,外罩9例如包括由蓋9b封閉 的底部殼9a。沿罩9 (並且更準確地說是沿著蓋9b)面向並靠近蒸發器4設定了至少一個 入口 10和一對空氣出口 11。以這種方式,蒸發器4在熱傳遞流體從液態到氣態的轉變處 受到待冷卻的第二流體(通常,但不排他地,這種第二流體將是待冷卻的空氣,如之前提到 的,並且在本討論中將在下文對其進行參考)的流動的影響。此外,單元1包括一對進口 12,該對進口 12面向並靠近冷凝器3,以便允許待加熱 的空氣在熱傳遞流體從氣態到液態的轉變處進入和出來。
具體操作
根據本發明的單元的操作如下。
由於通過熱傳遞流體進行冷循環,冷卻第二流體並加熱第一流體是可能的,第二 流體和第一流體通常分別由待冷卻的空氣和待加熱的空氣構成,待冷卻的空氣和待加熱的 空氣在單元1內循環(由於風扇6、13,其被強制),分別衝擊蒸發器4和冷凝器3。
例如,由12V/24V DC供電(因而用普通電池,而不用吸熱電機)的單元1可因而 對其所放置的封閉空間A進行空氣調節,並且更準確地說,通過選擇是否將管14連線到出 口 11或進口 12,加熱或冷卻封閉環境A以相應地將冷卻空氣或加熱空氣驅逐到外部是可能 的。
在任何情況下,單元1的特殊結構並且更具體地在先前頁上描述的自然收集和運 送機構確保了可已經形成的冷凝水的完全排出(也由於該水向冷凝器3的雙重傳送),而不 需要冷凝泵或其他類似的附屬檔案,如在常規的空氣調節單元中的一樣。
上述的運送和收集機構的存在使有效地避免冷凝泵的使用並且因而淘汰在常規 的空氣調節機及類似物中一直存在的第一部件成為可能。此外,僅僅通過將管14固定到空氣出口 11或進口 12來獲得單元1放置在其中的 隔間、艙室或另外的封閉環境A的加熱或冷卻的能力使非常快地從冬季操作模式改變為夏 季操作模式(並且當然反之亦然)而在單元1中不發生周期換向(將導致主要的結構複雜 化)成為可能。根據本發明的單元1因而能夠實現從冬季操作模式到夏季操作模式的轉變, 並且反之亦然,而不需要換向閥(並且沒有從冷變化到熱的等待時間),從而獲得了通常在 常規的空氣調節機和類似的單元中存在的第二部件的淘汰。因而明顯的是,由於單元1的運行所需的部件的數量的減少,因此單元1可提供減 少的多餘物和重量,並以迅速、實用和容易的方式安裝和使用,而不用專門的知識,最少地 使用附屬檔案,並且此外可容易地從一個封閉環境A運輸和轉移到另一個(通過例如在把手17 處握住它)。
如果此外期望將單元1用於空氣調節交通工具的隔間(並且類似地用於空氣調節 船或類似物的艙室),那么可能的是,將板15錨固到開口 B的邊緣,大體上與各自的視窗並 置,其因而用於將加熱空氣或冷卻空氣驅逐到外部。選擇使用一個或多個VELCR0(其是註冊商標)條的類型的附接設備使將板15固 定到任何類型的機動交通工具、船等成為可能,從而以實用且容易的方式安裝單元1,而不 需要單元1的任何類型的孔或改造。為了實現將加熱空氣或冷卻空氣(如果單元1用於隔間的冷卻而運行或用於隔間 的加熱而運行則分別地)驅逐到外部,甚至部分地降低視窗是足夠的,而如果單元1沒有正 在使用,使用者可簡單地再次關閉視窗,而且使板15由透明材料製成的選擇使保持板15錨 固到視窗的邊緣成為可能,這是因為板15沒有干擾安全駕駛所需要的完全可見性。
實際上,已經發現,根據本發明的單元完全達到了設定的目的,因為將可能已經沿著蒸發器的外表面形成的冷凝水朝著冷凝器自然地、非強制地收集和運送的機構的使用使 通過從熱傳遞流體帶走的熱量獲得水的蒸發成為可能,並且從而使提供一種可以以實用且 容易的方式安裝和使用,特別是但不排他地在機動交通工具、船及類似物的隔間、艙室或空 間上安裝和使用的空氣調節單元(攜帶型的或其他的)成為可能。
因而構想本發明容許進行很多修改和變化,其全部在所附的權利要求的範圍內。另外,所有的細節可以被其他的技術上等效的元件所代替。在所說明的實施方式中,與特定的例子相關地示出的個別特徵實際上可以與存在 於其他的實施方式中的其他的、不同的特徵互換。實際上,所採用的材料以及尺寸根據需要和技術現狀可以是任意的。
在任何權利要求中提到的技術特徵的地方後面是參考數字和/或標記,這些參考 數字和/或標記已經被包括以用於增加權利要求的可理解性的唯一目的,並且因此,這些 參考數字和/或標記對以舉例方式通過這些參考數字和/或標記所識別的每個元件的詮釋 不具有任何限制性影響。

