計算說明
以大氣壓力p。為零點算起的壓力口U做相對壓力。也就是絕對壓力減去當地大氣壓力,便得到相對壓力值,並以字母p表示,即:(式1)
當液體自由表面上是大氣壓力p時,
相對壓力由(1)式知道,絕對壓力等於相對壓力加上大氣壓力,即
相對壓力在多數工程實際問題中,因流體所受的大氣壓力是互相平衡的,因此,真正起作用的是相對壓力,故一般多採用相對壓力來表示靜壓力。譬如,一般壓力表上指示的零壓就是大氣壓力。壓力表的讀數反映了流體的壓力與周圍空氣的壓力差。故壓力表上的刻度是相對壓力。所以,相對壓力在工程上又習慣稱為表壓力或計示壓力。
相對壓力計
管狀彈簧壓力表
管狀彈簧壓力表是最通行的一種相對壓力表。其結構和計算均足夠明了。
在研究工作實踐中,把這類標準壓力計和(始終指示著裝置中壓力的)普通儀表並聯使用。標準壓力表只是在測量時才接通。當測完壓力後,立刻把它斷開,並從中放出液體和氣體。管狀彈簧有滯後現象,所以對壓力計應當經常檢驗。特別是標準壓力表和高壓壓力計,更應經常檢驗。
採用橫截面如圖1所示的管狀彈簧,可增大極限測量壓力。這種彈簧自由端在被測壓力作用下的運動,不是象普通管狀壓力計那樣由於輪廓變形所致,而是由於穿過橫截面重心的中心軸(c1)相對於孔軸(c0)偏移某一距離。的結果。沿孔軸的作用力造成一個相對於橫截面軸線的力矩。在這力矩的作用下,彈簧管向厚壁方向彎曲。
圖1直管壓力計在圖2所示的壓力計中,也採用了偏心管。壓力計是一個兩端有法蘭的厚壁鋼管1。管孔的偏心距離為y,所以在受壓時鋼管便向厚壁方向彎曲。這時,固定在支座3上的桿2,便壓向千分表5的頂針4。桿的位移,和壓力成比例。
圖2可以採用上述管狀壓力計,測量非腐蝕性介質或混合物的壓力。混合物的組成,在從測量溫度改變到室溫時,不得發生變化(由於組元凝結而發生變化)。管狀壓力計應處於室溫條件中。否則,凝結物將聚集在壓力計彈簧中並流入裝置中去,而破壞系統中的平衡。這時,最好採用金屬風箱(波紋管),把壓力計彈簧與被研究介質隔絕開。為此,在波紋管上(圖3)焊接或接觸焊(滾焊)焊接底1和塞2。塞2上有螺紋,用於擰在蓋3上。用蓋3把(與被測壓力裝置連線的)容器4封住。容器處於實驗溫度之下。蓋3上連線著一個通往管狀壓力計的鋼管。
圖3波紋管——鋼管——壓力計系統中,注滿液態油(凡士林油或變壓器油)。油中不允許有氣泡。為了避免擠壞波紋管,在被測壓力作用下,其體積變化必須大於系統中油的可壓縮性。因為油被加熱時由於熱膨脹使其壓力升高,所以在裝置中未預先建立起10—15巴的壓力之前,不可提高這類裝置中的溫度。為了確定波紋管剛性的修正係數,必須預先按照另外的管狀壓力計來對波紋管—壓力計系統進行標定。對於直徑10—15毫米的不鏽鋼波紋管,其修正值約為幾巴。
管狀壓力計的最大缺點是彈簧經常斷裂。尤其當壓縮介質是氣體時,使用這些壓力計,要求採取特殊的安全措施。如在讀數盤前,安裝安全網或鋼化玻璃板。
如果採用多圈螺旋彈簧,把它的零點置於受壓狀態,就可以提高這種壓力計的精度。這種彈簧測量的不是壓力的全量程,而僅是靠近上限的一部分。如測量665巴以下壓力的儀表,裝有630—700巴的刻度。也有另一些結構的壓力計,按儀表工作元件材料的彈性變形來測量壓力。
電阻壓力計
首先,應該把根據金屬導線電阻改變來測量壓力的壓力計,劃為純電壓力計。由於這一效應很小,所以這類壓力計只是在測量數千巴量級的壓力時才是有效的。
彈性電壓力計
應變儀 把錳銅絲或康銅絲繞在鋼管上並提高管中的壓力,就可以根據被張緊金屬絲電阻的變化,測量出管內的壓力。管子的計算,應該使管壁只受到彈性變形。
用這樣的方法還可以測量脈動的壓力,如內燃機里的壓力。這時可用示波器記錄金屬絲電阻的變化。變化再快的壓力(如過程延續百分之幾秒和千分之幾秒的氣體絕熱壓縮),用專門的儀器測量。
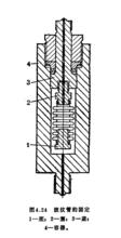
應變壓力計 這種壓力計(圖4)的工作原理是,膜片3在壓力作用下彎曲,在膜片中產生應力,該應力用貼在膜片上的應變片4進行測量。(膜片用蓋2壓在墊片6上;應變片5用來補償應變片4的溫度變形)。採用不同厚度6的膜片,可以在很寬的範圍內測量壓力。
圖4電容壓力計
電容壓力計也是一種膜片壓力計,利用電方法測量膜片的撓度。膜片作為電容器的一個極板。電容器的電容量隨著膜片的移動而改變。有許多以這個原理為基礎的不同種類的儀器。
壓電壓力計
這種壓力計是基於石英片的機械振動轉換成電荷的原理。除石英外,酒石酸鉀鈉和其他一些物質也具有這種性質。測得電荷,就可以確定出作用在片上的壓力。
由於石英中的電荷是瞬時出現的並很快消失,所以要用專門的線路把它轉換成電流振盪,並用示波器進行記錄。用這類壓力計可以測量快速變化的壓力,所以常用它測量炮膛里的壓力和內燃機氣缸里的壓力等。雖然儀器很簡單,但其測試線路卻很複雜。全部引線都要求高質量的絕緣。此外,儀器的讀數還與許多條件(空氣的濕度等)有關。
干涉壓力計
在大量不同結構的壓力計中,著重提一下所謂的干涉壓力計¨們。該儀器(圖5)由承受壓力的鋼膜片1構成。把膜片精心拋光。膜片上方裝一塊石英片2。由特殊光源來的光線,投射在膜片上,產生干涉。膜片形狀隨壓力變化,從而使干涉條紋數變化。這種變化可記錄在底板上。這個儀器也可以測量快速變化的壓力。
圖5
