結構
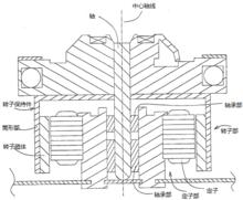
無刷馬達結構無刷馬達包括:沿著中心軸線旋轉的軸;轉子部,包括具有固定於軸的具有大致筒形形狀的轉子保持件,和固定於轉子保持件的筒形部的內周表面的轉子磁體;定子部,包括沿徑向與轉子磁體相對布置的定子,和固定於定子的內周表面用於可旋轉的支撐軸的軸承部 。
工作原理
無刷馬達在構造上是用永久磁鐵作為轉子, 並且用霍爾效應感應電動機轉子的位置, 當轉子之相位為時令定子激磁,如此可以達到最高的運轉效,用這樣的原理也可以使用在四程機車引擎點火正時上 。
無刷直流伺服馬達霍爾電壓與磁通密度( 磁場強度) 及霍爾電流成正比, 因此當轉子之磁軸與霍爾元件同軸時,磁通較小,為維持固定的霍爾電壓必須增大霍爾電流,如此能確的算出定子的激磁順序與時間。霍爾元件與直流馬達,當轉子磁軸與霍爾元件同軸時,霍爾元件與S極距離最短,因此磁通密度最高,此時造成霍爾元件 A 端子電壓較大,使得電晶體Q1導通,則線圈 L1 內有 i1電流流通,因此線圈L1呈激磁態,依據右手定則得知線圈L1右側為S極,故轉子反轉。當轉子S極遠離霍爾元件時造成磁通密度下降, 因此A、B端再產生霍爾電壓電晶體Q1、Q2 呈OFF態,轉子因受慣性作用繼續反向旋轉。當轉子N極轉至霍爾元件時,造成霍爾元件B端子電壓較大,使得電晶體Q2導通,則線圈L2內有i2電流流通,因此線圈L2呈激磁態,轉子再受磁作用反轉,依照如此程式轉子持續轉動。
當控制要求高時,可以增加場繞組線圈數目與霍爾元件數目, 因此工業上常使用的四相、五相無刷馬達,即是指此類運用霍爾元件製成的無刷直流伺服馬達。
控制器
無刷馬達控制器包含:
適於連線至外部無刷馬達的一個或多個轉子位置檢測器的微控制器;以及
適於連線至外部無刷馬達的多個繞組的多個馬達驅動電路。上述微控制器連線至多個馬達驅動電路 。
1.適於連線至外部無刷馬達的一個或多個轉子位置檢測器的微控制器;以及
2.適於連線至外部無刷馬達的多個繞組的多個馬達驅動電路。上述微控制器連線至多個馬達驅動電路 。
意義
電動機構造中環由於是採用接觸式通電的方式,所以也稱作電刷。在直流馬達中常以石墨作為電刷的材質,電刷長期與電動機的轉子摩擦會造成相當程度的噪音,同時也會因磨耗而需要考慮維修的問題。在交流電動機中電刷則採用屬材製作, 在長期磨耗下會造成間隙( Gap) , 容在運轉時發出火花,此類的問題對電動機的可靠與安全性有相當程的影響。無刷馬達就是在這樣的需求下產生 。
無刷馬達和有刷馬達的區別
有刷馬達工作時,線圈和換向器旋轉,磁鋼和碳刷不轉,線圈電流方向的交替變化是隨馬達轉動的換相器和電刷來完成的。從名字上可以看出有刷馬達有碳刷,無刷馬達沒有碳刷。
無刷直流馬達由電動機主體和驅動器組成,是一種典型的機電一體化產品。由於無刷直流馬達是以自控式運行的,所以不會象變頻調速下重載啟動的同步馬達那樣在轉子上另加啟動繞組,也不會在負載突變時產生振盪和失步。
在實際生產過程中,由於有刷有齒直流馬達是高速馬達,齒輪的齒很小,易磨損,但力量大,爬坡能力強。而無刷直流馬達,在使用過程中省去了二、三年換碳刷的麻煩。但由於在控制無刷馬達的過程,要求精度極高。相比之下有刷無齒的直流馬達,雖然要更換碳刷,但更換碳刷是十分容易的,而且馬達的控制較為簡單,馬達運轉平穩,安全係數高。
有刷馬達是指馬達是直流電輸入,控制它的控制器只給它提供大小電流就可以調速了;而無刷馬達其實就是個三相交流馬達,靠控制器把直流電轉換成三相交流電,並根據馬達里的感測器霍爾元件進行換相使馬達正常運轉。直接來說,無刷馬達比有刷馬達壽命長,但是控制器卻比有刷控制器成本高。
1.有刷馬達工作時,線圈和換向器旋轉,磁鋼和碳刷不轉,線圈電流方向的交替變化是隨馬達轉動的換相器和電刷來完成的。從名字上可以看出有刷馬達有碳刷,無刷馬達沒有碳刷。
2.無刷直流馬達由電動機主體和驅動器組成,是一種典型的機電一體化產品。由於無刷直流馬達是以自控式運行的,所以不會象變頻調速下重載啟動的同步馬達那樣在轉子上另加啟動繞組,也不會在負載突變時產生振盪和失步。
3.在實際生產過程中,由於有刷有齒直流馬達是高速馬達,齒輪的齒很小,易磨損,但力量大,爬坡能力強。而無刷直流馬達,在使用過程中省去了二、三年換碳刷的麻煩。但由於在控制無刷馬達的過程,要求精度極高。相比之下有刷無齒的直流馬達,雖然要更換碳刷,但更換碳刷是十分容易的,而且馬達的控制較為簡單,馬達運轉平穩,安全係數高。
4.有刷馬達是指馬達是直流電輸入,控制它的控制器只給它提供大小電流就可以調速了;而無刷馬達其實就是個三相交流馬達,靠控制器把直流電轉換成三相交流電,並根據馬達里的感測器霍爾元件進行換相使馬達正常運轉。直接來說,無刷馬達比有刷馬達壽命長,但是控制器卻比有刷控制器成本高。

