簡介
灌注樁施工乾作業成孔
乾作業成孔灌注樁適用於地下水位較低、在成孔深度內無地下水的土質,不需護壁可直接取土成孔。目前常用螺鏇鑽機成孔。施工工藝流程
場地清理→測量放線定樁位→樁機就位→鑽孔取土成孔→清除孔底沉渣→成孔質量檢查驗收→吊放鋼筋籠→澆築孔內混凝土。
施工注意事項
①開始鑽孔時,應保持鑽桿垂直、位置正確,防止因鑽桿晃動引起孔徑擴大及增多孔底虛土。
②發現鑽桿搖晃、移動、偏斜或難以鑽進時,應提鑽檢查,排除地下障礙物,避免樁孔偏斜和鑽具損壞。
③鑽進過程中,應隨時清理孔口粘土,遇到地下水、塌孔、縮孔等異常情況,應停止鑽孔,同有關單位研究處 理。
④鑽頭進入硬土層時,易造成鑽孔偏斜,可提起鑽頭上下反覆掃鑽幾次,以便削去硬土。若糾正無效,可在孔中局部回填粘土至偏孔處0.5m以上,再重新鑽進。
⑤成孔達到設計深度後,應保護好孔口,按規定驗收,並做好施工記錄。
⑥孔底虛土儘可能清除乾淨,可採用夯錘夯擊孔底虛土或進行壓力注水泥漿處理,然後快吊放鋼筋籠,並澆築混凝土。混凝土應分層澆築,每層高度不大於1.5m。
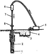
螺鏇鑽機螺鏇鑽孔機是利用動力鏇轉鑽桿,使鑽頭的螺鏇葉片鏇轉削土,土塊沿螺鏇葉片上升排出孔外。
鑽孔機由主機、滑輪組、螺鏇鑽桿、鑽頭、滑動支架、出土裝置等組成,用於地下水位以上的粘土、粉土、中密以上的砂土或人工填土土層的成孔,成孔孔徑為300mm~600mm,鑽孔深度8—12m。配有多種鑽頭,以適應不同的土層。
1一電動機;2一變速器;3一鑽桿;4一托架;5一鑽頭;6一立柱;
7一斜撐;8一鋼管;9一鑽頭接頭;10一刀板;11一定心尖
在軟塑土層,含水量大時,可用疏紋葉片鑽桿,以便較快地鑽進。在可塑或硬塑粘土中,或含水量較小的砂土中套用密紋葉片鑽桿,緩慢地均勻地鑽進。操作時要求鑽桿垂直,鑽孔過程中如發現鑽桿搖晃或難鑽進時,可能是遇到石塊等異物,應立即停機檢查。全葉片螺鏇鑽機成孔直徑一般為300~600mm,鑽孔深度8~20m。鑽進速度應根據電流變化及時調整。在鑽進過程中,應隨時清理孔口積土,遇到塌孔、縮孔等異常情況,應及時研究解決。
泥漿護壁成孔
泥漿護壁成孔灌注樁施工施工工藝流程
(1)測定樁位。
平整清理好施工場地後,設定樁基軸線定位點和水準點,根據樁位平面布置施工圖,定出每根樁的位置,並做好標誌。施工前,樁位要檢查覆核,以防被外界因素影響而造成偏移。
(2)埋設護筒。
護筒的作用是:固定樁孔位置,防止地面水流入,保護孔口,增高樁孔內水壓力,防止塌孔,成孔時引導鑽頭方向。護筒用4—8mm厚鋼板製成,內徑比鑽頭直徑大100—200mm,頂面高出地面0.4~0.6m,上部開1一2個溢漿孔。埋設護筒時,先挖去樁孔處表土,將護筒埋入土中,其埋設深度,在粘土中不宜小於1m,在砂土中不宜小於1.5m。其高度要滿足孔內泥漿液面高度的要求,孔內泥漿面應保持高出地下水位1m以上。採用挖坑埋設時,坑的直徑應比護筒外徑大0.8~1.0m。護筒中心與樁位中心線偏差不應大於50mm,對位後應在護筒外側填人粘土並分層夯實。
(3)泥漿製備。
泥漿的作用是護壁、攜砂排土、切土潤滑、冷卻鑽頭等,其中以護壁為主。
泥漿製備方法應根據土質條件確定:在粘土和粉質粘土中成孔時,可注入清水,以原土造漿,排渣泥漿的密度應控制在1.1~1.3g/cm3;在其他土層中成孔,泥漿可選用高塑性(Ip≥17)的粘土或膨潤土製備;在砂土和較厚夾砂層中成孔時,泥漿密度應控制在1.1—1.3g/cm3;在穿過砂夾卵石層或容易塌孔的土層中成孔時,泥漿密度應控制在1.3~1.5g/cm3。施工中應經常測定泥漿密度,並定期測定粘度、含砂率和膠體率。泥漿的控制指標為粘度18~22s、含砂率不大於8%、膠體率不小於90%,為了提高泥漿質量可加入外摻料,如增重劑、增粘劑、分散劑等。施工中廢棄的泥漿、泥渣應按環保的有關規定處理。
(4)成孔方法
迴轉鑽成孔。迴轉鑽成孔是國內灌注樁施工中最常用的方法之一。按排渣方式不同分為正循環迴轉鑽成孔和反循環迴轉鑽成孔兩種。
正循環迴轉鑽機工作原理1一鑽頭;2--泥漿循環方向;3一沉澱池;4--泥漿池;5一泥漿泵;6--水龍頭;7一鑽桿;8一鑽機迴轉裝置
反循環迴轉鑽機工藝原理1一鑽頭;2--新泥漿流向;3一沉澱池;4--砂石泵;5一水龍頭;6一鑽桿;7--鑽機迴轉裝置;8—混合液流向
(5)清孔。
當鑽孔達到設計要求深度並經檢查合格後,應立即進行清孔,目的是清除孔底沉渣以減少樁基的沉降量,提高承載能力,確保樁基質量。清孔方法有真空吸泥渣法、射水抽渣法、換漿法和掏渣法。
清孔應達到如下標準才算合格:一是對孔內排出或抽出的泥漿,用手摸捻應無粗粒感覺,孔底500mm以內的泥漿密度小於1.25g/cm3(原土造漿的孔則應小於1.1g/cm3);二是在澆築混凝土前,孔底沉渣允許厚度符合標準規定,即端承樁≤50mm,摩擦端承樁、端承摩擦樁≤100mm,摩擦樁≤300mm。
(6)吊放鋼筋籠。
清孔後應立即安放鋼筋籠、澆混凝土。鋼筋籠一般都在工地製作,製作時要求主筋環向均勻布置,箍筋直徑及間距、主筋保護層、加勁箍的間距等均應符合設計要求。分段製作的鋼筋籠,其接頭採用焊接且應符合施工及驗收規範的規定。鋼筋籠主筋淨距必須大於3倍的骨料粒徑,加勁箍宜設在主筋外側,鋼筋保護層厚度不應小於35mm(水下混凝土不得小於50mm)。可在主筋外側安設鋼筋定位器,以確保保護層厚度。為了防止鋼筋籠變形,可在鋼筋籠上每隔2m設定一道加強箍,並在鋼筋籠內每隔3—4m裝一個可拆卸的十字形臨時加勁架,在吊放入孔後拆除。吊放鋼筋籠時應保持垂直、緩緩放人,防止碰撞孔壁。
若造成塌孔或安放鋼筋籠時間太長,應進行二次清孔後再澆築混凝土。
套管成孔
沉管灌注樁施工過程錘擊沉管灌注樁
錘擊沉管灌注樁的機械設備由樁管、樁錘、樁架、卷揚機滑輪組、行走機構組成。
錘擊沉管樁適用於一般粘性土、淤泥質土、砂土和人工填土地基,但不能在密實的砂礫 石、漂石層中使用。它的施工程式一般為:定位埋設混凝土預製樁尖→樁機就位→錘擊沉管→灌注混凝土→邊拔管、邊錘擊、邊繼續灌注混凝土(中間插入吊放鋼筋籠)→成樁。
錘擊沉管灌注樁施工錘擊沉管樁混凝土強度等級不得低於C20,每立方米混凝土的水泥用量不宜少於300Kg。混凝土坍落度在配鋼筋時宜為80—100mm,無筋時宜為60~80mm。碎石粒徑在配有鋼筋時不大於25mm,無筋時不大於40mm。預製鋼筋混凝土樁尖的強度等級不得低於C30。混凝土充盈係數(實際灌注混凝土體積與按設計樁身直徑計算體積之比)不得小於1.0,成樁後的樁身混凝土頂面標高應至少高出設計標高500mm。
振動沉管灌注樁
振動錘樁振動灌注樁可採用單打法、反插法或復打法施工。
單打法是一般正常的沉管方法,它是將樁管沉人到設計要求的深度後,邊灌混凝土邊拔管,最後成樁。適用於含水量較小的土層,且宜採用預製樁尖。樁內灌滿混凝土後,應先振動5—10s,再開始拔管,邊振邊拔,每拔0.5~1.0m停拔振動5—10s,如此反覆進行,直至樁管全部拔出。拔管速度在一般土層內宜為1.2~1.5m/min,用活瓣樁尖時宜慢,預製樁尖可適當加快,在軟弱土層中拔管速度宜為0.6~0.8m/min。
反插法是在拔管過程中邊振邊拔,每次拔管0.5~1.0m,再向下反插0.3~0.5m,如此反覆並保持振動,直至樁管全部拔出。在樁尖處1.5m範圍內,宜多次反插以擴大樁的局部斷面。穿過淤泥夾層時,應放慢拔管速度,並減少拔管高度和反插深度。在流動性淤泥中不宜使用反插法。
復打法是在單打法施工完拔出樁管後,立即在原樁位再放置第二個樁尖,再第二次下沉樁管,將原樁位未凝結的混凝土向四周土中擠壓,擴大樁徑,然後再第二次灌混凝土和拔管。採用全長復打的目的是提高樁的承載力。局部復打主要是為了處理沉樁過程中所出現的質量缺陷,如發現或懷疑出現縮頸、斷樁等缺陷,局部復打深度應超過斷樁或縮頸區1m以上。復打必須在第一次灌注的混凝土初凝之前完成。
