原理
液體變速器是一種隨負載大小變化而改變輸出力矩的變速器,它能夠產生與齒輪變速器一樣穩定的輸出轉速,還可以像無極變速器一樣隨意選擇輸出轉速。
液體變速器中包括液壓泵、壓力自動調節器、流量閥、液壓推動器,其中壓力自動調節器是由調壓閥和活塞組成。首先動力傳入輸入軸,帶動液壓泵工作,產生的壓力液體通過調壓閥限定液體的壓力;流量閥控制液體的流量;設在流量閥與壓力推動器之間的活塞調整調壓閥所限定的壓力,使調壓閥與活塞組成隨負載大小變化而改變壓力的壓力自動調節器,通過壓力推動器帶動輸出軸轉動。
結構
壓力自動調機器
壓力自動調節器的工作原理如下:當液體通過調壓閥、流量閥進入液體推動器時,只有產生一個比負載阻力大的壓力才能推動輸出軸轉動,若調壓閥限定的壓力比負載阻力小不能推動輸出軸轉動、也提這事沒有出路,就會出現反壓;當反壓升至與調壓閥限定的壓力相同時液體從調壓閥溢出。設在流量閥與壓力推動器之間的活塞,可以在反壓未升到與調壓閥限定的壓力相同時,調節調壓閥使調壓閥限定的壓力升高直至比負載阻力大出某一壓差為止,也就是說,調壓閥限定的壓力總比活塞所處位置的壓力高出這一壓差。如果負載加大,活塞位置壓力增加,活塞與調壓閥之間壓差減小,活塞運動加大,調壓閥限定的壓力恢復活塞與調壓閥之間的壓差。同理,如果負載減小,活塞位置的壓力下降,活塞與調壓閥之間壓差增加,活塞回收,降低調壓閥限定的壓力,恢復原壓差。壓力自動調節器所限定的這一壓差達到了隨負載大小變化而改變輸出力矩的目的,有了上述自動調節器所限定的壓差,只要對流量閥進行準確的控制,就會得到穩定的任何轉數。
壓力推動器
壓力推動器可以採用葉輪推動器或活塞推動器。葉輪推動器是由箱體、葉輪、葉片、噴口、排泄口等組成。液體從噴口進入箱體,在葉片的作用下推動葉輪轉動,葉片之間的的液體在排泄口減壓,葉輪帶動輸出軸轉動。
活塞推動器是由分流器、活塞、曲軸等組成,液體首先進入分流器,它將液體分配到不同運動階段的活塞,推動輸出軸運動,同時也排放掉不同運動階段活塞內的液體。分流器包括罩上的排放管、分流盤、底座及設在底座上的與活塞相連的出入口和輸入管。分樓盤把罩內的空間分為兩半,一半與排放管相通,一半與輸入管相通。分流盤上設有分流孔及孔上的葉片,首先液體通過輸入管進入罩內分流盤上隔板上的一側,從分流盤上的分流孔進入活塞出入口,活塞充滿後,分流盤在分流孔中葉片的作用下也轉到了離開活塞出入口的位置,為下一個活塞繼續沖入液壓。分流盤轉至充滿液壓活塞出入口與隔板另一側的分流孔相通時,液體通過罩上的排放口排除活塞,隔板和分流盤是連為一體的。
工作流程
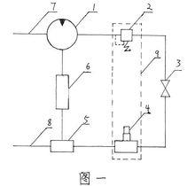
液體變速器工作流程如右圖中圖一,是液體變速器的流程圖:輸入軸7帶動液壓泵1轉動,產生的液壓喔他那個過調節閥2限定液體的壓力,流量閥3調節流量,由活塞4控制調壓閥2組成呀I自動調節器9,它用保持兩點之間的固定壓差來達到內壓隨負載而變化的目的。
液體進入液壓推動器5,帶動輸出軸8轉動,液槽6給液壓泵提供足夠的液體和回收用後的液體。
右圖中圖二是液體變速器中葉輪推動器部分的示意圖。在葉輪推動器工作時,液壓通過噴口10進入箱體11內,推動葉片13帶動葉輪12轉動,專治排泄口14放壓。下有液槽6回收,支架24股東葉輪推動器。
右圖中圖三是液體變速器中活塞推動器部分的分流器示意圖。活塞推動器是由分流器將液壓分配到各活塞,同時將廢液排出而達到推動曲軸轉動的。首先,液壓通過輸入管15進入罩16內,隔板12的一側通過與分流盤18上的分流孔19進入活塞出入口21.活塞充滿後,分流盤18在分流孔19中的葉片20的作用下,也轉到了離開這個活塞出入口21的位置,為下一個活塞繼續沖入液壓。分流盤18轉至充滿液壓的活塞出入口與隔板另一側的分流孔22相通時,液體通過罩16上的排放口23排出活塞,完成一個衝程。分流盤是以罩16上的排放口23和底座25上的輸入管為圓心轉動的。
套用
液體變速器可適用於各種有極或無極變速。以簡單交通工具腳踏車為例,在腳踏車的中軸上安裝一個液壓泵,用腳蹬子帶動,把後軸飛輪換成液壓推動器,在其之間安上壓力自動調節器和流量閥,流量閥的控制柄用軟線延長至車把上,便於控制。在液壓泵下設一液槽,就成為一個無極變速腳踏車,它製造簡單,節省了鏈條及變速齒輪,變速靈活,不易損壞。如果在壓力自動調節器的調節閥上安一個活塞,用於儲存多餘的能量還可以節省人的體力。如果液壓泵用汽油發動機帶動,這就是機車了,如果用在汽車上也會達到很好的效果。液體變速器可以用在工具機上,如工具機用電機帶動液壓泵,用液壓推動器直接帶動主軸轉動,用流量閥精確的控制流量,就可以代替複雜的齒輪變速及潤滑系統,它具有噪聲低、製造簡單、節省原料、提高功效、重量輕體積小等優點。液體變速器還可以製作成各種用處的減速器、加速器等。
優點
液體變速器利用壓力自動調節器使輸出力矩隨負載大小而變化,出現了融合無極變速及有極變速為一體的優點。它變速方便、靈活、不會產生撞擊、不易損壞,能夠產生穩定的轉速。如負載過大,出現超負荷時,調壓閥可起到保護作用,放掉液體以保證機械不受損壞。在使用時,可通過流量閥實現軟起動,以降低發動電機或電機的使用效率,節省能源。
由於液體變速器是有一些簡單的器件組成,所以其結構簡單,維修製造也方便,它簡化了製造工藝,提高了功效。液體變速器所能產生的速比也很大,只要液壓泵能夠產生多大的液壓流量,就能得到相應的轉速,是一種適用範圍很廣的變速器。

