結構
簡單汽化器結構汽化器俗稱“化油器”。汽油機燃料供給系統中最重要的設備。用以使汽油揮發汽化並與空氣形成均勻的可燃混合氣。常由浮子、浮子室、針閥、喉管、噴油管和量孔等零部件組成。由汽油泵送來的汽油從入口處進入浮子室,浮子室內有一與浮子相連的針閥,用來控制油麵使其保持一定的油位高度。汽油從浮子室經過量孔進入噴油管。噴油管出口比浮子室的油麵約高3~5mm,可防止汽油外溢。當活塞向下移動而進氣閥打開時,來自空氣濾清器的空氣就從入口處進入,通過阻風閥而流入汽化器。空氣流過喉管處因流速驟增而形成負壓,汽油便在壓差作用下自噴油管中噴出,被高速空氣吹散成無數細小油滴。油霧沿途揮發並與空氣混合,形成均勻的可燃混合氣,然後進入氣缸。噴油管噴出的汽油量由量孔的直徑決定,進入氣缸的可燃混合氣數量則由節流閥(俗稱“油門”)來控制。按空氣流動方向,有上吸式和下吸式兩類。按構造不同,有單噴油管汽化器和多噴油管汽化器之分。簡單汽化器只能滿足個別負荷十分穩定的小型汽油機的需要。對於工作負荷經常變動的多數汽油機,都必須採用裝有起動、怠速(即空轉)、加濃、加速等一系列輔助裝置的汽化器,才能根據各種負荷變化和不同工況的要求,自動改變可燃混合氣的濃度,以保證發動機的良好工作性能和較低的油耗率。
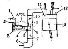
1.汽油入口2.針閥3.浮子4.浮子室5.量孔6.空氣入口7.阻風閥8.噴油管9.喉管10.節流閥11.進氣閥12. 氣閥 3.活塞
工作原理
汽化器汽化器向發動機提供燃油與氣體混合氣的裝置。內燃機完成四衝程循環的時間極短,其中燃油燃燒的時間更短,燃油燃燒不充分會使燃油浪費,甚至造成廢氣污染、管道阻塞。為使燃油充分燃燒,必須使燃油在點火前與空氣充分混合,加大燃油與空氣的接觸面積,使燃燒迅速、猛烈、充分。汽化器即為進行燃油與空氣混合的有效工具。
右圖為一種發動機用的汽化器結構簡圖。燃油室中的燃油量由浮子控制,根據流體靜力學原理,浮子的重量一定,浸入燃油的深度也保持一定。當油麵達到噴油口高度時,浮子上方的針閥恰好將進油口關閉,進油口停止進油。當燃油麵下降到噴油口下方時,浮子也隨油麵向下運動,進油口又被打開而繼續進油,直到油麵重新達到噴油口高度為止。燃油與氣體混合氣的產生裝置是一支兩端粗、中間細的文丘里管,在最細處的喉管部放置一支與燃油室相通的噴管。由於燃油液面與噴口在同一高度,噴口處的燃油壓強即為大氣壓。當高速氣流由進氣口流入時,經過喉管氣流流速更加變大,根據文丘里效應可知,氣流流速加大,壓強會隨之降低,喉管處的氣壓遠小於大氣壓,在內外壓強差的作用下,燃油管內的燃油迅速噴出,與空氣混合形成霧狀混合氣。當噴口處壓強變小,吸出油量會隨之加多,所吸出的油量隨空氣的流量大小改變,故汽化器供給發動機的油氣比能保持恆定。調節與控制油氣比的部位是汽化器的蝶形閥。蝶形閥門的開啟大小,可以控制氣流量以控制油氣比。在一般情況下,油與氣的質量比大約為1∶13,體積比約為1∶9000。油門可以控制注入發動機的混合氣總量,從而控制發動機的輸出功率。油門裝在文丘里管中,外部與油門踏板連線。現代汽化器還添加一些輔助設備,以減少烴類化合物放出,並可利用計算機根據發動機的溫度、荷載和速度來自動控制油氣比與混合氣供應量。
分類
壓力式:一種在燃油泵到排放噴嘴之間形成封閉輸送系統的液壓機械裝置。它根據流過油門的空氣流量來測量流過固定噴射裝置的燃油,並且在正的壓力下消耗燃油。壓力式汽化器明顯不同於浮動式汽化器,因為它沒有把放油的浮動腔或者吸入式抽油器與文氏管中的排放噴嘴結合使用。
浮動式:它基本上包括一個主空氣通道,發動機經過這個通道吸入空氣,它不僅是一種與空氣流量有關的耗油量控制裝置,還是一種可調節輸送到發動機氣缸的油氣混合物的多少的設備。
常見故障及分析
發動機貧油或富油故障
1. 發動機慢車貧油或富油。
當發動機慢車工作時,如果出現貧油狀況,可以通過調節汽化器慢車混合比調節針順時針鏇轉來進行調節;如果出現富油狀況,可以通過調節汽化器慢車混合比調節針逆時針鏇轉來進行調節。注意:如果對其進行調節過度(順時針調節時,彈簧壓得過緊或逆時針調解時,彈簧無壓力),仍然對其貧富油無法調節,這時應該將汽化器送維修單位檢查汽化器內部的慢車油管,看其是否有堵塞或損壞。
2. 發動機中轉速貧油或富油。
當發動機中轉速工作時,如果出現貧油狀況,可以通過調節汽化器順時針鏇轉來進行調節;如果出現富油狀況,可以通過調節汽化器經濟裝置逆時針鏇轉來進行調節。注意:如果出現過度調節,仍然對其貧富油無法控制,這時應該將汽化器送維修單位檢查汽化器內部的浮子與密封墊之間的間隙,來對其進行調整。
3. 發動機出現過富油,並且排氣管有大量黑煙冒出。
首先觀察汽化器衝壓管是否有燃油溢出,如果有燃油溢出,說明汽化器進油活門有外來物進人,活門無法關嚴,燃油一直流進浮子室內,從衝壓管大量溢出,造成過富油情況。在氣缸內的燃氣混合物燃燒不充分,有大量的黑煙從排氣管排出。這時,我們必須把浮子室蓋拆下,吹洗進油活門和進油濾並查明進入外來物的原因,做好有效控制。
汽化器加速泵工作性能不好或不工作
一般是通過觀察加速泵噴嘴噴出燃油的大小和強弱,來判斷該汽化器的加速泵性能的好壞。有些汽化器使用一段時間後,加速泵工作性能不好(噴出的燃油少且弱)甚至不工作,通常要檢查以下幾個方面:
1. 檢查加速泵出油單向活門。拆下出油單向活門,檢查其有無卡阻或堵塞。如果有,建議更換新件。外場在維護時,沒有新件更換可以進行清洗,用乾燥的壓縮空氣對其進行吹洗,用手感受活門是否通暢,然後按手冊規定裝上。
2. 檢查加速泵連桿和活塞的連線狀況。打開浮子室蓋,觀察加速泵連桿與活塞的連線是否脫開,如果脫開,說明加速泵的操作已經失效,加速泵根本就不工作。我們應該找到脫開的環形卡箍並報廢,檢查活塞桿的磨損狀況(建議更換新件)並取下活塞,按照“3”的內容檢査加速泵進油單向活門。用新的卡箍重新連線加速泵連桿和活塞(安裝卡箍有方向要求:卡箍的平面朝上,凸面朝下安裝)。
3. 檢查加速泵進油單向活門。如“2”說明取下活塞後檢查出油單向活門是否有卡阻或堵塞,主要是觀察其球形活門在里是否運動靈活。如果有卡阻建議更換新件,外場如果沒有條件,可用鉤針輕微撥動一下球形活門(注意:不能用力撥動,否則會對活門造成劃痕和損傷)。
如果綜上所述,仍不能解決問題,建議送維修廠家進行翻修,對各個油路進行吹洗,如有必要,還要將加速栗噴嘴拆下看其是否有堵塞。由於目前的航空浮子式汽化器使用的年限較長,加上其本身設計有一定的缺陷,我們在日常的維護和保養過程中,特別要注意防外來物的污染,一旦進入外來物會造成系統工作不正常,甚至造成發動機停車的危險。在每次檢查油濾和對汽化器進行放油時,都應仔細觀察是否有雜質,如有應及時上報,並送維修廠家進行檢查,查明原因。

