工作原理
接地電阻測量儀工作原理為由機內DC/AC變換器將直流變為交流的低頻恆流,經過輔助接地極C和被測物E組成迴路,被測物上產生交流壓降,經輔助接地極P送入交流放大器放大,再經過檢波送入表頭顯示。藉助倍率開關,可得到三個不同的量限:0~2Ω,0~20Ω,0~200Ω。
主要特點
結構上採用高強度鋁合金作為機殼,電路上為防止工頻、射頻干擾採用鎖相環同步跟蹤檢波方式並配以開關電容濾波器,使儀表有較好的抗干擾能力。
採用DC/AC變換技術將直流變為交流的低頻恆定電流以便於測量。
允許輔助接地電阻在0~2kΩ(RC),0~40kΩ(RP)之間變化,不致於影響測量結果。
接地電阻測量儀不需人工調節平衡,3(1/2)位LCD顯示,除測地電阻外,還可測低電阻導體電阻、土壤電阻率以及交流地電壓。
如若測試迴路不通表頭顯示“1”代表溢出,符合常規測量習慣。
總體參數
接地電阻測量儀環境溫度:0℃~+45℃
相對濕度:≤85%RH
2、測量範圍及恆流值(有效值)
電阻:0~2Ω(10mA),2~20Ω(10mA),20~200Ω(1mA)
電壓:AC0~20V
3、測量精度及解析度
精度:0~0.2Ω≤±3%±2d
0.2Ω~200Ω≤±5%±2d
1~20V≤±5%±2d
解析度:0.001Ω、0.01Ω、0.1Ω、0.01V
4、輔助接地電阻及地電壓引起的測量誤差
·允許輔助接地電阻RC(C1與C2之間)
0~2Ω,2~20Ω≤1KΩ
20~200Ω≤2KΩ
RP(P1與P2之間)<40KΩ誤差≤±5%
·允許地電壓(工頻有效值)≤5V誤差≤±5%
5、電源及功耗
最大功率損耗≤2W
直流:8×1.5V(AA,R6)電池
交流:220V/50Hz
6.體積與重量
體積:217mm×217mm×133mm
重量:≤1.8kg
注意事項
1.存放保管本表時,應注意環境溫度濕度,應放在乾燥通風的地方為宜,避免受潮,應防止酸鹼及腐蝕氣體。
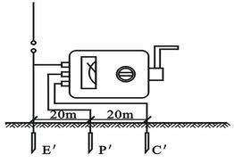
2.測量保護接地電阻時,一定要斷開電氣設備與電源連線點。在測量小於1Ω的接地電阻時,應分別用專用導線連在接地體上,C2在外側,P2在內側。
3.測量大型接地網接地電阻時,不能按一般接線方法測量,可參照電流表、電壓表測量法中的規定選定埋插點。
4.測量地電阻時最好反覆在不同的方向測量3~4次,取其平均值。
5.本儀表為交直流兩用,不接交流電時,儀表使用電池供電,接入交流時,優先使用交流電。
6.當表頭左上角顯示“←”時表示電池電壓不足,應更換新電池。儀表長期不用時,應將電池全部取出,以免鏽蝕儀表。

