基本概述
手錶 的製作及生產都基於一個簡單而機智的發明,這就是“彈簧”,它能夠收緊並儲存能量,又能慢慢地把能量釋放出來,以推動手錶內的運行裝置及指針,達到顯示時間的功能,手錶內的這種彈簧裝置被稱為主彈簧
(Mainspring)。手錶構造手錶由表頭、錶帶(表扣)組成。其中表頭的零部件包括:機芯、表殼、底蓋、鏡面、字面(常說的錶盤)、指針、把的(調時間的,也叫按的)、令(部分表種要求)。
手錶工作原理手錶工作原理,手錶是用來指示時間的一種精密儀器,該儀器的原理是利用一個周期恆定的、持續振動的振動系統作為標準。如果知道了振動系統完成一手錶次全振動所需要的時間(振動周期),並計算出振動次數,那么,振動這么多次之後所經歷的時間就等於振動周期乘以振動次數。即時間=振動周期×振動次數
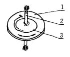
擺軸遊絲機械手錶採用擺輪遊絲作為振動系統,擺輪1固定在擺軸2上,擺軸的上、下軸頸被套在軸承里,可圍繞軸承鏇轉。遊絲部件3的一端固定在擺軸上,另一端被固定在夾板上。由於遊絲的彈性變形使擺輪的運動由轉動變成往復運動。擺輪遊絲系統在擺動時受到軸承的摩擦力、空氣阻力及遊絲的內摩擦等運動阻力手錶的影響,擺動的幅度(振幅)將逐漸衰減,最後直至停止不動。為了使其不衰減地持續振動,就必須定期地給擺輪遊絲系統補充能量,也就是說,手錶中一定要有一個能源裝置。將能量周期性地補充給振動系統是通過一個特殊的機構一一擒縱機構來實現的。擒縱機構還同時用來計算擺輪遊絲系統的振動次數。所以,擺輪遊絲系統和擒縱機構是機械手錶的關鍵裝置。
歷史發展
從19世紀中期有人將計時掛表裝上皮帶,戴在手腕上使用開始,逐步改進、縮小體形、美化樣式,發展成為手錶。
世界上的第一隻手錶是於1868年由百達翡麗製造給匈牙利的Koscowicz伯爵夫人的。但這種形式的鐘表,在當時並不流行。
在1904年,經營珠寶的法國商人路易斯·弗朗索瓦·卡地亞接到飛行員好友亞伯托·桑托斯·杜蒙的投訴:當駕駛飛機時要把懷表從口袋裡拿出來十分困難,希望他協助解決這個問題,以便在飛行途中也能看到時間。因此卡地亞便想出了用皮帶及扣,將懷表綁在手上的方法,以解決好友的難題。而這種綁在手上的懷表,就是現今的手錶。
名表1911年卡地亞正式將這種形式的鐘表商業化,推出了著名的Santos手錶。自此以後,手錶便開始普及。
經歷一個世紀的改進,1967年瑞士人首度將石英鐘做成石英表,手錶之後也由手動/自動上發條的形式,發展到用石英、電子等動力顯示時間,並混合了較為簡單的其他功能,例如計時、月相、量度脈搏等;現代手錶手錶增加了更多複雜的功能,如:電子手帳、MP3、手機等形式。而部分手錶亦同時變成了手飾的一種,重點已不在顯示時間,而在於其設計、品牌、材質(如貴金屬及鑽石)等特徵上。
發展
1914年第一次世界大戰爆發,各國軍方意識到“免手提”腕錶的重要性,這才啟發了一般民眾對手戴腕錶的熱切需求。1926年,發明了第一塊自行上弦的腕錶,從1960年起,傳統的圓形表樣普遍受到民眾的喜歡。瑞士對腕錶的進一步改進,就是把懷表所具有的計時、日曆、陀飛輪及自動發條裝置加以微型化,而裝設於腕錶上。1952年在美國、法國和瑞士各生產出一塊電子表。1967年,納沙泰爾的電子鐘錶中心開發出第一塊石英手腕錶,並在1970年以不同瑞士品牌的名字開始大量生產。自此,新的技術開始快速開發,不同品牌的手腕錶也開始迅速發展。
分類與鑑定
品種詳情
機械錶
機械手錶機械式振動系統的計時儀器,如擺鐘、擺輪鍾等。其工作原理是利用了一個周期恆定的,持續振動的振動系統。把振動時的振動周期乘以振動次數,就等於所經過的時間,時間=振動周手錶期×振動次數。一般由能源、輪系、擒縱機構、振動系統、指針機構和附加機構等幾部分組成。動力--發條或重錘,提供機械鐘工作時的能源,通過齒輪系的增速使一次上條可連續運行多日,擒縱機構使鐘錶的計時頻率符合人們“秒”的慨念,擺舵或擺輪控制著鐘錶的快慢,而報時(報刻)機構則告訴人們:剛才最後一響是幾點了。
電子表
基本部分由電子元件構成。電子鐘錶的工作原理是根據“電生磁、磁生電”的物理現象設計而成。即由電能轉換為磁能,再由磁能轉換為機械能,帶動時分針運轉,達到計時目的。
電晶體擺輪表
就是以乾電池為能源,用電晶體作為開關,擺輪遊絲為振盪系統。
石英表
是用“石英晶體”作為振盪器,通過電子分頻去控制馬達運轉,帶動指針,走時精度很高。電子行針表。即是將電子機芯與石英機芯組合而成的,既有電子顯示又有錶針行走指示的手錶。這類機芯如西鐵城(CitizenMiyotaCo.,Ltd)的T250機芯。
光波表
光動能電波表通過手錶內置的電波接收器和天線,接收由發射塔發出的“標準時間”電波,獲取時刻和日曆等數據,自動校正手錶的時間和日期。標準時間信號採用的是高精度銫原子手錶的理論,十萬年誤差一秒。西鐵城的電波手錶全部採用光動能技術,利用任何可見光源作為能源驅動。只要有光就有能量,只要能接收到電波就永遠不會有誤差。
電子紙手錶
電子紙手錶電子紙手錶是內部裝配有電子紙顯示屏的手錶,其可以顯示時間,星期,日期。實現電子紙技術途徑主要包括膽固醇液晶顯示技術、電泳顯示技術(EPD)以及電潤濕顯示技術等。而套用於電子紙手錶的電子手錶紙主要採用電泳顯示技術。電子紙手錶的顯示亮度及對比度高,完全不需要採用背光方式來提高可讀性。電子紙手錶採用的電子紙顯示,硬體結構簡單,厚度可達1mm左右。是手錶大軍里的新生力軍。
潛水錶
所謂潛水錶,顧名思義指的是經過防水處理、供潛水使用的手錶。一般的防水錶並不能用以潛水,潛水錶一定要符合嚴格的規定,並非防水性夠強就能叫做潛水錶。潛水錶標準防水性能至少達到200米水深的標準;表圈上有一可以單方向鏇轉的外環,用以測量潛水時間;潛水員往往身處灰暗的水中,因此潛水錶的指針、刻度或表面通常須塗有螢光材料,才能讓使用者讀取時間更為簡易。常見潛水錶的品牌有:勞力士,芬蘭頌拓(Suunto)元素系列水靈潛水錶,歐米茄海馬Ploprof系列潛水錶,豪雅競潛系列,萬國表海洋時計系列,Blansacar 超級潛艇系列等等。
著名品牌
勞力士(ROLEX)
由德國人汗斯·懷斯道夫與英國人戴維斯於1905年(清光緒31年)在倫敦合夥經營。1908年,懷斯道夫在瑞士的拉夏德芬註冊了"勞力士商標,由此改為勞力士。勞力士表最初的標誌為一隻伸開五指的手掌,它表示該品牌的手錶完全是靠手工精雕細琢的。手錶以後才逐漸演變為皇冠的註冊商標,以示其在手錶領域中的霸主地位。是全球最具價值10大品牌第3名,唯一手錶品牌。20世紀20年代,勞力士公司全力研製第一隻防水手錶。1926年,勞力士的防水錶正式註冊。勞力士手錶的設計風格一直本著"莊重,實用,不顯浮華"受到各界人士的喜愛,尤其是遠東及中東地區的人士。
浪琴(LONGINES)
浪琴表自1832年在瑞士索伊米亞(Saint-Imier)創立開始,在全球屢屢突破制表技術而傲視同儕,同時又不失體現其優雅風範。1912年,浪琴表在世界運動會中締造了歷史性時刻,——率先運用斷線原理,於比賽場上的起點與終點分別啟動及終止計時裝置。浪琴表自此成為多項國際賽事的指定官方計時器,包括多次冬季與夏季奧運會。浪琴表與航空及航海歷史亦結下不解之緣。譬如浪琴表為飛行家連拔(Lindbergh)首次個人橫越大西洋計算飛行時間,期後更依照連拔的設計製造了Hourangle導航腕錶。浪琴表經常走在科技發展的前沿,於1905年宣告製造出首枚腕錶,於1960年製造出全球最薄的電磁手錶,於1969年研製出全球首枚電子磁性石英表-浪琴Ultra-Quartz超石英表。翌年,於瑞士聖莫里茲(St.Moritz)舉行的世界速降滑雪(DownhillSkiingWorldCup)比賽中,浪琴表首次以數位訊號發放器將時間以電子傳送方式直接顯示於世界電視畫面上。1979年,浪琴表與其它鐘錶品牌合作,研製出「Feuilled’Or」腕錶,成為全球最薄的石英腕錶,其後於1984年推出著名的Conquest腕錶,配備高度準確機芯(VeryHighPrecision)。
雷達(RADO)
瑞士雷達表瑞士雷達表有限公司於1917年成立,至今已有82年的歷史。現公司已有大約300人,在全球有銷售網點大約8000個;維修服務中心大約200家。
在中國手錶市場,雷達表不僅第一個引入自動表,第一個引入不易磨損手錶,而且雷達表獨特的外型設計更促進了中國手錶業的發展;並且,雷達表公司成為同行業中第手錶一個為其產品在華銷售提供專業培訓的外國公司。雷達表已在北京、上海及廣州設有辦事處,在全國近三十個城市設有特約服務網點。
天梭(TISSOT)
天梭手錶天梭品牌始創於1853年,於1983年加入了世界最大手錶製造商及分銷商斯沃琪集團(SwatchGroup)。從始至今一直致力於開發能為顧客帶來驚喜的創新產品。市場零售價:¥1,000-10,000元人民幣。現已擁有運動、經典、經典懷舊、時尚、高科技、懷表、金表七個系列。150年歷史的天梭品牌現今行銷全球五大洲超過150個國家。1853年,天梭表誕生在一個位於侏羅山與法國邊境接壤,只有8500名居民的瑞士小鎮上。時至今日,天梭已經跨越五大洲,贏得了超過150個國家愛表人士的讚譽。天梭150年來所採取的那種嚴肅、不誇張,同時又強調質感的風格,正如同它的工藝和設計一樣,經久不衰,得到了全世界所有客戶的認可。
斯沃琪(Swatch)
做為瑞士名表的典範,有著世界名表中的青春力量。斯沃琪(Swatch)手錶以其時髦繽紛的色彩,活潑的設計以及顛覆傳統的造型,滴答地隨著摩登生活的節奏向前邁進。在斯沃琪(Swatch)之前,沒有任何流行品牌獲得這樣的成就:在極短的時間內,占據全球愛好者的心,地位屹立不搖;除了維持既有的版圖,同時還持續向其它領域延伸度發展。斯沃琪(Swatch)成功的原因並不是秘密:斯沃琪(Swatch)不只是報時的手錶。 斯沃琪(Swatch)品牌定位於時尚的、運動的、音樂的、藝術的……用激情去創造。尼古拉斯·G·海耶克先生(Mr.NicolasG.Hayek)生於1928年,是Swatch集團(總部設在瑞士比爾市)的創始人之一,現任Swatch集團董事長。1985年,海耶克先生在對Asuag和SSIH進行了歷時四年多的重組後,最終促成兩家鐘錶公司合併成立Swatch集團。與此同時,他也攜手一批瑞士投資家成為Swatch集團的控股方。1986年,海耶克先生就任Swatch集團董事長兼執行長。
保養

電子手錶要注意:按按鈕不能用力過猛,以免失靈;液晶板使用五至七年需另換新的;電池無電要及時取出,以免流液腐蝕機芯。發現燈不亮、按鈕失靈、計時突然有較大誤差時要及時修理,可能是元件焊點接觸不良或脫掉了。電子手錶,特別是數字式電子手錶,防水性能一般較差。儘管有的在說明書或後蓋上印有“防水”字樣,也要儘量避免與水接觸。電子手錶的結構與機械手錶不同,都是電子線路和電子元件,萬一進了水,就會是“災難性”的,使整隻手錶報廢。特別是液晶板和集成線,不僅怕水,就是受了潮,時間一長也會出現故障。因此,洗臉、洗衣時最好把表摘下來。下雨時要防止濺上雨水。如果發現電子手錶進了水,或錶蒙子內壁聚有水氣,應立即送修表店進行除水、排潮處理。
皮帶
防止與水份和潮氣接觸,以避免皮帶的變色和變型。
防止長時期曝曬於太陽光之下,以避免皮帶的褪色。
因為皮質便於滲透,防止與油脂性事物或化妝品接觸。
鍍金手錶上的鍍金層大多是14K金,這種黃金除含有58.5%的純金外,還含有一定數量的銀。銀和空氣中的一些揮發性工業廢氣發生反應後,在表面上會產生一層黑色的硫化銀膜,從而使鍍金手錶失去黃金色的光澤。因此,戴鍍金手錶要避免接觸化學物質和廢氣,如煤氣、液化氣和硫磺香皂等,並要經常保持鍍金手錶的乾燥和清潔。最好每周用絨布擦拭一次。另外,汗水中的氯化物對鍍金手錶有很大的腐蝕性,鍍金手錶沾上汗水時應及時擦拭乾淨,以免汗液浸蝕使手錶失去原有的光澤。
鍍黃手錶的鍍黃層是由銅、鋅、鋁合金組成的一層金屬膜,如果保養不好很易褪色失去光澤。在佩戴鍍黃手錶前,應將表殼用乾淨軟布擦拭乾淨,並均勻地塗上一層無色指甲油,乾後再戴,以後每隔1~2個月塗1次。經過這樣的處理以後,不但可以保持鍍黃手錶的色澤,不被磨損,而且還可以增加其外表光亮度,同時在炎熱的夏天還可防止汗水及水氣侵入表內。
石英
①避免強烈衝擊:手錶雖有防震功能,仍應避免突來之衝擊,故做運動時,最好將手錶取下。 ②勿近磁性物品:手錶零件為金屬製品,雖有防磁裝置,但遇磁性物體時,易使時間不準,故最好少放於收音機、電視機等電器品旁邊。③請勿洗石英手錶防水一般是生活防水,只能防止偶爾洗手、淋雨濺到的水,不能戴著洗澡或游泳!
機械錶送修最常見的狀況,不外乎進水和碰撞。機械錶除非標示具有防水功能,否則千萬要避免表殼進水,因為水會造成機械腐蝕,破壞力很強。海水更是碰不得。即使是註明防水錶,也只能有一年的防水保障,因為表的防水圈經過一整年的耗損,加上汗水、灰塵等種種不可避免的外在因素,一定會疲乏,所以一年之後必須換新的防水圈,否則即不具有防水的功能。
防水之外,更要防碰撞。在經濟能力許可的範圍下,不妨有兩、三隻表在日常生活中替換:靜態活動時配戴機械錶,從事運動時則戴運動表,如此用時因地制宜,有助延長表的使用壽命。機械錶是靠機械齒輪及發條的帶動而運轉,轉動難免產生磨擦,所以日久必需加油、潤滑,以減低零件磨損率。否則等到出毛病才送修,往往問題已經很嚴重。機械錶最好每年都要回娘家,檢查看看有無使用不當或進水的情形。尤其台灣的氣候濕熱,汗水、雨水加上髒空氣等長年累積,對機械造成慢性侵蝕,損害的頻率和程度都比歐美、日本偏高很多,所以「定期檢查」非常重要;然後每三年需作一次徹底的清洗、保養。
最保險的保養與送修,交給正統的代理店處理比較安全。內部的清洗必須交給專業師傅,而外部的清潔工作,機械錶主不妨自己動手;以軟毛刷沾清潔液刷洗錶帶,最後以清水沖淨即可。有防水功能的表殼亦可用這種方式清理;不具防水功能的表殼千萬別刷洗。日常清洗外部的工作很重要,因為汗垢、灰塵等即使細微得無法察覺,實際上仍然不斷累積,未加以清洗的話,錶帶會生鏽、腐爛或脆化。所以主人最好勤加清洗。
腕錶進水處理
方法一、手錶如被水浸濕後,可用幾層衛生紙或易吸潮的絨布將表嚴密包緊,放在40瓦的電燈泡附近約15厘米處,烘烤約30分鐘,表內水汽即可水氣。切忌將手錶的表蒙靠近火直接烘烤,以免使表蒙受熱變形。
方法二、將表蒙朝內、底殼朝外,反戴在手腕上,兩個小時後水氣即可消除。如果進水嚴重,最好立即送表店擦油,清除機芯的水分,以避免零部件生鏽。
方法三、用顆粒狀的矽膠與已經積水的手錶一起放進一個密閉的容器內,數小時後,取出手錶,積水即全部消失。此法簡單經濟,對表的精度和壽命均無任何損害。已經多次吸水後的矽膠,可在120℃下乾燥數小時,吸水能力可再生,還能反覆多次使用。
手錶在用儀器測試擺幅的時候,還有幾個重要的相關指標。
(一)擺幅落差:手錶在滿弦和實走24小時以後兩種狀態下,分別測量出兩個平面(面上和面下)和三個垂直面(把下、把左、和把上),這五個位置的擺幅變化,用同位置相比,取最大的差值做為擺幅落差。擺幅落差也是手錶等時性能的一個重要指標,也能體現出發條和遊絲及其設計和裝配的質量,通常要求落差在50度以下。
(二)擺幅平立差:手錶在滿弦狀態下,用手錶的面上的平面位置和幾個垂直位置相比,取最大的差值做為擺幅平立差。擺幅平立差也是手錶位置誤差性能的一個重要指標,通常要求平立差在50度以下。
(三)24小時立面最低擺幅:手錶在實走24小時以後,其垂直面(一般選把左位置)的最低擺幅不能低於180度。手錶在高擺幅的情況下要比低擺幅時候各項性能要好,尤其對於有日曆附加裝置的手錶,24小時立面最低擺幅的要求尤為重要。
手錶擺幅的測量一般是用振幅儀,瑞士早年生產過AM201和GD-50等型號的。它是利用所謂“基角法”來測量的,所以,在測量之前一定要選擇好被測手錶相應的擺輪升角。在使用儀器檢測手錶中,一個完整的檢測單元需要有校表儀和振幅儀。以前的鐘表維修上,只見用校表儀,只有在手錶廠里才能見到振幅儀。說明大家普遍只是重視手錶的快慢精度,而擺幅和精度是同等重要和相互關聯的,擺幅的技術指標不好,落差和平立差過大的手錶,也一定走不好。尤其是在校準擺輪平衡時、調整位置誤差時,必須要參照擺幅,擺幅的概念要求維修人員的鐘表理論水平更高。
真假鑑別
手錶外觀可從外殼、表鏡、錶盤和時分秒針等方面檢查。表殼應沒有砂眼和明顯劃痕,稜角對稱;後蓋與上殼的鏇合處應嚴密;兩隻表環各與表殼的距離相等,安裝耳璜的孔應該在表殼腳尾部的位置居中不偏,孔的深度適當,使表環不易脫落;表鏡應沒有疵點和劃痕,透明光亮;三針安裝正確,針與針、表鏡與錶盤之間應有正確的安全間隙;錶盤和指針鍍層光潔度好,沒有斑痕,錶盤刻度線條或夜光點完整;把頭與表殼之間約有0.1-0.3mm的間隙。
靈敏度
手錶的靈敏度是指它的擺輪自動起擺的靈活性。檢查方法是:
1)將沒有上過發條已經停止走動的手錶輕輕地搖動一下,藉助搖動的力量來觀察秒針走動的情況:如果秒針在很短時間內就停止走動,則說明這隻手錶上足發條後能全部走完(即發條無力矩),靈敏度高;如果秒針長時間繼續走動,則說明這隻手錶上足發條後不能全部走完(即發條還儲存力矩),靈敏度不高或表機有故障。
2)將沒有上過發條停止走動的手錶,慢慢地轉動把頭,觀察秒針起動情況:上條把的轉動越少,秒針起動越早的說明該表的靈敏度越高;反之則靈敏度低或表機有其他故障。但要注意快擺手錶由於遊絲的剛度較大,要比傳統頻率(18000次/小時)的表機要多上一點發條才能起擺。靈敏度高的手錶,上足一次發條後延續走動的時間較長。
錶針與表鏡、錶盤之間以及三針之間都應該保持一定的間距,否則相互產生碰擦而影響表機的正常運轉。檢查時可通過撥針觀察。時針和分針的位置和相互配合是否正常的檢查方法是:將分針和時針撥到3點、9點,觀察兩針是否成直角;撥到6點,兩針是否成直線;撥到12點,兩針是否重合。
上條機構
正常的手錶上條應是輕鬆的。轉動把頭上條時,先覺得較松,漸漸地越上越緊,當不能繼續向前轉動把頭時,說明發條已完全上滿和上條機構工作正常。如果轉動柄頭上條時,發生“喳喳的異常響聲,或者產生頂齒打滑等現象,則說明上條機構有故障。
撥針機構
手錶在撥針時應靈活、可靠和指針轉動均勻。檢查時應著重檢查分輪與中心輪軸磨擦配合的鬆緊度。在撥針時,如果沒有偏松或偏緊的感覺,說明分輪磨擦力正常和加油適量,反之,撥針機件有故障。
石英機芯
國產塑膠石英機芯,價格和質量都很低廉,而且極其耗電,一旦壞了就只能扔了.A貨表一般不採用這類機芯,爛貨基本都是這些。
日本進口一次性塑膠石英機芯,圈內俗稱“黑機芯”,大部分賣家稱之為“日本OS80機芯”。此款機芯,要么不壞,就可持續使用很久,一旦受潮壞了也修不好了,唯一的辦法只有扔掉了..質量相對於國產一次性塑膠石英機芯,稍微好一些.時裝表中多用這類機芯,A貨表中很少用這類機芯。
日本原裝2035石英機芯,國產品牌石英表中檔區多用這類機芯。A貨中低檔石英表也多用這類機芯.此款機芯比較省電,質量也較好,維修成本小.總體來說,性價比還高的。
日本原裝5y30石英機芯,國產品牌石英表高檔區多用這類機芯,例如天王,羅西尼。A貨中檔石英表中也多用這類機芯.此款機芯省電,質量好,一般不大會壞,維修成本小。
日本原裝1L32石英機芯。A貨石英表:歐米嘉中高檔兩針表多用此類機芯。此款機芯省電,質量好,維修成本小。
日本原裝VC101石英機芯。A貨石英表中:浪琴中高檔兩針表多用此類機芯。此款機芯省電,質量好,維修成本小。
日本原裝VX12石英機芯。A貨石英表中:高檔三針表多用此類機芯.雷達高檔A貨表也多用此類機芯.此款機芯省電,質量好,維修成本小。
精工原裝石英表機芯。精工正品石英表基本都用這款機芯.A貨石英表中高檔表不少也用這款石英機芯的,不過成本就高了.此款機芯耗電量小,走時精準,質量好,維修成本小。
機械機芯
廣州明珠機械機芯。因為結構都是模仿日本西鐵城機械機芯的,不少買家就稱其為“西鐵城”機芯,打了擦邊球!圈內俗稱“一次性機械機芯”。此款機芯,模仿了西鐵城機芯,卻沒有繼承其品質,比較容易壞,很難修理好.A貨中很少用,爛貨中普遍使用。
日本原裝雙獅品牌機械機芯。該機芯是日本雙獅品牌的,雙獅算是日本很早的一個品牌了,歷史悠久了。標誌很有特色,兩隻獅子,應該多少有點印象的。A貨機械錶中:中高檔機械錶多用此類機芯,圈內也俗稱“雙獅機”。此款機芯為日本歷史比較悠久的機芯,走時精確,誤差很小,動力強勁。
瑞士2824原裝機械機芯。A貨機械錶中:高檔機械錶多用此類機芯。瑞士正品表中,梅花和英納格機械錶基本都用這類機芯,圈內也俗稱“黃機芯”。此款機芯為瑞士歷史比較悠久的機芯,走時精確,誤差很小,動力強勁。
行業發展
中國是世界上最大的鐘表生產國。中國鐘錶製造業逐漸形成以中小企業為主體的集群式發展結構,民營企業和三資企業迅速擴張(占企業總數70%以上)。已形成廣東珠三角地區、福建、浙江、江蘇、山東、天津等六個主要產區。主要是石英表和電子表的崛起,中國抓住了這個機遇,由此對瑞士高檔機械錶市場產生威脅,瑞士政府不得不出面組建斯沃琪公司生產電子表對抗新興的亞洲國家。中國也是高仿瑞士表的生產大國,微信是高仿表主要供應商。
中國鐘錶行業發展雖然取得長足的進步,但是也不能忽視中國企業及其品牌在國際市場上的信譽度和影響力微乎其微,占據世界70%的產量卻只占世界30%的產值。鐘錶行業存在的問題也是顯而易見的。產業轉型滯後於消費結構的升級;鐘錶產品的結構性矛盾突出。一方面中低檔產品積壓嚴重,其生產能力大量過剩,另一方面,適應高消費的有效供給不足,其技術含量高、質量好的高檔名牌產品仍然依靠進口。因此,當前中國鐘錶行業需要加快技術創新步伐,發展企業的核心技術;努力提高產品品質,打造國產鐘錶精品;搞好產品結構調整,適應市場變化;抓好員工隊伍建設,引進和培養人才等。以此提高中國的中國行業的國際競爭力。
“神舟七號”載人飛船升空後,翟志剛出艙時戴著一隻航天表,這是飛亞達手錶,但它的機芯是上海表業有限公司研發的,為了研發這顆“上海芯”,上海表業有限公司花了兩年。最難的一點是,機芯得符合失重條件,特別是出艙後的外空環境,它的潤滑油在正120度和負90度的情況下不滲透、不凝固,從而保證工作正常。而一般情況下,負50度就凝結了。僅從這個指標考量,上海牌就不比瑞士生產的同類表差。在目前進口表和電子表及國內低端、仿冒產品多面夾擊的情況下,上海牌手錶中一半是不賺錢的,只有10%的中高檔表才有較厚的盈利。
瑞士政府官員和手錶廠商對正面報導中國手錶業發展的文章相當敏感。“報導擊潰了鐘錶王國的至尊優越感,他們感到了來自中國的威脅。他們的廣播電台已經提出這樣的問題:瑞士鐘錶如何才能保住其鐘錶業長期至高無上的地位並捍衛其製造技術呢?他們認為中國製造的機芯質量趕超瑞士頂級手錶只是時間問題。他們將中國視作強勁對手。”
從機芯的技術上看,上海牌已經縮小了與世界名表的差距,在有些指標上已經超過,但是表殼美觀度不如瑞士表。上海表業有限公司機芯設計的技術力量相當雄厚,外觀設計人才則嚴重匱乏。款式缺少浪漫氣息,就缺少競爭力,附加值就不高。
其次是,世界名表的品牌積累長達幾百年,培育費用也相當昂貴,商標頻頻出現在世界性體育賽事和重大會展上,見證歷史事件,與社會名流建立關係,甚至在阿波羅登月時也可看到瑞士表的身影。他們很願意在品牌宣傳上堅持長期、有效的策略,無形資產逐年上升。而上海牌的品牌宣傳一直缺少投入,幾乎不做廣告。
上海牌陀飛輪手錶看起來賣得不便宜,單價1萬美元,但這只是相對價格,在國際市場上只有瑞士同類產品的10%。
還有一個問題涉及手錶文化。中國自產手錶的歷史只有幾十年。建國前是進口表一統天下,文化是外來的。而歐洲手錶從誕生之日起就在培育文化,他們是將手錶當作首飾來打造並佩戴的。中國人長期來將手錶當作計時器,追求的是精確度和耐用性。歐洲人除了計時功能外,更講究血統、款式和美學價值,還有名表俱樂部,以此提升佩戴者的身份。歐洲人將名表擺在大城市最繁華地段的飾品店、古董店和拍賣行里出售,中國人將手錶放在文具店、百貨店或超市里出售。一年一度的奢侈品展銷會上難見中國手錶的影子。歐洲人一人擁有多隻手錶,輪換戴,這叫修養。中國人一隻手錶戴幾十年,這叫實惠。
上海只有匯聯、曹楊等幾家商場裡能集中見到上海牌的身影。南京東路的亨得利是老字號,也許是惺惺相惜吧,他們辟出了全國唯一一個上海牌陀飛輪手錶專櫃。
用途
工藝價值

機械錶需要保養是否太麻煩,在21世紀的今天還需要保養手錶嗎?
世界上並無所謂得失,只是物換星移而已!這是人生的道理。如果我們自己不保重,不吃不喝,當然會喪命,因為吃喝是維持生命的起點。手錶是人造的,當然也不能免於地球的生存規律。人造的物品若能免於這種規律,當真難於想像,也不合實際。手錶自然也遵循這種自然的規律ˉ包括維護保養在內。而也正因為機械錶擁有這樣與人生和生命體的相似性,許多人對機械錶產生一種同類相惜的情感,甚或是對待子女或是情人般的感受,自然和對待大量生產的石英表,損毀即棄的感覺大大不同。
石英表不需仰賴人力,即可在錶盤上規律地轉動,它和人類並無重要的互動關係。依此說來,機械錶像是傳承人類制表工藝、傳統與文化的子代後裔,而每苹石英表只是工業製程下的大量產物中冰冷的物件而已。
機械錶和佩戴者之間親密依賴的關係,是十分微妙的。從技術觀點而言,兩者之間有完全依賴的關係,因為沒有人戴,機械錶就無法運作轉動。不論要不要上鏈,或者是否自動上鏈,腕錶是從戴表者在日常生活中的一舉一動獲得動力。機械錶的運轉完全倚靠人類。比如費時去保養您的機械錶,你可以將之想見成是真情流露、熱愛生命的一種方式,許多機械錶迷都熱衷於這種感覺、熱衷於保養。
當然機械錶和佩戴者之間還存在別的關係,你和腕錶的關係,就如同您和您的愛車一樣!手排檔會比自動排檔好嗎?雖然自動排檔可能比較實用,但我喜歡手排檔,因為它會帶給我直接的機械觸感、產生心靈接觸的感動。舉例來說,機械錶的特點之一是聲音,上鏈時的卡搭聲音,每個表芯的卡搭聲音各有不同的情趣。精緻的表芯、多功能的複雜表芯,所發出的聲音和卡搭聲,比廉價表更安靜、更有規律。尤其是您用手上鏈時,你會感覺到錶冠與姆指、食指間的親密接觸,讓你產生一股不可言喻的心靈悸動。
機械腕錶是可以傳世的永世藝術嗎?
機械錶的可貴之處之一便在於其生命之火,可以永不熄滅。機械錶的運作並不仰賴獨特科技。機械錶可一再修理使用。有些產於十四世紀的第一代古董機械鐘,至今仍隨時間巨輪不停轉動,保持正常的運作功能。威尼斯聖馬克廣場上的鐘塔已有一千多年的歷史,但仍千年如一日地精準擺動!
機械錶的人文意義之所以非凡勝於石英、電子表,便在於它是傳統制表名匠的藝術表征,不僅是零件與齒輪的結合;其極盡複雜的設計理念,更是制表名匠薪火相傳的見證。機械錶是人類夢想與努力的表現。亦是人類豐富創意、獨特發明的真實印證。這些印證、見證大多以父傳子的方式,世代薪傳不息。回異於石英表,機械錶是有生命、有靈魂的藝術。
機械腕錶的製作,真的可以認定是一種藝術嗎?
如果你對這個說法有所疑問,我們不妨以Blancpain為例,來看看製作制表業者眼中的所謂的經典傑作,會遭遇到的艱困挑戰來說明。
制表業者中的經典傑作定義是甚么?
在制表工藝400年來的歷史中,制表大師們創造了六大經典傑作,其製作均需卓越的知識,技術的完全掌握,而且複雜度及困難度更隨著以下所列的經典傑作順序而提高。其他廠牌或許曾在這六大經典傑作中製造過一兩款,而在1988年,Blancpain決定要通過制表藝術的所有「考驗」,同時推出六大經典傑作,以展示可以隨時製造各種經典傑作的能力,並接受制表者所能想像的最艱困的挑戰。
制表師傅創造這六大經典傑作時碰到什麼困難?
第一件經典傑作是超薄表
製作相當困難,因為超薄即表示超精緻。基本上,表芯愈薄,所需要的技術掌握能力和靈巧性愈高。由於空間極小,制表師傅必須非常靈巧,才能完成第一項傑作。除了準確性外,超薄表亦須絕對的清潔性,一粒最小的灰塵就會卡住整個機械,而差一點點機油就會讓表芯停擺。
第二件經典傑作是超薄加上月份、日期、星期和月相盈虧顯示
四項顯示需要增設一些以齒輪、星輪和跳桿所組成的架構,讓每一項資料能在適當的時間更新。例如,顯示星期的轉盤是一個七點式的星輪,稱為周曆輪,每24小時前進一齒。日期顯示也是如此,具有31個齒。月相盈虧顯示器是以相當於兩個滿月周期(每一周期29.5天)的59齒的星輪推動。這項經典傑作的精華在於這些齒輪的獨立運轉,而又能彼此配合,展示互相關連的和諧。
月相表也因而成了Blancpain再生的象徵。他們的制表師傅Charles-AndrePiguet從頭開始參與開發工作,翻遍他深層的記憶。由於沒有設計圖,他以傳統方法重製一個,再由我們繪製設計圖,建立檔案和工具,而後再以今天的半工業法組織此款式腕錶的製程。這款月相表在1984年上市時,是全球最小的月表。
第三件經典傑作是萬年曆錶
萬年曆手錶具有閏年處理能力,每隔四年會顯示一次2月29日,同時具有判斷當月是30天或31天的能力。實際上,此萬年曆錶之日期計算能力是無期限的,全在其記憶置中。制表師傅耗盡了許多時間,使這款腕錶盡善盡美,也使用了業界首創的衛星輪(或12’或48’凸輪)。如同月球是地球的衛星,此衛星輪甚至當靠在轉輪上
時,也沿其本身的軸鏇轉。此衛星輪只有一個齒和三個平滑區,每四年鏇轉一圈,其中三年不會發生任何變化,但每隔四年就會由這個唯一的齒觸推動一個裝置,讓它顯示閏年的2月29日。這種裝置即為閏年記憶裝置,讓腕錶配備閏年調整功能,再次證明了制表師傅的才華。
制表技術之提升到某種程度時,就形成一種完整的藝術,但事實上,人類的技術還遠遠超過閏年記憶┅┅
第四項經典傑作是雙秒追針計時器
制表師傅在十九世紀未發明了機械離合器,再一次領先全球業者。這種精巧的離合器也受汽車工業採用。雙秒針計時器可測量競跑者的跑步時間,也可以利用兩支不同的指針、即標準計時指針和雙秒針,同時測量兩位同時起跑者的跑步時間。競跑時,按下計時器的第一個按鈕,兩支完全不同的指針就開始計時。第一位跑者通過時,按第二按鈕立即停住雙秒針,讀取跑步時間,而標準計時指針繼續行走。計時員讀取跑步時間後,即可按第二按鈕使雙秒針回到原位,雙秒針在瞬間之內回到計時位置,可再次用於計時功能。
制表大師的這項成就再一次展示他們不怕挑戰、有能力發明功能更複雜、更精確的機械。停止一支指針而不會停止腕錶的運作,在過去是完全不可能的任務。同樣地,雙秒針之再進入表芯,和行走中的標準計時指針同步計時,也是非凡的成就。萬年曆錶內所使用的機械式記憶,也同樣巧奪天工。
第五項經典傑作是極度準確的巔峰之作Tourbillon
消除了地心引力對機械式腕錶的影響。腕錶本身以地心引力上鏈,更以地心引力增進其性能!原理非常簡單。表芯內有一片可在限定範圍內自由運動的金屬塊。地心引力將它向下拉動時,此金屬塊使能量回收系統動作,回收此過程中所產生的機械能,貯存在一條彈簧中,作為指針行走的動力。視腕錶在手腕上的位置而定,地心引力對負責腕錶滴答擺動的擺輪多少會產生一些影響,因而視擺輪朝上或朝下而定,表芯的規律性會受影響。
因而,制表大師發明了擒縱裝置,抵消地心引力所形成的誤差。簡而言之,擒縱裝置朝地心鏇轉時,由於地心引力對擒縱裝置的影響,節奏會變快。反之,如果它朝離開地球方向鏇轉,則會產生對等的相反誤差,而由計時器自行修正。這是一項創新之舉,腕錶的能量不但用於鏇轉指針,還能提高腕錶的準確性。以這種陀飛輪,機械式腕錶避免了地心引力所造成的誤差。不論配載者的姿勢如何,腕錶都以相同的規律精準地運轉。
當然,最後一項經典傑作是最艱難的作品∶三問報時表
此制表工業的登峰造極之作,能報出時分,讓你在各種環境下,例如在夜間可以「聽到」當時的時間,而不必「看」表。到底機械式腕錶是如何以聲音報時報分的呢?
時鐘以聲音報時、刻及半小時。而三問表更為出色,以聲音準確地表示時和分。以1點47分為例,啟動報時機構時,就可聽見一聲「叮」表示一點,然後三聲另一種「叮」聲,每一個叮聲代表一刻鐘,隨後是兩個短促的「叮」聲,表示1點45分再加兩分鐘。這三種不同的聲音讓你知道時刻和分鐘。此外,它特別分成兩種音調∶高音及低音。低音代表時、高音代表分,而刻則以這兩種音調之綜合表示之。
真正令人詫異的是∶為了達成這項結果,制表師傅在腕錶內容許某種分裂。腕錶運轉、持續地顯示時間時,表殼內產生表芯功能的某種重現,在腕錶主人按下按鈕時,它以感應器讀取當時的確實資訊,並以機械式儲存此資訊,再將此資訊傳輸至報時系統。此腕錶以聲音報知時、刻、分所需時間約一分鐘,而在此同時,腕錶持續地運轉。報時聲音停止時,表芯停止其附屬功能,恢復正常運轉。然而,制表師傅並不以此項成就為滿足,他們把所有情況都列入考慮。例如在在59分的特殊情況下,分鐘之報時聲音會「太晚」出現,因而他們發明了一種精妙無比的機構,稱為「詫異」,在時間變化造成報時不正確時,立即中斷報時音響。這種複雜的功能和盡善盡美性,正足以證明高階腕錶的製造已超越了工業的範疇,抵達了藝術的境界。
腕錶表匠的責任感、樂在工作、投注漫長數月及揮灑想像力的熱情
在制表業,為考量腕錶之生產及品質控制,通常由數名表匠分工製作同一隻腕錶。因為每位接手他人作品的表匠,在開始本身的工作前,皆須對腕錶進行品質檢查。
在制表傳統中,通常由女性擔任校準的工作。校準腕錶與組裝腕錶大不相同∶傳統上是由男性扮演組裝腕錶的角色。組裝腕錶只需技工與螺絲,但校準腕錶的工作,則涉及需以耳朵仔細聆聽後,再進行調整、控制的細小平衡彈簧。很多表匠無法忍受此程式。
此情形對大部分的腕錶生產相當重要,但並非高階腕錶生產的標準。舉例來說,在製造「極盡複雜」的腕錶時,很難想像分工合作的情形。每一個製造環節是如此複雜、密不可分,以致於每次只有一位表匠能清楚知道每個細節。這就是為什麼追求極致完美的表廠,在最後三個複雜設計中,維持「同一表匠」的作業模式。而在其他設計部分,才可以分工方式進行組裝、校準、及裝殼作業。
在一般的工業製造中,大量生產可締造快速的學習曲線。但高階機械腕錶的小規模生產則剛好相反,它必須時時維持警覺心,在傳統與現代解決方案中,不斷地進行檢討、權衡與抉擇。但不變的真理是∶凡事取決於人類智慧、與道德責任。對於獨坐板凳、連月彎腰打造一隻腕錶的表匠而言,他所面對的是他的職業責任感、那股讓他樂在工作及揮灑想像力的熱情。投注漫長數月的時間,只為打造一隻名表,他的辛苦付出是為了誰?他是否曾想過將其精心之作載在手腕的人?他是否對其投入心力的作品,產生個人責任感?以需要依序鎖緊數十個螺絲釘的制表匠們,施力時,力道要剛好-足夠、但不要太用力,每當鎖緊螺絲時,都必須將整顆心也投注進去。化每個動作為愛的動作。想一想將配載此腕錶的人,那個讓你費盡心思的人。
投注這樣的心力製作出來的手錶,自然堪與繪畫和雕刻等一樣,擠身藝術品之列。
腕間愛意
情侶對表節日期間,人們總會選擇送心愛的人手錶來表達愛意,代表自己的心。牛郎織女鵲橋相會,作為中國最傳統最浪漫的情人節,表達愛意需要巧妙構思。不妨選擇一款情侶對表,把愛意寫在腕間。
很多品牌都推出了自己的情侶對表,為了製造浪漫氛圍,卡西歐腕錶推出的時尚情侶對表,將優雅璀璨的SHEEN系列和運動激情的EDIFICE系列進行創意組合!呈現你最愛的那一抹腕間風情。送給孩子,記錄他成長中的點點滴滴,讓其感受到濃濃的愛與期望;送給爸媽,刻下那無法言語的愛,讓字字的思念和句句的牽掛帶去對父母深深的祝福;送給戀人,為其書寫浪漫情書,刻下愛的誓言,讓愛情升溫;送給好友,可以在表上刻下您友情故事,或是一些悄悄話,或是幾句貼心的話語,都會加深朋友之間的友誼;送給客戶,將拉近彼此間的商界友誼,成為客戶長久珍藏的最佳禮品。
保值功能
1.高級腕錶具有保值增值性。
一些高端腕錶每年的增值幅度都在20%~30%以上。這些產品體積小、價值大。一塊腕錶動輒幾十萬上百萬,既方便攜帶和儲藏,同時也便於傳承。這一特點主要吸引的是鐘錶收藏家和中介人,其中有近一半的資產超過5億人民幣的富豪群體購買限量版腕錶的目的就是為了收藏。
2.高級腕錶做工精良,富含文化底蘊,是最好的“禮物”。
集合了精密技藝的高端腕錶本身就是藝術品,適於觀賞、收藏和商務饋贈。這一點對鐘錶愛好者有著很大的吸引力,這一觀點在資產為5000萬人民幣左右的高端消費者領域中特別得到認可。他們在向別人饋贈禮品時會更多地選擇名表作為商務活動的高檔禮品,因為他們認為知名品牌的腕錶是成功人士的代表,寓意雋永,還具有一定的保值性,最易受到受禮方的肯定,是展示誠意、表達感謝的最佳方式。
佩戴禮儀
佩戴手錶若要正確無誤,自然先要了解手錶,並且善於選擇手錶。選擇手錶,往往應注重其種類、形狀、色彩、圖案、功能、材質等六個方面的問題。
(1)種類
A.按照價格分類
NEON手錶根據標準的不同,手錶可以分為許多不同的種類。在社交場合,人們一般都是依據價格來區分其種類的。按照這個標準,手錶可被分為豪華表、高檔表、中檔表、低檔表等四類。以時價而論,豪華表價格在10000元以上,高檔表在2000~10000元之間,中檔表在500~2000元之間,低檔表在500元以下。選擇手錶的具體種類時,首先要量力而行,不要作力不從心的事。另外,還要同時顧及個人的職業、露面的場合、交往的對象和同時所選用的其它服飾等一系列相關因素。
B.按照風格分類
根據手錶風格不同,手錶還可以分為時尚手錶(如浪琴品牌手錶),潮流手錶(如阿瑪尼品牌手錶),休閒手錶(如天梭品牌手錶),運動手錶(如卡西歐品牌手錶),商務手錶(如NEON品牌手錶)。
(2)形狀
手錶的造型往往與其身價、檔次有關。在正式場合所戴的手錶,在造型方面應當莊重、保守,避免怪異、新潮。男士,尤其是位尊者、年長者更要注意。造型新奇、花哨的手錶,僅適用於少女及兒童。一般而言,正圓形、橢圓形、正方形、長方形以及菱形手錶,因其造型莊重、保守,適用範圍極廣,特別適合在正式場合佩戴。
(3)色彩
卡西歐手錶選擇在正式場合所戴的手錶,其色彩應力戒繁雜凌亂,一般宜選擇單色手錶、雙色手錶,不應選擇三色或三種顏色以上的手錶。不論是單色手錶還是雙色手錶,其色彩都要清晰、高貴、典雅。金色表、銀色表、黑色表,即錶盤、表殼、錶帶均有金色、銀色、黑色的手錶,是最理想的選擇。金色表殼、錶帶、乳白色錶盤的手錶,也能經得住時間的考驗,在任何年代佩戴都不會落伍。
(4)圖案
除數字、商標、廠名、品牌外,手錶上沒有必要出現其他沒有任何作用的圖案。選擇使用於正式場合的手錶,尤其需要牢記此點。倘若手錶上圖案稀奇古怪、多種多樣,不僅不利於使用,反而有可能招人笑話。
(5)功能
記時,是手錶最主要的功能。因此,正式場合所用的手錶,不管是指針工、跳字式還是報時式,都應具有這一功能,並且應當精確到時、分,能精確到秒則更好。只精確到時的手錶,顯然不符合要求。有些附加的功能,如溫度、濕度、風速、方向、血壓、步速等等,均可有可無,而且以無為好。總之,手錶的功能要少而精,並要有實用價值。
(6)材質
現有手錶表殼材質包括合金、鋼、陶瓷、矽膠等四大類,合金手錶一般價格在300元以下,而鋼表價格則在1000元以上(如天梭手錶大多以鋼表為主),陶瓷表根據陶瓷材質的差異,價格在500~2000元不等,矽膠表殼的手錶價格則以100元以下居多。
古董表收藏
一隻古董表,不僅僅擁有記錄時間的現實功能,且它的藝術裝飾和精巧技藝更折射出它“出生”的那個年代、那個地域的社會、文化背景。靜靜地欣賞、輕輕地摩挲與把玩,便仿佛走進了過去那個久遠的年代。
中國是世界上最早發明和使用計時工具的國家,在世界鐘錶發展史上寫下了燦爛的一頁,為古董表的收藏奠定了良好的基礎。在中國,較之瓷器、錢幣和字畫的收藏而言,古董表的收藏儘管起步較晚,但發展迅猛。古董表的價值由品牌、年代、表面、錶盤及其數字式樣決定,百年以上的古董表都是手工製作,存世極少,價格不菲,遠較同時代的古玩、字畫的價格更高,具有很大的升值潛力。
古董表每一樣收藏都有其學問,古董表亦不例外。首要問題是要弄清楚其產地、年代、質量、功能、款式及機械構造等方面的情況,耐心查看錶盤和機芯後板,以及表殼等,通過其落款來決定是否購買。表牌名稱的寫法要與原來的一模一樣,稍有不同就有問題,許多假表的錶盤都是用翻寫和仿寫的方法來製造的。
其次,要注意其品相,包括機芯和輪軸是否完好、外表是否有裂痕、配飾是否齊全、走時是否精確,並選擇式樣奇特、少見,或鑲有珠寶、彩繪以及琺瑯等,而且最好是出自名家的鐘表,千萬不可光看錶殼。
再次,古董表收藏也和其他收藏一樣,要選擇專題,比如集名表、集外國表、集中國表、集藝術表等等。初涉古董表收藏者,應以收藏上個世紀30年代至50年代的古董表為宜,因為這時的古董表不僅款式較多,而且價格適中,資金上可以承受。
國際市場以投資真、精、新的古董表較有價值。所謂真,就是不能假;精,一定要是同類產品中的精品;新,是說古董表要完美如新,絕對不能是破舊或殘缺不全的。市面上的古董名表主要有勞力士、伯爵、百達翡麗、卡地亞、蕭邦、帝陀、浪琴等。在國內外古董表收藏市場上,出自名門的古董表價格一路看漲,以百達翡麗為例,一隻20世紀50年代的萬年曆錶,在20世紀80年代初售價僅為1萬美元,在20世紀末紐約蘇富比古董鐘錶拍賣會上就以1100萬美元成交。
古董表收藏在中國也逐漸升溫,被越來越多的收藏家所喜愛,價格呈上升趨勢。1813年英國倫敦表廠專為中國製造銷售的彩瓷珍珠18K金袋錶,現每隻估價為50萬港元,20世紀50年代瑞士製造的勞力士、歐米茄、天梭等舊手錶的價格也在數千元乃至上萬元。
選購知識編輯
你要怎么選購一個適合你的手錶.其實這是連資深表迷有時也會比較困惑的問題,隨著經濟狀況、審美意識、品牌觀念、消費層次以及品位的變化,每個表迷或多或少會對自己的選擇有所懷疑。
表店的選擇
瑞士名表對於新手來說,選擇正確的表店對自己是一種保障。雖然有些途徑可能買到更低的折扣,但是風險也隨之變大,畢竟對於新手,可靠的賣家是唯一的可取之道。
表店的選擇應考慮的幾個方面
一.表店的規模:應選擇老字號的表店,有良好的信譽,並且具備一定的規模。這樣,可以保證有更多的品牌和款式的選擇,表店越大,自然選擇的範圍就越大,最重要的是不用擔心表店會倒閉而影響售後服務。
二.專賣店:最為可靠,服務更專業的,是一些獨立品牌的專賣店。專賣店有不同的層次,最好選擇由公司直接開設的專賣店,代理性質的稍遜。從售前到售後,專賣店都具備一定的優勢,所以在選定品牌後就可以考慮到專賣店選購款式了。
品牌的選擇
無論是新手還是表迷,在品牌的選擇上同樣會有猶豫。這個世界好品牌實在太多,誘惑也太多,如果要下決心買表,那么就必須在買表之前確定你所需要的牌子。
一.品牌的認知:作為一個新手來說,最基礎的參照恐怕就是根據自己所熟悉或者了解的品牌。通常,名表指的就是眾所周知的表,名表的品質一般不會遜色。
二.品牌的檔次:無論在哪裡都會有人以品牌區分檔次來判定價值。
三.品牌的系列:在選定品牌之後,新手偶爾也會對種類繁多的不同系列有所困惑。這個選擇並不困難,每個品牌都會設定一些不同檔次的系列供不同需求的消費者選擇。
款式的選擇
關於腕錶款式的選擇,每個人都會有不同的想法,非常主觀。這裡筆者僅僅提供一些參考和建議,並不能真正替代消費者最終的選擇。
一.表款的風格:每個品牌都有自己的風格,比如:
PANERAI(沛納海)的時尚面盤、特殊表耳以及44毫米的直徑;比如百年靈(Breitling)複雜的面盤和表圈,以及飛行運動的特點;比如積家(JaegerLeCoultre)纖薄的機芯,翻轉的表殼等。
二.表款的功能:對於腕錶的使用者來說,腕錶是看時間的,完全可以不考慮表款功能。不過隨著對腕錶認識的深入,大多數表迷都會選擇不同功能的表款。
價格的選擇
任何選擇都離不開經濟基礎。沒有錢,所有的選擇也就變成了無謂的意淫。那么,怎么樣的價格適合您呢?
一.原則:一直強調,買表要量力而行。很早以前就看過著名的鐘表評論家朱磊先生關於怎么買表的文章,提到一個原則———以兩個月的月薪買一支表作為基準。相信這個原則對工薪階層來說很實用,既不影響日常的生活,又符合了佩帶者的身份。
二.定位:即使是表迷,通常也
真偽鑑別
一.機芯部件
二.看標籤
三.看表面玻璃
四.看號碼數字標識
五.看圖示印記
六.看鑽石及鑲嵌工藝
挑選方法
檢查外觀
外觀可以從表殼、表玻璃、錶盤、錶針等方面來檢查。
靈敏度
手錶的靈敏度是指手錶中擺輪自行“起步”的早遲。檢查方法一種是將沒有上過發條停止走動的手錶,輕輕搖動一下,藉助搖動的力量,觀察秒針走動的情況;如果秒針在很短時間內就停止走動,說明這隻手錶上足發條後能夠全部走松,靈敏度比較高;如果秒針長時間地繼續走動下去,說明這隻手錶上足發條後不能全部走松,靈敏度不高,或者是內部機件有故障。
效能
正常的手錶,轉動上條柄軸上發條時,先是覺得比較松,漸漸地越上越緊,當不能再繼續向前轉動時,說明發條已完全上緊。
錶針
錶針與表玻璃之間,三支錶針相互之間,錶針與錶盤之間,都應該保持一定的間隙,如果相互擦碰,就會影響走動。
鬆緊度
這是檢查走針部分的機件安裝是不是正常。
走動聲音
聽手錶走動時有沒有不正常的聲響,只能判斷手錶有沒有特殊的毛病,不能斷定這隻手錶的好壞。
生活用品全盤點(四)
| 生活用品,指的是生活中常用的一些物品的統稱,例如牙膏,臉盆,衣架等 |
![手錶[戴在手腕上的計時儀器] 手錶[戴在手腕上的計時儀器]](/img/6/6f5/nBnauM3XygTNyEzN2cDO3QTN5MTM4UjM3UzMxADMwAzMwIzL3gzL2gzLt92YucmbvRWdo5Cd0FmL0E2LvoDc0RHa.jpg)
