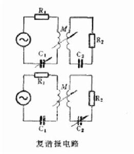
復諧振的條件
在實際情況中,互感耦合諧振電路多用作放大器的調諧迴路放大信號,並從次級儘可能獲得最大功率輸出。實現這一目的的方法之一就是在調節電抗X1(或X2)實現初級或次級部分諧振的基礎上,調節互感時,使初級等效電路或次級等效電路滿足最大功率傳輸條件。我們把電路的這種諧振狀態稱為復諧振。簡而言之,復諧振就是滿足最大功率傳輸條件的部分諧振,或者說是最佳部分諧振。由此可知,復諧振的條件如下:
復諧振 初級部分復諧振時:
復諧振 次部復諧振時:
復諧振
復諧振 滿足復諧振條件的初、次級耦合稱為最佳耦合;其互感抗稱為最佳互感抗。由復諧振的條件可得最佳互感抗為:
復諧振
復諧振 式中:
ωM為調節X和互感達到復諧振時的最佳互感;ωM為調節X和互感達到復諧振時的最佳互感。
在復諧振條件下,無論是初級諧振還是次級諧振,次級電流可能的最大值是一樣的。
全諧振
圖2
復諧振 調節初次級迴路的電抗(調C1和C2),及初次級間的耦合(調M),使次級迴路電流達到可能達到的最大值,其最大值。這種將兩迴路都調諧到信號頻率,而且選擇了最佳耦合的調諧叫做全諧振。
復諧振變換器
電壓諧振變換器中電晶體開關進行零電壓通/斷時,會給二極體加上急劇變化的電壓,由於二極體的反向恢復特性而導致寄生振盪。為此,在二極體兩端也接人諧振電容,構成使之與
圖3 電晶體、二極體進行開關工作的電路結構。這種利用多個諧振的電路結構稱作復諧振變換器(Multi resonant converter),降壓型電路實例如圖3所示。
這種復諧振變換器由2個諧振電容對諧振電壓經行分壓,因此,可以降低電晶體開關的諧振電壓峰值。
復諧振型變換電路
圖4 準諧振變換電路使用諧振開關,閥器件以零電壓或零電流開關動作,但不保證開通和關斷兩類動作都是以零電壓和零電流的開關方式進行。比如,電流諧振型開關的開通大多以零電流非零電壓開關方式動作,而電壓諧振型開關的關斷大多以零電壓非零電流開關方式動作。而且,斬波電路的續流二極體和DC-DC變換器的整流二極體的開關動作也不保證都是以零電壓、零電流開關方式。在這種情況下,二極體和閥器件在開關動作時會產生過渡過程中的電壓突變或電流突變,並以此為誘因引起二極體和閥器件的結間電容與電感成分的諧振電路產生高頻寄生振盪。因此,根據需要另加L、C元件以抑制寄生振盪引起的災害,這種方式稱為 復諧振型變換電路。
圖5
圖6 圖4所示為電壓復諧振型降壓斬波器的電路結構。與電壓諧振型降壓斬波電路比較所不同的是,輔助諧振電容Cx與續流二極體D是並聯連線的。電壓諧振型降壓斬波電路中D的關斷動作近乎於硬開關動作,引起D的寄生電容Cx與Lr之間產生高頻振盪,在v上產生高頻振盪電壓。圖5表示在狀態3期間振盪電壓疊加在電壓V上,結果,即使減少閥器件的開通時間(t3~t1),V的平均值也不會單調減小,輸出電壓E的控制變得不穩定。為此,增加了輔助電容Cx,使Lr、Cx的振盪頻率推移到低頻側與諧振開關的諧振現象相調和,這種電路為電壓復諧振型降壓斬波電路,其動作波形如圖6所示,將V的浪涌電壓成分濾除後,V的平均電壓相對於閥器件的開通期間(t3~t1)單調變化的範圍擴大了。但並不是對於所有的負載範圍和動作頻率都能改善控制特性,所以必須預估負載的波動範圍和頻率動作範圍以確定Cx的大小。

