介紹
彈簧圓錐破碎機工作原理
彈簧圓錐破碎機工作特點
錐沿著定錐內表面作偏鏇運動。在動錐靠攏定錐的區段,該處物料受到動錐的擠壓、撞擊和彎曲作用,成為破碎腔;在動錐偏離定錐的地方,已被破碎的物料在自重作用下從錐底卸出,成為卸料口3,物料從進料口4裝入。
1)動錐連續轉動,物料的破碎過程和卸料過程沿工作表面交替連續進行,生產率高。
2)物料夾在兩錐體之間,受到擠壓、彎曲和剪下作用,破碎較容易,動力消耗較低。
彈簧圓錐破碎機3)產品料度較均勻,呈立方體形狀,動錐工作表面的磨損也較均勻。
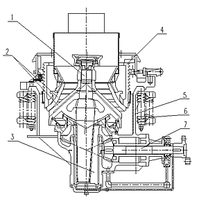
4)結構簡介,圓錐破碎機其結構主要有機架、水平軸、動錐體、平衡輪、偏心套、上破碎壁(固定錐)、下破碎壁(動錐)、液力偶合器、潤滑系統、液壓系統、控制系統等幾部分組成.
5)動錐和定錐都是正置,動錐擺動時,在破碎腔出料口附近,動錐與定錐之間有一段間隙相等的平行帶,使成品料度均勻。進料口尺寸不大,能夠處理的都是經過初次破碎的物料。
6))本系列圓錐破碎機採用乾油或者水兩種密封方式,使灰塵雜質無法進人機體內,從而保證了潤清油的清潔,延長了滑動軸承、推力球軸承的使用壽命,使得機器運轉可靠.
用途
圓錐式破碎機廣泛用於冶金、建築、築路、礦山、石礦場等行業,可以破碎中等和中等硬度以上的各種礦石和岩石。性能特點
1.用戶可根據生產需要,選擇破碎效率高、產品粒度均勻、粒型合適的破碎腔型。2.獨特的防塵密封結構,延長了潤滑油的更換周期和零件的使用壽命。
3.關鍵零部件採用特殊材料製作,支持大破碎力。
4.破碎臂長,衝程大,破碎力大,產量高。
技術參數
| 型 號 | 破碎錐 直徑 | 進料口尺寸 | 出料口 調整範圍 | 最大進料邊長 | 處理能力 | 偏心套轉速 | 功率 | 重量 |
| (mm) | (mm) | (mm) | (mm) | (t/h) | (r/min) | (kw) | (T) | |
| PYB600 | Ф 600 | 75 | 12-25 | 65 | 40 | 356 | 30 | 5 |
| PYD600 | Ф 600 | 40 | 2-13 | 35 | 12-23 | 356 | 30 | 5.5 |
| PYB900 | Ф 900 | 135 | 15-50 | 115 | 50-90 | 333 | 55 | 11.2 |
| PYZ900 | Ф 900 | 70 | 5-20 | 60 | 20-65 | 333 | 55 | 11.2 |
| PYD900 | Ф 900 | 50 | 3-13 | 50 | 15-50 | 333 | 55 | 11.3 |
| PYB1200 | Ф 1200 | 170 | 20-50 | 145 | 110-168 | 300 | 110 | 24.7 |
| PYZ1200 | Ф 1200 | 115 | 8-25 | 100 | 42-135 | 300 | 110 | 25 |
| PYD1200 | Ф 1200 | 60 | 3-15 | 50 | 18-105 | 300 | 110 | 25.3 |
| PYB1750 | Ф 1700 | 250 | 25-50 | 215 | 280-480 | 245 | 160 | 50.3 |
| PYZ1750 | Ф 1700 | 215 | 10-30 | 185 | 115-320 | 245 | 160 | 50.3 |
| PYD1750 | Ф 1700 | 100 | 5-13 | 85 | 75-230 | 245 | 160 | 50.2 |
| PYB2200 | Ф 2200 | 350 | 30-60 | 300 | 590-1000 | 220 | 280/260 | 80 |
| PYZ2200 | Ф 2200 | 275 | 10-30 | 230 | 200-580 | 220 | 280/260 | 80 |
| PYD2200 | Ф 2200 | 130 | 5-15 | 100 | 120-340 | 220 | 280/260 | 81.4 |
彈簧圓錐破碎機結構性能
1,更高的產能,更好的質量。2,由於有保險裝置,大大減小了停機時間。3,機體為鑄鋼結構,在重載部位設定有加強筋。4,含調整器,可快速調整破碎出料粒度的大小。5,提供彈簧式保護裝置。6,具有完整的潤滑系統,當有溫過高或有流速過慢時將自動關閉。7,內部結構密封性能好,可有效的保護設備免受粉塵及其他小顆粒的侵害。8,使用壽命較長適用性強。
