定滑輪信息
定滑輪定滑輪的中心軸固定不動。定滑輪的功能是改變力的方向,但不能省力。當牽拉重物時,可使用定滑輪將施力方向轉變為容易出力的方向。使用定滑輪時,施力牽拉的距離等於物體上升的距離,不能省力也不費力。繩索兩端的拉力相等,所以,輸出力等與輸入力,不計摩擦時,定滑輪的機械效率接近於1。
歷史
關於滑輪的繪品最早出現於一幅西元前八世紀的亞述浮雕。這浮雕展示的是一種非常簡單的滑輪,只能改變施力方向,主要目的是為了方便施力,並不會給出任何機械利益。在中國,滑輪裝置的繪製最早出現於漢代的畫像磚、陶井模。在《墨經》里也有記載關於滑輪的論述。
滑輪古希臘人將滑輪歸類為簡單機械。早在西元前400年,古希臘人就已經知道如何使用複式滑輪了。大約在公元前330年,亞里士多德在著作《機械問題》(《Mechanical Problems》)里的第十八個問題,專門研討“複式滑輪”系統。阿基米德貢獻出很多關於簡單機械的知識,詳細地解釋滑輪的運動學理論。據說阿基米德曾經獨自使用複式滑輪拉動一艘裝滿了貨物與乘客的大海船。西元一世紀,亞歷山卓的希羅分析並且寫出關於複式滑輪的理論,證明了負載與施力的比例等於承擔負載的繩索段的數目,即“滑輪原理”。
1608年,在著作《數學紀要》(《Mathematical Collection》)里,荷蘭物理學者西蒙·斯特芬表明,滑輪系統的施力與負載之間移動路徑的長度比率,等於施力與負載之間的反比率。這是雛型的虛功原理。
1788年,法國物理學者約瑟夫·拉格朗日在巨著《分析力學》(《Mécanique analytique》)里,使用滑輪原理推導出虛功原理,從而揭起了拉格朗日力學的序幕。
定滑輪介紹
定滑輪實質是個等臂槓桿,動力臂L1、阻力臂L2都等於滑輪半徑。根據槓桿平衡條件也可以得出定滑輪不省力和不省距離的結論。像旗桿頂部的滑輪那樣,固定在一個位置轉動而不移動的滑輪叫定滑輪。
定義:使用滑輪時,軸的位置固定不動的滑輪,稱為定滑輪。
根據槓桿定理可得,定滑輪的實質是一個等臂槓桿,使用定滑輪可以改變用力的方向,但是使用定滑輪不能省力,不可以省距離。
定滑輪的作用是改變力的方向目的和要求。
定滑輪實驗
實驗器材
演示滑輪組(J2121型),測力計二個,鉤碼,細繩及支架。 它的作用是改變用力方向,不象動滑輪是只改變力的大小,不改變力的方向。
實驗步驟
1、取一單滑輪固定在方座支架上,構成一個定滑輪。用細繩跨過滑輪,細繩的一端掛上鉤碼作為阻力,鋼繩的另一端掛一測力計。
2、用手豎直向下勻速拉測力計,當滑輪平衡時,觀察測力計,眼睛平視讀數。
3、改變測力計拉力的方向(水平、斜向下、向下),當滑輪平衡時,記下各測力計的讀數。
4、改變所掛鈎碼的重量,重複三次上述實驗,並記下各次測力計的讀數。
5、分析實驗數據得出的結論:使用定滑輪不省力,但是可以改變力的方向。
優缺點
定滑輪,物理上給它的你定義是軸的位置固定不變的滑輪。定滑輪在使用的時候雖然它不可以省力,但是它可以改變我們力的方向,同樣它也費距離。
定滑輪就是一種固定不動的滑輪,它的固定並不是簡單的固定不動,而是滑輪的中心軸固定不動。定滑輪的主要優點就是可以改變力的方向,當我們使用定滑輪來拉取一個很重的物體的時候,並不是很好用力,但是我們可以通過一個定滑輪來將力的方向改變為我們很好用了的方向,這樣就很容易拉動重物了。定滑輪的缺點就是不能夠省力。也就是說,我們使用定滑輪所用的力氣和不適應定滑輪所用的力氣是一樣的。但是我們可以通過一個簡單的滑輪組來克服它的缺點。
定滑輪原理
槓桿及其平衡原理
槓桿是人們生活和生產中常用的一種簡單機械,是在力的作用下能繞著固定點轉動的硬棒。槓桿可以是直的,也可以是彎曲的。
定滑輪槓桿的平衡原理:動力×動力臂=阻力×阻力臂,即FL=FL(如圖1所示)
定滑輪與“差動滑輪”
滑輪是一個周邊有槽,能夠繞軸轉動的小輪。滑輪是一種變形的槓桿,屬於槓桿類簡單機械,用途很廣。
定滑輪的本質是等臂槓桿,動滑輪的本質是動力臂等於阻力臂兩倍的槓桿。
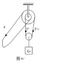
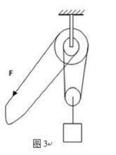
工廠里有一種特殊結構的滑輪,叫做“差動滑輪”(俗稱“神仙葫蘆”),它由兩個直徑相差不多且固定在一起的定滑輪和一個動滑輪組成,其示意圖如圖3所示。有了它,只需一個人就可以緩緩吊起或移動很重的物體。
定滑輪省力原理
下面用槓桿的平衡原理解釋“差動滑輪”的省力原理(如圖4所示)。
設重物的重力為G,人對鏈索的拉力為F,“差動滑輪”的大輪半徑為R、小輪半徑為r,繞過動滑輪的兩段鏈索對定滑輪的拉力相等,且等於G的一半,即F′=G。那么
FR+F′r=F′R
F=F′=G
定滑輪只要兩個定滑輪的半徑r和R相差很小,就可以用很小的拉力吊起很重的物體,達到省力效果。

