
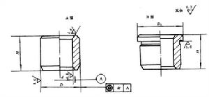
固定鑽套圖示

1.本標準規定了0-85mm的固定鑽套
2.引用標準:
GB/T 699-1988 優質碳素結構鋼的技術條件
GB/T 1298-1986 碳素工具鋼技術條件
GB/T 8044-19999 工具機夾具零件及部件技術條件
JB/T 8045.5-1999 工具機夾具零件及部件鑽套螺釘
固定鑽套尺寸表
工具機夾具零件及部件 固定鑽套國標GB/T 8045.1-1999
| d | D | D1 | H | t | ||
| 基本尺寸 | 基本尺寸 | |||||
| >0~1 | 3 | 6 | 6 | 9 | -- | 0.008 |
| >1~1.8 | 4 | 7 | 6 | 9 | --- | 0.008 |
| >1.8~2.6 | 5 | 8 | 6 | 9 | --- | 0.008 |
| >2.6~3 | 6 | 9 | 8 | 12 | 16 | 0.008 |
| >3~3.3 | 6 | 9 | 8 | 12 | 16 | 0.008 |
| >3.3~4 | 7 | 10 | 8 | 12 | 16 | 0.008 |
| >4~5 | 8 | 11 | 8 | 12 | 16 | 0.008 |
| >5~6 | 10 | 13 | 10 | 16 | 20 | 0.008 |
| >6~8 | 12 | 15 | 10 | 16 | 20 | 0.008 |
| >8~10 | 15 | 18 | 12 | 20 | 25 | 0.008 |
| >10~12 | 18 | 22 | 12 | 20 | 25 | 0.008 |
| >12~15 | 22 | 26 | 16 | 28 | 36 | 0.008 |
| >15~18 | 26 | 30 | 16 | 28 | 36 | 0.012 |
| >18~22 | 30 | 34 | 20 | 36 | 45 | 0.012 |
| >22~26 | 35 | 39 | 20 | 36 | 45 | 0.012 |
| >26~30 | 42 | 46 | 25 | 45 | 56 | 0.012 |
| >30~35 | 48 | 52 | 25 | 45 | 56 | 0.012 |
| >35~42 | 55 | 59 | 30 | 56 | 67 | 0.012 |
| >42~48 | 62 | 66 | 30 | 5 | 67 | 0.012 |
| >48~50 | 70 | 74 | 30 | 56 | 67 | 0.040 |
| >50~55 | 70 | 74 | 30 | 56 | 67 | 0.040 |
| >55~62 | 78 | 82 | 35 | 67 | 78 | 0.040 |
| >62~70 | 85 | 90 | 35 | 67 | 78 | 0.040 |
| >70~78 | 95 | 100 | 35 | 67 | 78 | 0.040 |
| >78~80 | 105 | 110 | 40 | 78 | 105 | 0.040 |
| >80~85 | 105 | 110 | 40 | 78 | 105 | 0.040 |
按固定鑽套國標GB/T 8045.1-1999要求:
d極限公差取F7 D極限公差取D6
材料:d≤26mm T10A按GB/T 1298的規定
d>26mm 20鋼按GB/T 699的規定
熱處理:T10A為58~64HRC;20鋼滲碳深度為0.8~1.2mm,58~64HRC
