介紹
露天采場作業空間不受限制,便於大型機械化完成鑿岩和裝運礦岩工作,生產效率和生產能力比地下開採要高得多。因此,通常在開採埋藏較淺的大型厚礦體時,都優先使用露天台階深孔爆破的方法。
根據礦區地形狀況可採用山坡露天開採和凹陷露天開採兩種方法。在丘陵和礦石外露的條件下,可以在山坡側面開闢工作面進行採礦,而對於較平坦的地形,則需要向岩層內掘進一條斜坡道以建立露天坑。台階爆破參數主要取決於要爆破的岩層地質、所要求的破碎塊度、炮孔直徑和台階高度以及炸藥品種。
岩層地質是確定爆破設計的最重要因素,破碎程度取決於采出礦石的最終用途,炮孔直徑和台階高度除取決於地質和破碎要求外,還與最初投資和生產費用有關,炸藥品種選擇則根據岩石與炸藥的匹配關係確定。
2.1.1爆破參數設計
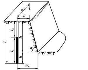
孔深:孔深由台階高度H加上超深h而定。台階高度對已開採的礦山來說是個定值,超深可根據底盤抵抗線WB來確定。
h=(0.15~0.35)WB
當岩石鬆軟、層理髮育時取小值,反之取大值。
底盤抵抗線:底盤抵抗線是指台階坡底線到第一排孔中心軸線的水平距離WB
(見圖A-1),底盤抵抗線的選取很重要,過大將形成較大根底、後沖甚至產生沖炮,過小則會使生產每噸礦石的鑿岩工作量和炸藥消耗量增加。
根據安全距離:
WB≥Hctgα+Β
根據單孔裝藥量:
WB=D√7.85Δτ/βm1
式中α為台階坡面角,一般為60°~75°;B為從深孔中心到坡頂線的安全距離,B≥2.5m;D為孔徑(dm);
圖A-1露天深孔布置(略)
H—台階高度;h—超深;WB—底盤抵抗線;l—堵塞長度;b—排距
Δ為裝藥密度,kg/dm3;τ為裝藥長度係數;m為炮孔密集係數,m=a/WB,a為孔距
(m);q為破碎每立方米岩石的炸藥消耗量(kg/m3),對於硝銨炸藥,軟岩時可取q=0.15~0.3kg/m3,中硬岩石取q=0.3~0.45kg/m3;硬岩取q=0.45~0.6kg/m3。
孔距與排距:孔距等於炮孔密集係數m與底盤抵抗線的乘積,傳統觀念認為m值應在0.8~1.4之間,近年來的寬孔距爆破試驗證明,減小底盤抵抗線和加大孔距,儘管每孔負擔面積保持不變(aWB),卻可顯著地改善爆破岩石的質量。排距取值同於底盤抵抗線。
堵塞長度:堵塞長度關係到爆破能量利用率、破碎質量和空氣衝擊波的危害程度。堵塞長度一般取孔徑的12~30倍,視岩石和炸藥性質而定。
單孔裝藥量:
Q=q·a·H·WB
台階坡面角α<55°時,可將上式的WB換成W(最小抵抗線)。在多排爆破時,後排孔的
Q值應取為第一排孔Q值的1.1~1.3倍,微差爆破取小值,齊發爆破取大值。
2.1.2布孔及起爆形式
布孔可分為垂直深孔和傾斜深孔兩種(見圖A-1),從台階爆破效果和作業安全來看,傾斜孔優於垂直孔。炮孔排列形式有三角形、正方形和矩形三種形式。按不同起爆順序及爆破效果和環境限制等,炮孔的起爆形式可有多種。最簡單的起爆形式是逐排起爆,其特點是要求雷管段數少,但每排同段藥量過大,容易造成爆破地震災害。
斜線起爆(圖A-2)方式向自由面拋擲作用較小,有利於橫向擠壓。在雷管段數允許或非電起爆無級延時的條件下,有利於實現大孔距小抵抗線爆破。V型起爆、梯形起爆以及波浪形起爆,是綜合斜線起爆和逐排起爆的特點,取長補短的結果。
2.1.3裝藥及起爆方案
露天台階爆破中一般使用粉狀銨油炸藥,在炮孔含水的情況下則採用乳化炸藥或漿狀炸藥。為了適應礦岩阻力下大上小的規律而改善破碎質量,也可採用孔底裝高密度高威力炸藥,在上部裝入普通硝銨炸藥的措施。一般採用毫秒微差電雷管和非電雷管起爆,也有採用導爆索——繼爆管微差起爆和電雷管——微差起爆器起爆方案起爆的。
2.1.4二次爆破
台階爆破產生的大塊岩石需要經過二次爆破作業破碎成所需的塊度。二次爆破可採用裸露藥包爆破法和炮眼爆破法。
裸露藥包法不需要打眼,直接將藥包擱置在大塊礦岩的凹陷部位,用粘性泥土覆蓋嚴實後爆破,此法也稱糊炮法。泥土厚度應大於藥包厚度的兩倍。糊炮法簡便易行,但炸藥消耗量大且飛石現象較嚴重。實踐證明用高猛度、帶有聚能穴結構的專用藥包進行大塊二次爆破,效果很好。
炮眼爆破法需要在大塊適當位置打眼,眼深為大塊厚度的一半,裝入少量炸藥堵塞後起爆,因自由面較多,炸藥消耗量較少(0.06kg/m3)。若用水介質充滿炮眼,可減少藥量、改善破碎效果。
2.1.5硐室爆破
硐室爆破是以專用硐室或巷道作為裝藥空間的一種爆破方法。其藥包大且集中,相應的最小抵抗線和爆落土石方量也大,每次爆破裝藥量可達100~10000t。硐室爆破常用於露天礦剝離工程和定向爆破築壩工程。在露天礦生產中當一次爆破需要產生大量礦石時,可用硐室爆破方法,將全部炸藥集中在位於采場底板的平硐內進行鬆動爆破。硐室爆破的設計基礎是單位炸藥消耗量原理,藥量計算中需要考慮爆破作用指數,即是屬於拋擲爆破還是鬆動爆破。
典型的平硐爆破平面圖(見圖A-3)包括一條具有1~2條雙翼橫巷的平硐。距入口的距離和兩翼之間的距離隨著地形輪廓而變化。平硐以上的高度大約是平硐間距的1.5倍,當需要破碎的岩體高度較大時,可採取多層平硐。
每條平硐上面和前面的岩石體積必須作為其前面受剪下的範圍來精確確定,在計算裝藥量時應結合岩石的單位炸藥消耗量和爆破負擔體積兩個因素。

