簡介
兩極式調速器按調速器起作用的轉速範圍不同,又可分為兩極式調速器和全程式調速器。
按調速器起作用的轉速範圍不同,又可分為兩極式調速器和全程式調速器。中、小型汽車柴油機多數採用兩極式調速器,以起到防止超速和穩定怠速的作用。在重型汽車上則多採用全程式調速器,這種調速器除具有兩極式調速器的功能外,還能對柴油機工作轉速範圍內的任何轉速起調節作用,使柴油機在各種轉速下都能穩定運轉。
兩極式調速器只在柴油機的最高轉速和怠速起自動調節作用,而在最高轉速和怠速之間的其他任何轉速,調速器不起調節作用。
調速器的作用及分類
在柴油機運行過程中,當負荷變化時,要通過及時調整循環供油量來改變其輸出功率或轉矩,以保證其穩定運轉。汽車、拖拉機等常在負荷不斷變化的情況下工作,且常會遇到負倚突變的情況。當負荷突然減小或增大時,駕駛人並不是都能夠適時地察覺到而及時做出反應來控制油門的,從而導致柴油機轉速的忽高忽低和工作不穩定。當噴油泵供油拉桿位置不變時,其每循環供油量隨著轉速的升高(降低)而增大(減少)的變化關係(噴油泵速度特性)卻恰恰加劇了上述現象。尤其是當柴油機在高速下工作而突然卸載時,會導致轉速急劇升高。這時噴油泵供油量卻隨著轉速的升高而自動增大,又促使轉速繼續升高。轉速和供油量的相互作用使轉速甚至超出設計允許的最高轉速而無法控制.即所謂的“飛車”或“超速”現象。對柴油機來說,一旦發生飛車現象,混合氣形成時間更短,燃燒明顯惡化,出現冒黑煙和過熱現象,且由於產生很大的慣性力,機械負荷過大,易導致機件(曲軸連桿機構、配氣機構的零件)損壞。相反,當外界載荷突然增大而又不能及時增大供油量時,轉速則迅速下降,甚至熄火。
另外,車用柴油機還經常在怠速工況下運轉.若因某種原因出現轉速波動.則易造成怠速不穩,甚至熄火, 所以,柴油機必須能隨著負荷的變化自動調節供油量,以使其穩定運轉。凋速器即是實現這一功能的裝置,
調速器的科I類很多,按工作原理分為機械離心式、氣動式、液壓式、機械氣動複合式、機械液壓複合式、電子式。機械式調速器結構簡單,工作可靠,套用廣泛。
按其調節轉速的範圍,車用柴油機上多採用兩極式和全程式調速器。兩極式調速器只限制柴油機最高和最低轉速,防止飛車和穩定怠速。中間轉速則由駕駛人直接通過操縱桿來控制,調速器不起作用。兩極式調速器多用於中、小型汽車上。全程式調速器不僅能限制柴油機最高轉速和穩定怠速,而且能對柴油機工作範圍內的任何轉速進行自動調節,多用於負荷、轉速變化頻繁的汽車和中、重型工程車及越野車上等。
兩極式調速器基本結構
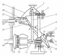
下圖為廣泛套用的兩極式調速器的結構與工作原理示意圖。
兩極式調速器的結構它通過螺釘固定在噴油泵體上。噴油泵凸輪軸的一端固接著飛塊支座,兩個飛塊通過銷軸與其連線。飛塊臂上的滾輪緊靠在調速滑套的端面上。當飛塊離心力增大向外張開時,滾輪便推動滑套移動。導動桿上、下端分別與調速器殼和滑套鉸接,中部通過銷軸與浮動槓桿鉸接。浮動槓桿上部通過連線桿與供油調節齒桿相連,頂部掛接另一端接在調速器殼體上的起動彈簧上。
浮動槓桿下端有一銷軸,插在支持槓桿下端的凹槽內。速度調定桿、拉力槓桿的上端與導動桿一起套在調速器殼上的銷軸上。速度調節螺栓頂住速度調定桿,使裝在拉力桿和速度調定桿之間的調速彈簧保持拉伸狀態。拉力槓桿下端裝有怠速彈簧,其中部有一根銷軸插入支持槓桿上端的凹槽內。控制操縱槓桿的一端與支持槓桿連線,另一端由駕駛人通過加速踏板來控制。
兩極式調速器工作原理
1、起動工況與怠速工況
起動時,先將操縱桿推靠在高速限位螺釘上,帶動支持槓桿和浮動槓桿分繞D點和B點逆時針轉動,使供油調節齒桿移至全負荷供油位置。同時,在起動彈簧拉力的作用下,浮動槓桿繞C點逆時針方向擺動,帶動口點和A點(或滑套)進一步移至極限位置,飛塊被壓至合攏,供油調節齒桿達到最大供油量位置,使起動油量大於全負荷油量,以加濃混合氣,保證發動機順利起動。
在發動機起動後,將操縱桿置於怠速位置,供油調節齒桿隨之移至怠速供油量的位置,發動機進入怠速工作狀態。當飛塊離心力與怠速彈簧和起動彈簧彈力平衡時,發動機穩定於某一轉速下。若某一原因使轉速升高,則飛塊離心力增大,使滑套右移壓縮怠速彈簧,通過導動桿、浮動槓桿帶動供油調節齒桿右移,減小供油量,使轉速降低,直至達到新的平衡。
當轉速降低時,調速機構的回響與上述過程相反,達到新的平衡。改變怠速彈簧的預緊力,可調整怠速轉速。
2、中速工況與高速限制
當操縱桿處於高速限止螺釘和怠速螺釘中問位置,發動機
轉速高於怠速控制範圍時,怠速彈簧被壓入拉力桿孔內,滑套直接與拉力桿接觸。剛度較大的調速彈簧把拉力桿拉住:在轉速低於最高工作轉速時,飛塊離心力產生的推力不足以克服其彈力而推動拉力桿,調速器不起作用。只有靠駕駛人改變操縱桿的位置,才能使供油調節齒桿移動,以增減供油量。
當負荷減小使發動機轉速升高,並超過設定的最高轉速時,飛塊離心力產生的推力足以克服調速彈簧的預緊力,推動滑套使導動桿、拉力桿繞其頂端支承點逆時針轉動,拉動供油調節齒桿向減小供油量的方向移動,限制轉速的繼續升高,防止產生飛車現象。
調整速度調節螺釘可改變調速彈簧的預緊力,並可調整發動機的最高限速。

