術語
二次張拉低回縮鋼絞線豎向短索錨固體系
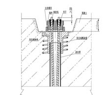
一種由固定端錨具、預應力鋼絞線力筋、預應力管道和二次張拉錨具等幾個部分組成的錨固體系統,其中固定端錨具位於下端,張拉端二次張拉錨具位於頂部,波紋管呈垂直狀態布置於箱梁橋腹板內,經對豎向預應力筋二次張拉後,達到短索低回縮高效錨固的效果。
二次張拉
對同一鋼絞線預應力束,首先,按傳統夾片錨的張拉方法完成第一次張拉——放張——夾片錨固力筋後,再次將該束力筋的錨杯整體張拉至控制應力,錨杯下端面離開墊板5至13mm,經持荷後,將支承螺母向墊板側旋扭,以消除其間隙;然後,將千斤頂回油放張,錨杯被鎖定在原位,此時的力盤在理論上為無回縮錨固,從而消除了第一次張拉放張時因錨具回縮產生的應力損失。這種預應力施工工藝簡稱為二次張拉錨具。
豎向預應力錨固體系
由固定端錨具、預應力鋼筋、預應力管道、張拉端錨具等部件組成,其中固定端錨具位於下端,張拉端錨具們於頂部,波紋管垂直狀態布置於箱梁橋腹板內,經對其進行張拉施工,實現力筋錨固的預應力錨固體系。
錨具
在後張預應力混凝土結構或構件中,為保持預應力筋的拉力並將傳遞到混凝土上所用的永久性錨固裝置。
二次張拉錨具
一種在傳統夾片片式圓錨的錨杯外緣上設定螺紋,其外周再設定一支承螺母與錨杯外螺紋相連線且能實現二次張拉的新型錨具。
工作原理
當對同一束力筋進行第一次張拉並放張錨固後,再次將錨杯及力筋整體張拉,錨杯離開墊板5至13mm,經持荷後,將支承螺母向墊板側旋扭,用以消除錨杯下端面與墊板之間間隙,最後,千斤頂回油放張,錨杯被鎖定在原位,此時的力筋在理論上無回縮錨固,消除了第一次張拉放張時因錨具回縮產生的應力損失。
開發背景
1、大跨徑混凝土梁橋現狀及典型病害概述
預應力混凝土梁橋(包括連續梁橋、連續剛構和剛構連續組合體系)以其結構剛度好;行車平順;造價相對較低;養護簡單等一系列優點,備受工程界歡迎。“目前我國已建和在建的跨徑超過200m的連續剛構橋已達20多座,跨徑在100~200m之間的預應力混凝土梁橋已有100多座,世界範圍內共有跨徑超過240m的特大跨徑連續剛構橋共18座,其中13座在中國,占世界總量的72%。然而近年來,大跨徑預應力混凝土梁橋在施工過程或使用階段,普遍出現各種不同性質的混凝土開裂,長期下撓等病害,這些病害對橋樑的耐久性和營運的安全性構成了威脅”[1]。文獻[2]作者調查了國內180多座預應力混凝土箱梁橋,總結了裂縫的類型及分布規律,其中腹板鈄裂縫的出現比例高達86%,由於腹板裂縫的存在,引起結構剛度降低,導致變形增大。文獻[3] 根據Kishwaukee.River橋荷載試驗發現,由於箱梁腹板裂縫的存在,導致裂縫區結構剪下剛度降低50~55%。
根據大量的調研和分析認為,豎向預應力是減少主拉應力、克服腹板斜裂縫的最有效技術手段,目前我國大量現役大跨徑箱梁橋腹板斜裂縫主要是由於豎向預應力在設計過程中空間效應考慮不足,加之豎向預應力採用的精軋螺紋鋼筋YGM錨固體系本身存在結構缺陷和預應力施工無法有效監控施加預應力的質量,並且導至“由於豎向直線束太短,幾乎建立不起有效預應力”[1]。
進一步對豎向預應力用“精軋螺紋鋼筋YGM錨固體系”分析研究後得知,該結構存在以下致命缺陷:
1、精軋螺紋鋼筋強度較低,預應力張拉延伸絕對值很小(特別是短束僅幾毫米),在同樣放張回縮值情況下,預應力損失的比例就很大,短束預應力損失很可怕(一些橋樑的豎向有效預應力與豎向預應力張拉控制力相比損失甚至達60% [6])。
2、雖然橋規規定帶螺母的YGM精軋螺紋鋼錨具回縮值為1mm,但實際檢測表明:“放張時,鋼筋回縮損失:鋼筋上的螺紋與螺母間隙及變形2mm左右,另外螺母與墊板的接觸面與鋼筋軸線成45°夾角造成實際損失4mm左右”[5]。實際回縮損失大大超出規範。
3、在實際工程中,精軋螺紋鋼筋被拉斷的現象也時有發生,甚至有發生極端的張拉施工完至大橋通車前有30多根精軋螺紋鋼筋斷裂衝破橋面輔裝層致使精軋錨具突出橋面(也有橋樑通車後發生極個別力筋斷裂事故)。“豎向精軋螺紋鋼筋一旦斷裂,無法補救,危害很大”[5]。
4、精軋螺紋鋼筋YGM錨固體系由於力筋是剛性索,施工時對錨固螺母、預應力粗鋼筋、墊板三者安裝精度要求相當高,否則造成放張時錨固螺母擰不到位,是該結構永存應力極難保證穩定易發生隨機變化的一個重要原因。
5、精軋螺紋鋼筋YGM錨固體系,雖然套用已有二十多年,但缺少完整的施工驗收規程,加之結構本身的原因,張拉施工後技術管理和監理人員無法監測判斷施工是否符合(或達到)設計要求。設計、施工、監理各環節管理人員對向預應力施工質量心中無底,十分不放心。
6、“目前,豎向預應力普遍存在壓漿質量不好問題,主要有a、壓漿不通;b、壓漿很難起到粘結握裹作用,國內外對預應力混凝土橋的調查表明,管道壓漿不密實幾乎成了通病,而且後患無窮”[5]。
2、箱梁橋腹板裂縫病害根除對策
箱梁橋腹板裂縫病害主要是因豎向預應力不足以克服主拉應力而導致腹板混凝土開裂。通過大量的實橋調研發現:豎向預應力施工未達到設計要求而致使豎向永存應力通常小於主拉應力,更重要的是:施工的不規範或出現的偏差無論是施工方、監理方、設計方以及業主都無法監測到豎向預應力施工質量,最後產生可預見的風險——腹板開裂。
鑒於前述精軋螺紋鋼YGM錨固體系的不足,廣大橋樑研究、設計、施工工作者,針對精軋螺紋筋進行了大量的改進,如:採用二次張拉,建立較完善的施工管理制度,強化現場管理,改進設計計算,在新橋規《JTGD62-2004》中將計算 應力的公式乘以0.6的折減係數,用以克服豎向預應力損失大,永存壓應力極不穩定的問題,取得一定的效果,但還是沒有從根本上解決箱梁橋腹板開裂的問題。
湖南大學博士生導師邵旭東教授套用全新的思維,主持研發了“二次張拉低回縮鋼絞線豎向預應力錨固系統”,徹底創新豎向預應力錨固結構,充分發揮高強度低鬆弛鋼絞線力筋的優勢,利用其柔性索、高延伸量,張拉控制應力低(不易產生塑性變形)的優點,創新錨具結構,創造性地提出鋼絞線力筋二次張拉(傳統鋼絞線夾片錨是不允許二次張拉的)克服夾片錨回縮損失大的問題,同時,還成功實現了豎向預應力張拉施工後方便量化監測張拉施工質量,根除了豎向預應力孔道壓漿質量不好的通病。
通過腹板應力場試驗、腹板抗剪極限荷載試驗和實橋測試表明:“二次張拉低回縮鋼絞線豎向預應力錨固系統”能大幅度減小中短束預應力筋的放張損失,大幅提高豎向預應力效率和結構的抗剪安全度,且豎向實際永存應力能穩定達到設計要求,避免腹板開裂。
二次張拉低回縮鋼絞線豎向預應力錨固系統替代精軋螺紋鋼筋錨固體系(以15-3G替代φ32精軋鋼筋為例)能大幅提高實際豎向預應力水平(單束實際永存預應力由300多千牛提高到520千牛以上),預應力鋼材用量減少50%,可十分方便監測到已施工預應力束的施工質量,確保豎向永存應力不會發生隨機變化而非常穩定、可靠。徹底解決了孔道壓漿不通(孔道無漿)、壓漿不密實、壓漿很難起來粘結握裹作用的問題,實現了孔道壓漿密實、飽滿。
結構示意圖
二次張拉錨具結構示意圖二次張拉錨具施工實物圖
二次張拉錨具施工實物圖套用實例
二次張拉低回縮豎向錨固體系套用部分實例
| 序號 | 使用工程 | 跨徑(m) |
| 1 | 重慶魚洞長江大橋 | 145+2×260+145 |
| 2 | 重慶輕軌嘉陵江大橋 | 96+160+96 |
| 3 | 重慶——長沙高速武水段B3標 土坎鎢江大橋 | 110+200+110 |
| 4 | 重慶繞城高速N12標水土嘉陵江大橋 | 138.5+245+138.5 |
| 5 | 武隆至貴州務川公路狗耳峽大橋 | 110+190+110 |
| 6 | 武隆至貴州務川公路芙蓉江大橋 | 132+230+132 |
| 7 | 重慶繞城高速N6標朝陽寺大橋 | 78+3×130+78+78+130+78 |
| 8 | 湖南長沙芙蓉北路撈刀河大橋 | 45+2×65+45 |
| 9 | 湖南長沙市車站路瀏陽河特大橋 | 78+152+78 |
| 10 | 廣東九江大橋 | 斜拉索 |
| 11 | 廣東佛山興朗大橋 | 連續剛構 |
| 12 | 湖南吉茶高速2標鵝黎坡大橋 | 60+100+60 |
| 13 | 湖南吉茶高速3標峒河大橋 | 55+3×90+55 |
| 14 | 湖南吉茶高速5標矮寨剛構橋 | 85+2×140+85 |
| 15 | 湖南吉茶高速15標 | 連續剛構 |
| 16 | 長沙湘江大道撈刀河大橋 | 70+128+70 |
| 17 | 廣東南二環高速甘竹溪特大橋 | 50+115+210 |
| 18 | 廣東南二環高速順德支流特大橋 | 102+160+90 |
| 19 | 廣東南二環高速李家沙河特大橋 | 110+220+110 |
| 20 | 廣東南二環高速水樵水道特大橋 | 95+165+155+82 |
| 21 | 廣東南二環高速馬留崗涌特大橋 | 75+130+75 |
| 22 | 湖南汝郴高速2標益將江特大橋 | 78+145+78 |
| 23 | 湖南汝郴高速10標山店江特大橋 | 110+200+110 |
| 24 | 湖南汝郴高速13標五一村特大橋 | 60+2×105+60 |
| 25 | 湖南汝郴高速14標文明特大橋 | 66+6×120+66 |
| 26 | 湖南汝郴高速23標黃家壟特大橋 | 45+5×80+45 |
| 27 | 廣東佛開高速改擴建2標潭洲大橋 | 75+125+75 |
| 28 | 湖南嶽常高速20標安鄉河大橋 | 72+120+72 |
| 29 | 湖南嶽常高速22標沅水大橋 | 66+3×106+43+66+40 |
| 30 | 四川綿陽會客廳1號橋 | 120+200+120 |
| 31 | 長沙營盤路瀏陽河大橋 | 連續箱梁 |
| 32 | 廣東博深高速1標東江特大橋 | 95+170+95 |
| 32 | 湖南衡桂高速4標湘江大橋 | 連續剛構 |
| 33 | 湖南張花高速3標 | 66+120+66 |
| 34 | 湖南張花高速11標青坪特大橋 | 66+3×120+66 |
| 35 | 湖南張花高速12標三角岩特大橋 | 66+3×120+66 |
| 36 | 湖南張花高速12標張家洞特大橋 | 66+2×120+66 |
| 37 | 湖南張花高速16標老司城河特大橋 | 99+188+99 |
| 38 | 湖南張花高速25標猛洞河特大橋 | 75+145+75 |
| 39 | 湖南張花高速32標花垣河特大橋 | 78+145+78 |
| 40 | 湖南益陽沙頭資江大橋 | 65+5×116+65 |
| 41 | 廣東肇花高速3標北江特大橋 | 65+4×100+65 125+210+125 52+2×85+52 |
| 42 | 廣東肇花高速6標 | 連續剛構 |
| 43 | 湘府路湘江大橋 | 連續剛構 |
| 44 | 廣東佛開高速改建汾江大橋 | 連續剛構 |
| 45 | 廣東佛開高速改建北江大橋 | 連續剛構 |
| 46 | 廣東廣清高速改擴建流溪河大橋 | 連續剛構 |
| 47 | 廣東廣明高速公路(廣州段)陳村大橋 | 斜拉索120+218+120 |
| 48 | 廣東黃欖快速幹線西樵大橋 | 連續剛構85+130+85 |
| 49 | 廣東黃欖快速幹線樵門大橋 | 連續剛構83+140+83 |
| 50 | 廣東江門新禮東大橋 | 連續剛構55+84+55 |
| 51 | 廣東廣惠東延線范和港特大橋 | 152+300+152 |
| 52 | 廣東中山東部快線東部特大橋 | 斜拉索300m |
| 53 | 廣東南沙鳳凰一橋 | 2×136 |
| 54 | 廣東南沙鳳凰三橋 | 中承式系桿拱橋 61+308+61 |
| 55 | 廣東惠澳高速東江特大橋 | 連續剛構 |
| 56 | 廣東江門大鰲大橋 | 79+145+145+79 |
| 57 | 廣東東莞橫杜大橋 | 連續剛構 |
| 58 | 廣東梅州市廣州大橋 | 139M單塔斜拉 |
| 59 | 湖南新漵高速公路4標漵水大橋 | 60+60 |
| 60 | 湖南新漵高速公路6標沅水大橋 | 58+4×100+58 |
| 61 | 湖南炎汝高速24標淇江大橋 | 51+3×90+51 |
| 62 | 湖南炎汝高速25標漚江大橋 | 78+145+78 |
| 63 | 湖南永藍高速公路1標荷葉塘特大橋 | 66m+4×110m+66m |
| 64 | 成渝高速複線沱江特大橋 | 2×80+2×48 |
| 65 | 益陽黃茅洲大橋 | 78+4×130+78 |
| 66 | 長沙萬家麗路撈刀河橋 | 75+110+75 |
| 67 | 湘潭湘江芙蓉大橋 | 80+150×2+80 |
| 68 | 四川向家壩金沙江大橋 | 117.5+200+117.5 |
| 69 | 長沙三一大道瀏陽河橋 | 連續剛構 |
| 70 | 廣東英德北江三橋 | 2×160 |
| 71 | 湖南益陽繞城四標資江大橋 | 58+4×90+58 |
| 72 | 廣東梨川大橋 | 斜拉索95+168+95 |
| 73 | 長沙芙蓉路瀏陽河大橋 | 連續剛構 |
二次張拉錨具專利證書二次張拉錨具專利證書
