安全須知
注意:小心駕駛,確保行車安全。
使用範圍
1.使用範圍
PBC自平衡電動獨輪車是戶外運動產品,並非交通工具。PBC自平衡電動獨輪車用戶只能在空曠平坦的區域騎行,嚴禁在非機動車道上騎行!嚴禁在機動車道上騎行!
PBC自平衡電動獨輪車用戶在非機動車道和任何機動車道上騎行,一旦發生交通事故,有可能造成人身傷害!
2. 騎行必須佩戴護具
任何時候,請佩戴頭盔,護膝,護肘等各種安全護具。不佩戴安全護具,有可能造成人身傷害!
3. 未成年人需在監護人陪同下使用PBC自平衡電動獨輪車,避免造成事故。
4. 請使用原裝充電器充電
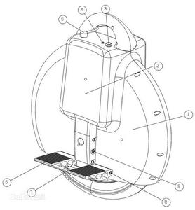
產品結構
PBC自平衡電動獨輪車1) PBC自平衡電動獨輪車外殼
2) 機殼軟膠
3) 電源開關
4) 電量指示燈
5) 充電器插口
6) 腳踏板
7) 腳踏板固定磁塊
8) 腳踏板安裝軸
9) 固定螺絲
出廠包裝含:PBC自平衡電動獨輪車一台、充電器一個、手帶一條、輔助輪一對、使用說明書一本。
指示燈含義
綠色常亮和綠色閃爍
1) 綠燈常亮:表明PBC自平衡電動獨輪車一切正常,可以使用;
2) 綠燈閃爍:當閃爍頻率約1秒3次,表明PBC自平衡電動獨輪車處於保護狀態,需關閉電源重新開啟。;
紅色全亮和紅色閃爍
1) 紅色全亮:表明PBC自平衡電動獨輪車當前電量大於80%,可以使用;
2) 紅色閃爍:表明PBC自平衡電動獨輪車當前電量低於10%,及時充電。
注意事項
1. 利用手帶來保證駕駛的安全
在還不能熟練駕駛本產品時,利用手帶可以避免摔倒刮傷。
1) 把手帶系在PBC自平衡電動獨輪車的把手上。一隻腳踩在腳踏板上,調整手帶的長度到舒適的位置。
2) 在駕駛過程中失去平衡、不得不跳下車的時候,可以利用手上的手帶來拽住PBC自平衡電動獨輪車,以免它失去控制造成損壞。
2. 如何控制平衡
1) PBC自平衡電動獨輪車是利用陀螺儀進行前後穩定的。
2) 當身體前傾,PBC自平衡電動獨輪車會感知到動作進行加速;當身體後仰,PBC自平衡電動獨輪車也會控制電機減速以維持車體的平衡。
3) PBC自平衡電動獨輪車不能進行左右平衡,就像騎腳踏車一樣,需要靠一定的速度和身體來控制左右平衡。
4) 請勿在光滑路面或細沙粒覆蓋的路面上騎行,因為PBC自平衡電動獨輪車需要車輪與地面的摩擦力來維持平衡。
3. 關於啟動時間
PBC自平衡電動獨輪車有1~3秒的啟動時間,當按下開關時,請等待車體進入自平衡狀態後,再使用。
4. 開機時請不要離地
PBC自平衡電動獨輪車在啟動狀態時,請勿離開地面,避免空轉可能帶來的危險。禁止在車輪高速旋轉過程中,用身體任意部位觸摸車輪,避免造成人身傷害。
準備工作
1. 選擇適合的場地:請在平坦、空曠、無機動車、人少的場地進行試車。PBC自平衡電動獨輪車是戶外運動產品,並非交通工具。PBC自平衡電動獨輪車用戶只能在空曠平坦的區域騎行,嚴禁在非機動車道上騎行!嚴禁在機動車道上騎行!PBC自平衡電動獨輪車用戶在非機動車道和任何機動車道上騎行,一旦發生交通事故,有可能造成人身安全事故!
2. 選擇適合的穿著:建議穿運動裝、運動鞋。騎行切勿穿涼鞋、拖鞋或高跟鞋,勿穿裙裝或廣口褲,避免造成人身傷害!
3. 檢查車輛:駕駛前需要檢查電力是否充足、搖動車輛是否有異響和鬆動、手動推行PBC自平衡電動獨輪車看車輪是否與外殼產生摩擦。
4. 可以找一位朋友一起學習騎行,大家可以交換心得,相互促進,適當的時候還可以提供協助,更快地掌握騎車技巧有幫助。
5. 任何時候,請佩戴頭盔,護膝,護肘等各種安全護具。不佩戴安全護具,有可能造成人身傷害!
6. 請將手帶穿過把手,並將長度調整至適當位置。
駕駛步驟
1. 打開電源
1) 一隻手抓住把手,將PBC自平衡電動獨輪車直立於地面,並將兩個腳踏板展開。
2) 按下電源鍵可以將PBC自平衡電動獨輪車電源打開,此時綠燈亮起。
3) 假如發現綠燈閃爍,請不要嘗試騎行。
4) 沿著輪子前進後退的方向前後拉動把手幾次,感受車輪加減速的力度。
2. 騎行
可以尋找一面牆或者護欄等等來幫助平衡,如果這些都沒有,也可以找一個朋友站在身邊。在外界的輔助下,可以先站上PBC自平衡電動獨輪車,利用身體前傾使PBC自平衡電動獨輪車慢慢往前移動,逐漸熟悉騎行的感覺,逐步減少對輔助物的依賴直到完全不需要輔助物。
3. 轉彎
關於轉彎:初學者都喜歡以轉動上身的方法來進行轉彎,但是那樣的操作效果不好。建議通過調整左右腳踩踏的力度來調整車體的左右傾斜程度進行轉彎,通過不斷地練習,會達到期待的轉彎效果。
4. 重視騎行安全
已經學會了如何騎行PBC自平衡電動獨輪車,一定要在逐漸了解車輛性能的基礎上去逐漸挑戰沒有嘗試過的動作。
PBC自平衡電動獨輪車的最高時速可達16km/h~18km/h,當速度較快時(約12km/h),車將以翹板的方式提示注意行車速度。當翹板或者主機報警時,請不要強制加速,避免摔倒。
PBC自平衡電動獨輪車的動力是有限度的,超過限度PBC自平衡電動獨輪車會無法支撐身體,導致從車上掉下來,務必小心駕駛,不可急加速或者急減速。
充電
1. 本產品內置動力電池。
2. 確保在乾淨、乾燥的環境下進行充電。充電器電源線的一端連線交流電源插座,另一端連線PBC自平衡電動獨輪車,紅色指示燈亮起表明充電正在進行。
3. 充電時間因型號不同,大約為一個小時到兩個小時,當充電器紅色指示燈變為綠時,表明充電完成。
充電注意事項:
1. 當充電器插入時,PBC自平衡電動獨輪車並不能檢測到充電器,所以PBC自平衡電動獨輪車上沒有任何充電指示,只有充電器上有提示。
2. 請不要在充電器插入情況下嘗試騎行。
保養與維護
保存
1. 不要在潮濕的地方放置PBC自平衡電動獨輪車;
2. 關機狀態下,每月至少需要對設備充電一次,以免電池電量耗盡。同時,電池不能被隨意拆除,想更換電池,請聯繫售後部門
3. 要用濕布和溫和的洗滌劑去清洗,不能用汽油、溶劑或任何化學試劑清潔車身表面。
4. PBC自平衡電動獨輪車保存溫度以20攝氏度為宜,過高或過低的溫度都將對動力電池產生不良影響。請不要在環境溫度高於50度的條件下使用,請勿將PBC自平衡電動獨輪車長時間置於40度以上的環境中。
特別提示:請勿在天氣炎熱季節,將PBC自平衡電動獨輪車置於汽車中!高溫下有可能導致動力電池完全失效,甚至引起燃燒!
更換輪胎
1. 更換輪胎時,需要內六角螺絲刀和十字螺絲刀。
2. 用十字螺絲刀擰松蓋子外面的所有螺絲(包括把手上的螺絲)。
3. 腳踏板下面的兩邊各有6個螺絲,鬆動電源開關另一側的六顆內六角螺絲。注意:不要擰動電源開關一側的內六角螺栓!因為電源開關側外殼內部安裝了電路板。
4. 擰開這些螺絲後,將蓋子以把手為軸心翻開機殼。在把手的區域有一些電線,小心不要拉斷這些電線。更換輪胎和修理內胎。
5. 當修理結束後,將蓋板安裝到原來的位置,擰緊螺絲。
調整腳踏板
腳踏板兩側內六角螺絲的鬆緊度來調整腳踏板的阻尼程度。

