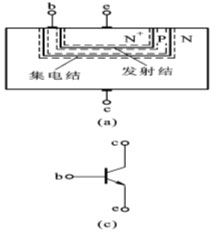
NPN型電晶體,由三塊半導體構成,其中兩塊N型和一塊P型半導體組成,P型半導體在中間,兩塊N型半導體在兩側。NPN型電晶體是電子電路中最重要的器件之一,它最主要的功能是電流放大和開關作用。
NPN型電晶體的電路符號
NPN電晶體是電晶體的一種,當基極b點電位高於發射極e點電位零點幾伏時,發射結處於正偏狀態,而集電極C點電位高於b點電位幾伏時,集電結處於反偏狀態,集電極電源Ec要高於基極電源Ebo。
NPN型電晶體,由三塊半導體構成,其中兩塊N型和一塊P型半導體組成,P型半導體在中間,兩塊N型半導體在兩側。NPN型電晶體是電子電路中最重要的器件之一,它最主要的功能是電流放大和開關作用。
NPN型電晶體的電路符號晶體三極體是由形成二個PN結的三部分半導體組成的,其組成形式有PNP型及NPN型。我國生產的鍺三極體多為PNP型,矽三極體多為NPN型,它們的結構原理是...
簡介: 如何區分PNP電晶體和NPN電晶體 集成NPN電晶體的beta值 電晶體的歷史電晶體(transistor)是一種固體半導體器件,具有檢波、整流、放大、開關、穩壓、信號調製等多種功能。電晶體作為一種可變電流開關,能夠基於輸入電壓控...
定義 簡述 歷史 發展 里程碑電晶體,(transistor),是一種固體半導體器件,可以用於檢波、整流、放大、開關、穩壓、信號調製和許多其它功能。電晶體作為一種可變開關,基於輸入的...
定義 簡述 歷史 里程碑 優越性雙極結型電晶體(Bipolar Junction Transistor—BJT)又稱為半導體三極體,它是通過一定的工藝將兩個PN結結合在一起的器件,有P...
簡介 結構異質結雙極型電晶體是指發射區、基區和收集區由禁頻寬度不同的材料製成的電晶體。於1951年W.B.肖克萊提出這種電晶體的概念。
異質結雙極型電晶體 正文 配圖 相關連線由於其自身的結構與封裝形式,塑封雙極型功率管存在很多可靠性問題。介紹了塑封雙極型功率電晶體可靠性問題及失效機理,包括封裝缺陷、粘結失效以及由於溫度變化而...
雙極型功率電晶體 正文 配圖 相關連線MOS電晶體,金屬-氧化物-半導體(Metal-Oxide-Semiconductor)結構的電晶體簡稱MOS電晶體,有MOS管構成的積體電路稱為MOS積體電路。
簡介 結構 模型 工作特點 開通過程由兩個背靠背PN結構成的具有電流放大作用的晶體三極體。起源於1948年發明的點接觸晶體三極體,50年代初發展成結型三極體即現在所稱的雙極型電晶體。雙極型...
介紹 分類 特點 影響