概念
AC=Alternating Current.
DC=Direct Current.
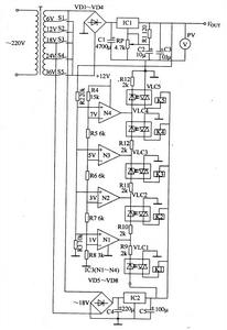
可調直流穩壓電AC/DC即為將交流變換為直流 ,其功率流向可以是雙向的,功率流由電源流向負載的稱為“整流”,功率流由負載返回電源的稱為“有源逆變”。AC/DC變換器輸入為50/60Hz的交流電,因必須經整流、濾波,因此體積相對較大的濾波電容器是必不可少的,同時因遇到安全標準(如UL、CCEE等)及EMC指令的限制(如IEC、FCC、CSA),交流輸入側必須加EMC濾波及使用符合安全標準的元件,這樣就限制AC/DC電源體積的小型化,另外,由於內部的高頻、高壓、大電流開關動作,使得解決EMC電磁兼容問題難度加大,也就對內部高密度安裝電路設計提出了很高的要求,由於同樣的原因,高電壓、大電流開關使得電源工作消耗增大,限制了AC/DC變換器模組化的進程,因此必須採用電源系統最佳化設計方法才能使其工作效率達到一定的滿意程度。
電路分類
直流/交流AC/DC變換按電路的接線方式可分為,半波電路、全波電路。 按電源相數可分為,單相、三相、多相。按電路工作象限又可分為一象限、二象限、三象限、四象限。
