齒輪跳動檢查儀工作原理
齒圈的徑向跳動Fr為測頭相對於齒輪軸線的最大變動量。為此,齒圈徑向跳動的檢查是具有原始齒條齒形的測量頭進行,檢查時,將被齒輪固定在儀器兩頂針間,把具有原始齒條齒形的測量頭依次插入齒輪的齒間內,在齒輪轉一圈範圍內,測頭相對於齒輪軸線有最大變動量即為Fr。
YTC300型號被測齒輪摸數範圍:1~6被測工件最大直徑300mm兩頂尖間最大距離418mm測量支架轉動範圍+90指示值分度值0.001.
YTC150型號被測齒輪摸數範圍:0.3~2mm被測工件最大直徑150mm兩頂尖間最大距離190mm測量支架轉動範圍+90指示值分度值0.001
齒輪跳動檢查儀齒輪跳動檢查儀技術參數
1.齒輪跳動檢查儀可測量直齒、斜齒、圓柱齒輪和蝸輪的齒圈徑向跳動和圓錐齒輪的齒圈跳動ΔFr.
2.被測齒輪參數:模數:m=1-6mm齒頂圓直徑:d≤240mm.
3.儀器技術參數:兩頂尖距:0-340mm,兩頂尖中心高:120mm,滑板左右移動距離:0-160mm測量裝置可轉動:±45°.
4.外廓尺寸780(長)×350(寬)×560(高)mm
5.儀器重量:120kg
使用範圍
本儀器主要用於齒輪加工現場或車間檢查站測量圓柱齒輪或圓錐齒輪的徑向跳動誤差,△Fr同時也可以用於測量迴轉類零件的徑向跳動誤差。齒輪跳動儀測定齒圈徑向跳動△Fr,在齒輪一轉範圍內,測頭在槽齒內或齒輪上,與齒高中部雙面接觸,測頭相對於齒輪軸線的最大接觸,為此,齒圈徑向跳動的檢查是借具有原始齒條形的測量時進行。
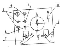
圖為本儀器的工作原理示意圖:
安置在儀器底座16上的台面15,可用膠木手輪1通過齒條傳動機構作縱向移動,並藉助膠木螺母2固定。在檯面上的左右頂針架4、12可沿檯面上的基面作縱向移動,可用膠木螺母14固定。頂針3鬆開膠木螺釘10後可在頂針架孔內移動。在右頂針架12上還可用膠木螺釘11緊固頂針3後藉助於手柄13作彈簧頂針用。轉動升降螺母5,可使測量座19連同測量支架8和千分表7沿立柱6上下移動。使側頭與被測表面接觸或離開。並用膠木螺釘20使之固定在適當的部位。鬆開緊固螺釘17測量支架8可相對於測量座在垂直平面內作±900的轉動。表架23可利用手柄21抬起或放下。
齒輪跳動檢查儀1.膠木手柄 2.膠木螺帽 3.頂針 4.左頂針架 5.升降螺帽 6.立柱 7.千分表 8.測量支架 9.測量頭 10.膠木螺釘 11.M4膠木螺釘 12.右頂針架 13.手柄 14.膠木螺帽 15.台面 16.底座 17.緊固螺釘 18.指標塊 19.測量座 20.膠木螺釘 21.手柄 22.螺釘 23.表架 24.接頭
附屬檔案
齒輪跳動檢查儀1.直角槓桿:供測端面跳動。
2.扳手:供裝拆側頭。
3.球形測量頭:供直角和水平槓桿用。
4.接頭:供接長圓錐測量頭。
5.圓錐測量頭:供測200壓力家,模數1-6mm齒輪。
6.千分表球形測量頭:供測圓柱或圓錐徑向跳動。
7.水平槓桿:供測內齒和齒輪及內孔徑向跳動。
使用直角和水平槓桿時,可用螺桿22將其固定在測量支架8上。

