LTE
LTE無線接入協定體系結構如圖1所示,該接入系統分為三層:層一為物理層(PHY),層二為媒體接入控制子層(MAC)、無線鏈路控制子層(RLC)和分組數據會聚協定子層(PDCP),層三為無線資源控制層(RRC)。其中物理層是無線接入系統最底層,它以傳輸信道為接口,向上層提供服務。
圖1 LTE無線接入協定體系結構LTE(LongTermEvolution,長期演進),又稱E-UTRA/E-UTRAN,和3GPP2UMB合稱E3G(Evolved3G)
LTE是由3GPP(The3rdGenerationPartnershipProject,第三代合作夥伴計畫)組織制定的UMTS(UniversalMobileTelecommunicationsSystem,通用移動通信系統)技術標準的長期演進,於2004年12月在3GPP多倫多TSGRAN#26會議上正式立項並啟動。LTE系統引入了OFDM(OrthogonalFrequencyDivisionMultiplexing,正交頻分復用)和MIMO(Multi-InputΜlti-Output,多輸入多輸出)等關鍵傳輸技術,顯著增加了頻譜效率和數據傳輸速率(20M頻寬2X2MIMO在64QAM情況下,理論下行最大傳輸速率為201Mbps,除去信令開銷後大概為140Mbps,但根據實際組網以及終端能力限制,一般認為下行峰值速率為100Mbps,上行為50Mbps),並支持多種頻寬分配:1.4MHz,3MHz,5MHz,10MHz,15MHz和20MHz等,且支持全球主流2G/3G頻段和一些新增頻段,因而頻譜分配更加靈活,系統容量和覆蓋也顯著提升。LTE系統網路架構更加扁平化簡單化,減少了網路節點和系統複雜度,從而減小了系統時延,也降低了網路部署和維護成本。LTE系統支持與其他3GPP系統互操作。LTE系統有兩種制式:FDD-LTE和TDD-LTE,即頻分雙工LTE系統和時分雙工LTE系統,二者技術的主要區別在於空中接口的物理層上(像幀結構、時分設計、同步等)。FDD-LTE系統空口上下行傳輸採用一對對稱的頻段接收和傳送數據,而TDD-LTE系統上下行則使用相同的頻段在不同的時隙上傳輸,相對於FDD雙工方式,TDD有著較高的頻譜利用率。
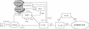
LTE/EPC的網路架構如圖2所示,其中E-URTAN對應於圖3,E-URTAN無線接入網路架構。
圖2 3GPP接入的非漫遊架構
圖3 E-UTRAN的網路結構基本原理
LTE系統上行鏈路隨機接入過程採用非同步的接入方式,即在終端還未獲得上行時間同步或喪失同步時,用於eNodeB估計、調整UE上行發射時鐘的過程,這個過程也同時用於UE向eNodeB請求資源分配。eNodeB回響UE的非同步隨機接入嘗試,向UE傳送時間信息來調整上行鏈路傳送定時,並分配所傳送數據或控制信令的上行鏈路資源,而且定時信息和上行數據資源分配也可以組合在一起傳送到UE。隨機接入過程有兩種模式:①基於競爭的隨機接入;②無競爭的隨機接入。在LTE系統中,每個小區中有64個可用的前導序列,對於基於競爭的隨機接入過程來說,UE隨機選擇一個前導序列向網路側發起隨機接入過程,因此如若同一時刻多個UE使用同一個前導序列發起隨機接入過程,就會發生衝突,有可能導致接入失敗。而無競爭的隨機接入使用eNodeB所分配的前導序列發起隨機接入過程,故接入成功率較高。但考慮到僅在切換或有下行數據傳送兩個場景下,eNodeB能夠事先知道UE需要發起隨機接入過程,所以僅在這兩個場景可以使用無競爭的隨機接入,對於其他套用場景,只能使用基於競爭的隨機接入。
(1)基於競爭的隨機接入過程
LTE中,基於競爭的隨機接入流程如圖5-3所示。
基於競爭的隨機接入主要分為4個步驟。
a.UE隨機選擇一個前導序列,在RACH信道上傳送。
b.eNodeB在檢測到有前導序列傳送後,下行傳送隨機接入回響,隨機接入回響中至少應包含以下信息。
-所收到的前導序列的編號。
-定時調整信息。
-為該UE分配的上行資源位置指示信息。
-臨時分配的C-RNTI。
c.UE在收到隨機接入回響後,根據其指示,在分配的上行資源上傳送上行訊息。
d.eNodeB接收UE的上行訊息,並向接入成功的UE返回衝突解決訊息。
(2)無競爭的隨機接入過程
無競爭的隨機接入過程是指UE在接入時,使用eNodeB提供的特定前導序列和PRACH資源,這樣就不會與其他的UE發生衝突,以保證接入的成功率,其實現流程如圖5-4所示。
圖5-3 基於競爭的隨機接入流程圖
5-4 無競爭的隨機接入流程與基於競爭的隨機接入過程相比,該流程增加了eNodeB分配並傳送特定前導序列的過程,減少了衝突解決的過程,其具體過程如下。
a.在下行方向,eNodeB通過專用信令指派專用隨機接入前導。
b.UE在RACH信道上傳送eNodeB分配的隨機接入前導。
c.eNodeB在檢測到有前導序列傳送後,下行傳送隨機接入回響,隨機接入回響中至少應包含以下信息。
-前導序列的編號。
-定時調整信息。
-為該UE分配的上行資源位置指示信息。
套用場景分析
上一節已經對隨機接入過程的原理、實現方式和實現流程進行了介紹,本節在此基礎之上對隨機接入過程的套用場景進行分析,具體如下。
場景1:UE處於RRC_IDLE狀態,進行初始隨機接入。
場景2:無線鏈路失敗後需要進行RRC連線重建。
場景3:切換,即UE處於RRC_CONNECTED狀態,由於某些原因(如當前服務小區信號質量變差等),需要切換到另一個目標小區。
場景4:UE處於RRC_CONNECTED狀態,但沒有取得上行同步,然而UE需要接收新的下行數據,然後在上行鏈路上反饋ACK/NACK信息。
場景5:UE處於RRC_CONNECTED狀態,但沒有取得上行同步,然而UE需要傳送新的上行鏈路數據或者是控制信息(如事件觸發測量報告等)。
場景6:UE處於RRC_CONNECTED狀態,需要進行定位。
上一節中我們已經提到,LTE的隨機接入過程包括基於競爭的隨機接入和無競爭的隨機接入兩種,那么在上面所提到的不同場景下,所採用的隨機接入方式如何選擇呢?建議如下。
(1)從3GPP協定的角度來看,上面6種套用場景下,UE均可以採用基於競爭的隨機接入。
(2)對於場景3和場景4,從3GPP協定的角度來看,UE既可以採用基於競爭的隨機接入,也可以採用無競爭的隨機接入,具體方式取決於廠家設備的實現。如果採用無競爭的隨機接入方式,則eNodeB可以通知UE使用特定無衝突的前導序列和PRACH資源來進行接入,這樣就可以避免可能發生的衝突,減少隨機接入的時間延遲。尤其對於場景3,為了保證切換的成功率和切換的時延,可考慮採用無競爭的隨機接入。
