簡介
為了提高管殼式換熱器的傳熱效率,國內外先後研製了各種強化管內、管外傳熱的換熱元件。常用的管外強化無相變傳熱有效方法一般分為兩類,一類為螺紋管、肋片管連續表面;第二類為開岔短肋、釘頭管、太陽棒等連續擴展表面。其中釘頭管強化傳熱效果十分顯著,加工方法也簡單,但由於受管殼式換熱器布管的限制,難以在管殼式換熱器中顯示其強化傳熱的優勢。近年來,先後開發了幾種傳熱元件,其中針翅管傳熱元件較為理,
它不但結構簡單,便於加工,而且由於具有一定的傾角,使得換熱管在獲得更大傳熱面的同時,能保持較刁、的管間距,因此,從理論上講,對管外為高粘度油品傳熱的管殼式換熱器的強化效果是十分顯著的。
針翅管是具有不連續翅肋,用途廣泛的強化傳熱管型之一。目前主要類型有瑞典Sunrod針翅管和整體針翅管兩種。
整體針翅管
整體針翅管整體針翅管屬一種三維擴展表面管,基管與針翅之間無需焊接或通過其他方法進行連線,而是通過特殊的機械加工方法在光管表面直接刨起大量呈螺旋前進的針翅,針翅與基管一體,所以它們之間無接觸熱阻,針翅在大幅增加傳熱面積的同時,對流經其表面的液體能形成強烈的擾動,增加液體的湍流度。針翅管外形結構如圖1所示。
流體流經針翅時具有複雜的流體力學特性,當流體縱向沖刷針翅管時,局部傳熱係數在針翅周向及長度方向均有變化,這是因沿針翅長度方向在針翅表面形成的流體力學邊界層厚度不同的緣故,具體的分布形式取決於針翅參數、流體力學工況等因素。針翅管的主要特點是具有擴展的二次傳熱面,其在滑油冷卻器中冷熱流體換熱可分解為3個部分進行:潤滑油與針翅管的一次傳熱面及二次傳熱面之間的對流換熱;針翅管的導熱,這個過程包括針翅端部向針翅根部的導熱和基管外表面向內表面的導熱;冷卻水與針翅管內壁的對流換熱。一次傳熱面類似於光管壁面,對其換熱已有較成熟的計算公式,作為二次傳熱面的針翅,其上面的溫度分布較基管的複雜得多。對針翅傳熱進行假設:1)針翅周圍介質溫度相同;2)針翅導熱係數幾為常數;3)對於無相變的流體,沿針翅長度方向表面傳熱膜係數相等。
Sunrod針翅管
Sunrod針翅管Sunrod針翅管基管外有許多長、短圓桿狀針翅,等間距地沿周向和縱向交錯或順序排列,且呈傾斜或垂直地焊於基管上,能對流體起強烈的擾流作用,而強化傳熱,適合在石油化工油品換熱器和各種工業加熱爐或餘熱鍋爐中使用。整體針翅管是採用特殊車削方法直接在基管上加工出細而長的螺旋針翅,體積小且緊湊,它除了可用於石油化工、電力部門的換熱設備中,還可套用於製冷、空調等行業,強化效果顯著。
針翅管的強化傳熱機理
無相變換熱器的傳熱為對流傳熱,當流體流經固體壁面時,近壁處存在一層滯流層,其流速較低,在沿壁法線方向幾乎沒有對流傳熱。用熱傳導的方式進行傳熱時,其導熱熱阻很大,流層中溫度梯度也較大。強落你寸流傳熱的機理主要是利用流體的分離,二次流及邊界層周期性地形成開始時所造成的擾動,使邊界層不斷地受到破壞,從而增大傳熱係數。當傳熱介質為高粘度時,易在外壁上形成一層穩定且較厚的邊界層,這層液膜會產生較大的附加熱阻,影響傳熱效率。只有使流體產生強烈的徑向運動,加強流體整體的流合,形成湍流,才能有效
地強化傳熱。
針翅管換熱器強化傳熱的機理就是在擴大二次傳熱面的同時,利用流體的擾動使流體的邊界層不斷地受到破壞,從而有效地提高傳熱係數K。由於針翅管採用連續性擴展表面,針翅與基管採用同一種材料,消除了接觸熱阻,從而較大地提高了傳熱係數。
在針翅管換熱器中,所有針翅管都會受到流體的橫向繞流,這樣不但提高了流體的湍流度,消除了流體流動時的旋渦死滯區,又增加了流體的擾動和混合。當流體流人針翅管換熱器管束時,在前置針翅上開始形成邊界層,但邊界層隨後在後置針翅上遭到破壞,並消失在後置針翅上旋渦區中。再在下一排針翅上形成新的邊界層,繼而再在下一排針翅上遭到破壞。如此反覆不斷,保持整個換熱面都充分利用了邊界層起始段較薄、熱阻較小的有利條件,提高了傳熱係數,降低了污垢生成的機率。
從理論上講,針翅管換熱元件可以廣泛套用在各種熱交換器中,如滑油冷卻器、空氣冷卻器、冰機冷卻器、空調冷卻器等。由於換熱管上針翅的布置、針翅長度和傾斜角度翱弘將直接影響傳熱的效果,在各類產品中,又表現出各種不同的特徵。
針翅管傳熱模型
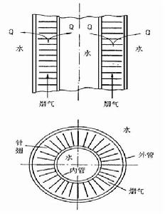
針翅管的傳熱模型在中小型的熱能設備中(如中小型鍋爐)通常採用立式煙管束作為對流受熱面。其單根煙管的傳熱情況如圖所示。若將其代之以針翅管束,其單根針翅管的傳熱模型如圖所示。
針翅管由內管和外管組成,在內管外壁上焊有針翅若干,水在內管中及外管外面流動,高溫煙氣在內、外管之間布滿針翅的環形空間流過,煙氣同時沖刷針翅、內管外壁及外管內壁,以對流方式將熱量傳遞給內管和外管金
屬壁,再由金屬壁導熱後,分別以對流放熱的方式傳遞給介質水。
從上述模型可以看出,煙氣側的放熱由圖1中所示的單面管壁的縱向沖刷改變為煙氣主流對針翅橫向沖刷,同時還對內外管壁進行縱向沖刷。這樣一來,可以大幅度提高煙氣側的傳熱量,其原因為:
1.針翅管與普通煙管相比,由於增加了內管和內管上的大量針翅,從而大大增加了煙氣側的受熱面,受熱面A的增加使總傳熱量增加。
2.由純縱向沖刷放熱轉變為主要對針翅橫向沖刷加上對管壁的縱向沖刷,眾所周知,橫向沖刷放熱係數要比縱向沖刷放熱係數高,從而可以提高煙氣側的放熱係數,它的提高可大大提高傳熱係數K。
針翅管傳熱計算
上述分析可知,在煙氣—水傳熱情況下,煙氣側放熱起主導作用針翅管煙氣側放熱由三部份組成,分別闡述如下:
煙氣通過針翅傳遞的熱量
煙氣橫向沖刷針翅排對流放熱,針翅吸收熱量後沿x軸傳向內管。由於針翅沿x軸方向有一溫度場分布,因此針翅的導熱也必須計算。下面對針翅的對流和導熱分別進行計算:
對流換熱牽涉到流體運動和換熱兩個方面,理論上可以用一組微分方程式來描述。即對流換熱微分方程、能量微分方程、動量微分方程和連續方程以及邊界條件來求解。這往往非常繁複甚至很難求解。因此工程技術上大多採用相似理論,用實驗整理成準則方程來解決對流放熱問題。
煙氣向針翅內管放熱
煙氣在沖刷針翅的同時還衝刷針翅管內管,如圖2所示。沖刷面積應為內管外表面扣去全部針翅截面積,由於針翅端面吸熱在計算針翅傳熱中未予計入,故可近似地將端面積算入向內管放熱的面積中。因此在計算本項傳熱量時,傳熱面積仍以內管外表面積計算。
煙氣向外管放熱
煙氣也同時沖刷外管放熱,沖刷方式為縱向沖刷外管內壁,若已知換熱面積和溫差亦可算出本項放熱量。
針翅管與普通煙管的比較
受熱面的比較
以1m長針翅管與相同長度的普通煙管進行比較。針翅管的煙氣側受熱面A由三部份組成,即內管外表面積A1,外管內表面積A2和針翅總外表面積A3。根據前述基本數據可以算得1m長針翅管A1=0.34m; A2=0.56m; A3=1.015m。則A=A1+A2+A3=1 .915m。 普通煙管按常用規格,設其直徑為d=0. 042m,壁厚0. 003m,則lm長普遍煙管煙氣側受熱面積(煙管內表面積)為:Ap=0. 113m單根針翅管與單根普通煙管受熱面積之比為:亦即說明一根針翅管煙氣側受熱面積要相當於相同長度17根普通煙管的受熱面積。
同受熱面與普通煙管束占面積比較
單根針翅管所占面積為偽94的圓,相同受熱面的普通煙管需17根再2的煙管束,所占面積為處90的圓。二者所占面積之比為1942: 2902=1:2. 23。也就是說,採用針翅管所占面積只需相同受熱面積普通煙管束所占面積的1:2. 230。

