基本介紹
1.道岔控制電路是由道岔起動電路和道岔表示電路兩部分組成。起動電路使電動轉轍機動作,以轉換道岔。表示電路則把轉換後的道岔位置反映出來。
2.道岔的控制方式有兩種:進路操縱,單獨操縱。
3.道岔起動電路的技術條件:
(1)進路處於鎖閉狀態.進路上的道岔應不能轉換。
(2)道岔區段有車占用或道岔區段軌道電路發生故障。道岔不能轉換。
(3)道岔一經起動.就應轉換到底。
(4)道岔起動電路接通後.由於電路故障。道岔沒有轉動,此時應能自動切斷起動電路。
(5)由於某種原因,道岔不能轉換到底,應能使道岔操回原位。
(6)道岔轉換到底,其起動電路應自動切斷。
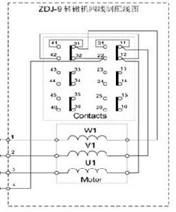
我國鐵路車站的大多數道岔採用ZD6型直流電動轉轍機牽引,室內與室外由四條電纜線路聯繫,稱為四線制道岔控制電路。在主要幹線及提速區段車站的正線道岔採用S700K型三相交流電動轉轍機或ZYJ一7型電液轉轍機、ZD(J)9型電動轉轍機等設備牽引道岔,使用五線制道岔控制電路。此外,還有ZD6型雙機牽引的六線制道岔控制電路等形式。
雙動道岔的控制電路
(1)因為雙動道岔的位置必須一致,因此它們的動作也一致,可用一套控制電路。
(2)在室內控制部分將單動道岔DCJ第六組換成雙動道岔的1DCJ和2DCJ第六組接點並聯,接通KF電源。而選反位時雙動道岔的2FCJ的第六組接點代替單動道岔的FCJ的第六組接點;因為選反位1FCJ和2FCJ動作一致,而2FCJ最後一個吸起。
四線制單動道岔控制電路
四線制單動道岔控制電路由道岔啟動電路和道岔表示電路兩部分組成,其中啟動電路是電動轉轍機動作電路,而表示電路是反映道岔位置的電路。
道岔啟動電路
(1)道岔啟動電路的技術要求
為了確保行車安全,道岔啟動電路必須滿足以下技術要求:
①進路在鎖閉狀態時,進路上的道岔應不能再轉換,對道岔的此種鎖閉稱為迸路鎖閉。在控制台或顯示器上用進路上點亮白光帶來表示已經對進路範圍內的道岔實行了進路鎖閉。
②道岔區段有車占用或道岔區段軌道電路發生故障時,該區段內道岔不應轉換,對道岔的此種鎖閉稱為區段鎖閉。在控制台或顯示器上用進路上點亮紅光帶來表示。
③道岔一經啟動,就應轉換到底,不受車輛進入影響,否則,在車輛進入道岔區段時,若道岔停轉,可能造成脫軌或擠岔事故。
④道岔啟動電路接通後,由於電路故障(如自動開閉器接點、電動機碳刷接觸不良等),使道岔未轉動,這時應能自動切斷啟動電路,以免由於鄰線列車震動等原因使故障消除後,造成道岔自行轉換。
⑤道岔轉換途中受阻(如尖軌與基本軌的軌縫夾有道砟等),使道岔不能轉換到底時,應保證經值班員操縱能使道岔轉回原位。
⑥道岔轉換完畢應能自動斷開啟動電路。
道岔表示電路
道岔啟動電路工作完畢,道岔控制電路應自動接通道岔表示電路,將室外站場上道岔的實際位置反映到信號樓內,以便於值班人員對信號設備進行控制和監督。由電動轉轍機的自動開閉器接點接通道岔表示電路,即用定位表示接點接通道岔定位表示繼電器DBJ電路;用反位表示接點接通道岔反位表示繼電器FBJ電路。
六線制道岔控制電路
六線制道岔控制電路(直流雙電動轉轍機控制電路)當採用12號60 kg/m AT型道岔時,用一台ZD6型電動轉轍機轉換道岔,轉換力和密貼力已不能滿足要求,行車安全得不到保證。所以,用兩台ZD6型電動轉轍機作牽引動力,實行兩點牽引,並要求兩台電動轉轍機同步動作。
在道岔雙機牽引方式中,以ZD6一E型電動轉轍機作第一牽引點動力,以ZD6一J型電動轉轍機作第二牽引點動力。六線制單動道岔控制電路與四線制道岔控制電路的原理基本相同,但具有以下特點:
(1)設定在第一牽引點的ZD6一E型電動轉轍機稱為主機;設定在第二牽引點的電動轉轍機ZD6一J稱為副機。在控制電路中,主機和副機並聯工作,同步運行,但主機和副機動程不同,當尖軌與基本軌密貼後,兩機同時鎖閉道岔。
(2)由於2DQJ的接點不夠用,而且為使主機和副機同步工作,增加2DQJF,其型號與2DQJ相同。將2DQJF的第一組和第二組極性接點並聯後從室內經分線盤引向室外的電動轉轍機,作為主機和副機的啟動電路和表示電路的公用線。
(3)六線制道岔表示電路室內部分共用,室外部分經主機和副機的自動開閉器表示接點串聯,檢查兩台電動轉轍機同步動作,並經過設定在副機內二極體Z整流後,使DBJ或FBJ吸起,給出道岔位置的正確表示。

