簡介
農村能源綜合建設縣項目
從“六五”(1981-1985)到“九五”(1996-2000)期間,在國家計委等部門的組織領導下,全國先後有300多個縣實施了“農村能源綜合建設縣項目”。
該項目的特點是以縣為單元,通過開展綜合規劃,因地制宜地開發當地的自然能源資源,示範推廣商品能源的節約利用技術,建立和完善農村能源組織管理和產業服務體系,從而全面解決本地區的能源供應與消費問題,促進生態環境的保護和改善,實現當地經濟與社會的可持續發展。
項目發展概述
太陽灶該項目始於“六五”期間(1981-1985)和“七五”期間(1986-1990)前後共18個縣開展的縣級農村能源綜合建設試點。“八五”期間(1991-1995)在國家計畫委員會的領導下,由農業部牽頭,聯合其他有關政府部門共八個部委,包括計委、經貿委、科委、財政部、農業部、林業部、水利部、電力部,在全國138個縣共同組織實施了農村能源綜合建設縣項目(簡稱“百縣”項目)。“九五”期間(1996-2000),八部委又在全國204個縣組織開展了農村能源綜合建設項目。前後總計共有358個縣實施了農村能源綜合建設項目。
建設指導思想
全面貫徹國家在農村地區的能源建設方針:“因地制宜、多能互補、綜合利用、講求效益”。根據項目縣能源建設的要求和本地區的具體條件,綜合規劃、合理安排、既合理開發利用當地的能源資源,又積極有效地利用商品能源,同時發展可再生能源產業,建立和完善當地的能源管理和技術服務體系,促進農村經濟、生態環境建設的協調發展。在實施過程中,緊緊依靠科技進步,推廣套用先進、適用的能源開發和能源節約技術,提高各類能源設備的技術性能和能源產品的質量檔次,增強農村能源產業的發展實力,提高其參與市場競爭的能力,實行能源建設與經濟發展、環境保護與社會進步相協調、相統一。
歷史發展進程
1、單項技術發展的缺陷
20世紀70年代的世界能源危機促使人們認識到能源問題的嚴重性和重要性。中國廣大農村地區長期經受著能源短缺的困擾,加之當時落後的農村能源工藝轉換技術和低效利用,更加劇了農村用能的緊張。國家要發展、要振興,對於一個農村人口占80%的中國來說,不首先解決農村地區的能源問題是難以想像的。
中國農村用能短缺的嚴重狀況引起了國家有關部門及廣大科技工作者的高度關注,各級科研機構也在不同層面先後進行了一些單項能源開發技術的試點。例如農村戶用沼氣、省柴節煤爐灶的推廣示範,太陽能熱利用技術(太陽灶、熱水器、太陽能幹燥)的試點示範、風能利用技術(戶用風力發電、風力提水)的試點示範,小水電開發和農村電氣化的試點建設,地熱利用技術的試點,薪炭林營造技術的試點等。
商品化省柴灶2、綜合建設試點
1983年和1985年,原國家經濟貿易委員會組織農農業部、林業部、水利部三部的有關業務部門及農業部農業工程研究設計院的科研人員,下達了為期三年的“縣級農村能源綜合建設試點研究”課題,對農村能源綜合建設進行理論與實踐的探索和研究。前後分兩批共選擇了六個縣開展農村能源綜合建設研究項目,探討在一個縣的範圍內貫徹國家農村能源建設方針“因地制宜、多能互補、綜合利用、講求效益”的途徑。三年後這些項目試點雖然是初見成效,卻已顯示出綜合建設很有活力,並引起有關部門的重視。
從“七五”開始(1986年),“縣級農村能源綜合建設”被列入國家科技攻關課題,要求加強科技力量,在更多的地區內進一步探討、總結出貫徹“十六字方針”的模式。由農業部、中國科學院、林業部、水利部、國家教委、機電部、能源部共同主持,科學試驗期限為五年。該項目選擇了12個不同類型的縣作為試點,經過五年鍥而不捨的聯合攻關,最後提出了12種類型區縣級農村能源綜合建設模式、80多項配套技術。試點縣的類型豐富、代表性廣泛,並且引進了國際上先進的項目評估、信息處理等先進技術。
12個試點縣的項目建設取得了顯著的能源、經濟和生態等綜合效益。能源開發量增長27%,節約量達87萬噸標煤,人均生活用能提高25%,林木覆蓋率平均增加6個百分點,每年增加7萬噸有機肥,能源建設的投入產出比為1:5。12個縣農村能源綜合建設的科研課題共有74個國家級和省級大專院校、科研單位近千名科技工作者參加,取得的科研成果於1991年獲得農業部的科技進步一等獎,1992年又獲得了國家科技進步二等獎。
3、規模化示範推廣
進入九十年代,全球關注可持續發展。中央政府在18個縣的成功試點的實踐基礎上,決定大規模地推進以縣為單元的農村能源綜合建設。由國家計委、經貿委、科委、財政部、農業部、林業部、水利部、電力部聯合,自1990年至1995年,在全國開展了138個縣農村能源綜合建設項目(簡稱百縣項目)。“九五”期間(1996-2000年)又組織了204個縣開展農村能源綜合建設項目。也就是說自1983年起,開展農村能源綜合建設縣的總數已達358個。
措施與作用項目技術路線
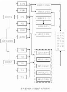
農村能源綜合建設的核心就是要把能源、經濟和生態環境作為一個有機整體,在能源建設中既要考慮社會經濟發展的要求,又要考慮生態環境能幹的承受能力,以最終達到能源、經濟和環境相協調和共同發展的目標。
農村能源綜合建設的技術路線為“以軟科學為指導,硬科學技術為基礎,試驗示範為手段,普及推廣有規模,最終取得綜合效益”。作為縣域一級的農村能源綜合建設,用大系統的觀點,綜合建設的思路,先進適用技術為手段,結合當地資源、經濟條件以及社會、經濟發展目標和生態環境改善的要求,統一規劃,綜合系統地開發和利用當地的能源資源,合理利用和節約商品能源,建立起多能互補的供能、用能體系,建立並完善農村能源組織領導和產業服務體系,最終取得能源、經濟、生態、社會綜合效益。
技術路線2) 以硬技術為基礎是指在綜合規劃的基礎上,通過利用不同的單項能源技術開展能源項目建設。單項技術的套用要講求綜合利用,系統技術要講求最佳化組合,注意相互配套,強化總體功能和綜合效益,確保推廣技術的先進性、適用性和經濟性。
3) 試驗示範和推廣套用相結合。
經過試驗、示範等手段,對技術上可靠、經濟上可行的能源技術進行規模化推廣套用,以獲得規模效益。
4) 單項效益評價和綜合評價。
對單項能源技術進行經濟評價及效益分析,為各種工藝技術的擇優排序和大面積的推廣套用提供科學依據,而綜合評價則是對項目建設縣產生的經濟、生態、社會等一系列效益等進行綜合分析和評價。
項目組織與管理
1、組織機構
組織機構圖縣級建設項目包括了農業綜合開發,農村電氣化、小水電、小流域治理、綠化達標、鄉企節能和科技扶貧等多項內容,要在縣項目領導小組領導下,按照縣的經濟社會發展要求,綜合規劃、統籌安排。縣各有關部門按業務分工,對所列建設項目實行全過程的管理,跟蹤和服務,實行政策傾斜,在人力、物力上給予支持。
項目建設在國家級層面和各項目省分別設立專家指導組,指導各省及各縣做好綜合規劃,並提供技術信息,組織專項技術指導,開展政策研究,及時向主管領導提供諮詢建議。專家組參與項目全過程的管理及階段評估和最後評估。2、管理制度
1)實行契約制度。農村能源綜合建設項目實行契約制。實行契約制的目的是便於項目管理,保證工作的正常運轉。
項目建設委託單位為國家八部委,承擔單位為縣級人民政府、保證單位為省計委及省農村能源辦公室。縣政府在縣農村能源綜合規劃的基礎上,編寫契約書、送省計委、省農村能源辦審查、簽字後報送八部委項目領導小組辦公室,審查同意後正式立項。
2)實行報表制度。採用計算機管理、建立信息管理體系,採用資料庫管理方法,各縣配備計算機,實行計算機管理。
報表要反映綜合建設進展情況及分年度的進度;反映建設項目執行前、後全縣有關方面的變化情況及取得成果以及經濟、社會效益。
各項目縣的組織工作經費由國家計畫委員會納入國家計畫,給予一定額度的工作經費,各項目縣所在的省、市、縣按一定比例給予工作經費配套。各種能源建設項目的投資則來源於建設單位或個人的自籌資金及貸款。
4、培訓與交流開展各種技術及管理人員培訓。培訓教材由國內外專家共同研討編寫和授課。培訓對象是省、縣兩級的能源業務管理人員,每個項目縣不少於6人。
編輯發行“項目工作通訊”,介紹各項目縣工作經驗及先進典型,向國內外傳播中國農村能源綜合建設信息。
制定項目管理評比辦法,進行階段及最終的考核。
縣級農村能源綜合建設完成後,由縣人民政府向國家、省領導小組提出驗收申請,由國家、省計委牽頭組織成立驗收組,依據各縣項目契約書,對照總目標進行檢查、驗收。
契約目標驗收合格者,由主管部門批准“掛牌”,即授予“農村能源綜合建設縣”銅牌,以示表彰。
選派綜合建設的相關科技人員和管理人員出國考察學習。對口學習相關技術的最新進展,產業化情況,農林業的信息收集處理系統等,以提高中國農村能源綜合建設人員的水平。
項目建設成就
“八五”期間138個縣農村能源綜合建設的主要成就
1、增加了農村能源的有效供給
“八五”期間,項目區的能源消費總量增加了45%,其中,用電量增加了115%,天然氣、石油液化氣、沼氣等優質燃料增加80%左右。農村能源綜合建設推動了農村能源消費向高品位、優質化方向邁進。到1995年,整個項目形成了年開發1000萬噸標準煤的能力,增加的能源供應量占項目區當年能源消費總量的10%以上,實現了1100多萬噸標準煤的年節能能力,相關於項目區能源供應量10%左右。這“一增一節”有效地緩解了項目區商品能源供需矛盾。
2、促進了農村經濟發展和社會進步
“八五”項目區內的電力供應由1990年的141億千瓦時增加為1995年的305億千瓦時,而鄉、村、戶的通電率則由93.5%、88.9%、85.4%增為99%、97.9%和94.7%。農村電力供應的增加極大地促進了農村經濟尤其是鄉鎮企業的發展,同時有力推動了農村物質文明和精神文明建設。
農村能源綜合建設項目實施,把農村能源建設與發展農業生產和農民脫貧致富緊密結合,有力地支持了“兩高一優”農業,“菜欄子”工程建設,“八七”扶貧攻堅計畫,和“小康工程建設”。
如“八五”農村能源綜合建設中,出現了一些具有地域特色的農村能源建設模式,如江西贛州、湖北江陵、廣西恭城等地的“豬沼果”模式和以沼氣為紐帶的“錢、糧和環境”協調發展模式。“豬沼果”模式是指一個農戶在承包的一公頃山地上建房與修建豬舍的同時,修建1-2個8立方米的沼氣池,同時種植果樹,形成一個小型的家庭生態農場。農民在這一環境中生活生產,養豬的同時及時使人畜糞便入沼氣池進行厭氧發酵,居住環境衛生得到改善的同時,經厭氧發酵的糞便轉化成富含氧、磷、鉀有機肥料為果樹施肥,節省了化肥投資,且改良了土壤,土壤有機質逐年提高,同時沼氣池為農戶提供了充足的生活燃料─沼氣。這一模式達到了一年收益,二年脫貧,三年致富,五年實現小康的效果。
又如遼寧省等北方各地推廣套用的將沼氣、豬舍、廁所、大棚溫室有機結合在一起的“四位一體”“北方農村能源生態模式”。在這個模式中,日光溫室的適宜溫度為冬季的蔬菜種植和豬禽生育創造了良好的生長條件,同時保證了北方寒冷地區的沼氣池常年正常運轉,使沼氣池技術在北方農村的推廣套用發生了革命性的變化。人畜糞便及時入沼氣池,解決了沼氣發酵原料,同時淨化了養殖環境,沼氣池則為大棚蔬菜的生產提供了豐富的經厭氧發酵後的有機肥料。日光溫室與畜禽暖圈相連,形成了動植物生長所需的氧氣和二氧化碳的互補。利用這樣一個“四位一體”生產系統,農民靠養豬、種菜可實現投資當年便可收回成本,達到二年脫貧,三年致富,五年達小康的效果。由於日光溫室常年使用有機肥,土壤有機質逐年增加,徹底解決了溫室生產過去使用化肥造成土壤板結的難題。
沼液綜合利用農村能源綜合建設項目的實施改善了農村生態環境保護,促進了農業生產的良性循環。
――通過植樹造林、封山育林、營造薪炭林使森林資源得到有效保護。“八五”百縣建設,五年中植樹造林和營造薪炭林112萬公頃,改造殘次林58萬公頃,項目區森林覆蓋率平均由初期的26.7%提高到33.9%。由於大力推廣省柴節煤爐灶、高效架空炕和戶用燃池等節能技術,使得天然林得到保護,弱幼林免遭破壞,亂砍濫伐現象得到控制,保證了林業建設的發展。
――通過治理水土流失,改善了生態環境。通過植樹造林與小流域綜合治理,發展林、灌、草混交,林、果、草間作,採用立體開發等技術措施,使植被覆蓋率得到提高,加之山坡地退耕還田,使項目區生態環境得到改善。“八五”項目期內,水土流失嚴重的35個縣,水土流失控制和治理面積平均達到38%。
――加強三廢治理,大氣環境得到改善。通過三廢治理、企業節能技術改造、引進技術等綜合措施,項目縣的環境質量明顯改善。“八五”期間百縣鄉鎮企業及生活、生產用能五年累計共減少CO2排放量475萬噸,SO2排放量2.7萬噸。
4、初步形成了農村能源產業化體系
改革開放前由於中國農村長期存在的小農經濟模式,以及農村地區用能分散,規模小的特點,還談不上農村能源產業體系。農民生活用能設施如柴灶等大多為手工搭砌,商品化程度很低。隨著改革開放和農村市場機制的逐步形成,以及4個五年計畫農村能源綜合建設的發展,農村能源的開發利用已開始逐步形成產業化體系。儘管它當時還比較弱小,卻已成為中國農村經濟中一支新興的工業體系。
農村能源產業體系的發展方向就是要使農村能源建設中所需的能源設備(如太陽熱水器、省柴節煤灶具、沼氣池及其附屬配件、小水電設備等做到工廠化生產、商品化經營、社會化服務,使產品達到系列化、標準化、規範化。
在實施農村能源綜合建設縣項目的過程中,中央項目領導小組明確提出要把建立和完善農村能源產業和服務體系作為綜合建設的重要內容。隨著綜合建設的不斷深入發展,農村能源產業逐漸發展壯大。“八五”期間,經過五年的努力,在百縣範圍內,農村能源產品已達上百種,生產企業和服務公司(站)達500多家,從業人員3萬多人,年產值和營業額達4億元人民幣,年創利稅2700萬元人民幣。
農村能源綜合建設縣項目使得“圍繞事業辦產業,辦好產業促事業”思想得以落實和實現,並成為農村能源建設持續發展的動力之一。以“八五”綜合建設縣江蘇省邗縣為例,短短五年,在縣農村能源辦領導下,建立了能源環境工程公司、太陽熱水器生產廠、液化石油氣站等多個企業和公司,並形成一定規模。如太陽熱水器廠引進了一條國內先進的太陽能真空管生產線,年產真空管60萬支,兩個熱太陽能水器生產廠年產真空管熱水器6000台套以上,1995年即實現年產值2000多萬元人民幣,計畫幾年內使年產值達2億元人民幣。
5、形成了一支既有理論又有實踐經驗的農村能源綜合建設的專家諮詢隊伍
農村能源綜合建設的實施,從一開始就有各行各業各部門的專家參加,近二十年的實踐造就了一大批能深入農村,又有較深理論修養,掌握多項能源工藝技術的農村能源綜合建設專家人才。通過學習吸收國際先進技術,他們能從綜合規劃、項目評估、項目設計、信息數據處理,工藝施工等各個方面對項目實施縣進行有效地技術諮詢。這支隊伍現已實現了老,中,青梯次配置,為今後農村能源綜合建設提供技術保障。
6、培養和造就了一大批從事農村能源綜合建設既懂管理又有技術的基層人員
農村能源綜合建設實施的主體是項目實施的縣從事農村能源建設的管理和技術人員,他們通過國家及省建設項目綜合規劃培訓,不同層次的技術培訓、計算機數據處理培訓等業務素質得到了提高,經過五年的實踐鍛鍊,已成長為各地區進行農村能源綜合建設的有生力量,使各地區的農村能源建設的深入繼續發展有了可靠的組織保證。
7、依靠科技進步,項目的科技含量不斷提高
農村能源綜合建設項目一開始就注重科學技術的運用,隨著農村能源建設的深入發展,項目的技術含量不斷提高。如在磚瓦窖、水泥生產和工業窖爐等鄉鎮企業改造項目中,各地大力採用最新的研究成果或國家推薦的重點推廣套用項目、高效工業鍋爐、高效低耗節能變壓器、電機、工業餘熱回收技術均取得了降低能耗、減少污染和綜合利用的效果,太陽能熱利用中真空管集熱器,北方被動式太陽房的大力普及,利用合理採光時段設計的改造日光溫室,太陽能溫室養殖、繁育高附加值水產品技術,風能利用中的風柴、風電、風柴電互補技術、光電互補技術、秸桿氣化集中供氣示範技術、秸桿緻密成型技術,在中國北方發展起來的高效組裝架空炕,以及戶用燃池技術,特別是戶用沼氣綜合利用技術的新發展,形成了多種具有地域特色,以沼氣為紐帶的綜合利用模式。
能源建設促進生態文明8、中國農村能源綜合建設的實踐引起了國際社會的普遍關注
具有中國特色的農村能源綜合建設,經過幾個五個計畫的實踐及不斷地總結提高,已形成為一個有科學理論指導,實踐經驗豐富,可操作性強的系統工程體系。它有確切的指導思想、切實可行的技術路線、明確的工作程式及嚴謹的項目管理辦法,將中國農村能源建設提高到一個新的水平。
