簡介
起子頭(英文:SCREWDRIVER Bits),又稱為批嘴,地區的差異有不同的名稱,螺絲刀頭、批頭等。起子頭是現代製造業不可缺少的工具,廣泛套用於組裝作業中。其作用主要是結合電動起子/氣動起子等工具進行產品組裝,將各類螺絲鎖緊或松退,以達到提升生產力,提高工作效率的最終目的。
起子頭種類
在製造業中,廠商會依據其產品組裝過程中對螺絲聯接的不同要求,套用不同型號及樣式的起子頭進行組裝作業;
其中,起子頭的型號選擇主要的依據有:扭力,聯接工位,螺釘槽大小,螺釘工位對長度和變徑的要求等等;
起子頭的樣式的選擇主要考慮到禁止終端用戶的非專業私自拆裝,造成產品的不可靠,生產廠商常會採用樣式怪異的螺絲進行聯接作業,使得普通螺絲刀無法進行拆裝;這樣就要求有與之相匹配的起子頭進行生產作業。
Φ4mm及Φ5mm:指與電動起子聯接部分界面為圓形,直徑為4mm及5mm的起子頭;台灣地區、日本等生產的電動起子多採用此型號的起子頭;
Φ6mm:指與電動起子聯接部分界面為圓形,直徑為6mm的起子頭;國內生產的電動起子多採用此型號的起子頭;
H1/4"(6.35mm)及H5mm:指與電動起子聯接部分界面為正六邊形,對邊距離為四分之一英寸(6.35mm)及5mm的起子頭;日本及歐美生產的電動或氣動起子多採用此型號的起子頭;
還有6.0MM及8.0MM衝擊起子頭及C型,D型等等
國內常用起子頭頭型
常見起子頭 頭部類型 S型:一字頭;
PH型:十字頭;
T型:梅花頭;
T型:帶孔梅花頭; SR型:方頭; TS型:四翼形頭 TR型:三角頭;TW型:風車型; P型:米字頭 H型:內六角頭; MM: 眼鏡蛇頭;
國際常用起子頭頭部
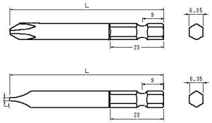
國際常見起子頭頭部 國內常見起子頭夾位
D型、一字型、ø4、ø5、ø7、3mm、5.5mm、6.35mm、8mm、11mm、M5、M6等
起子頭夾點陣圖
起子頭夾位 起子頭實例描述
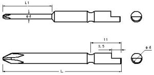
右圖(以截面是圓型的型號為例)中各個參數意義:
十字頭 PH:起子頭的樣式為PH型(十字);
L:起子頭總長度;
l:變徑部分的長度;
ΦD:起子頭與電動起子聯接部分的截面的直徑;
Φd:變徑部分的截面的直徑;
ΦG:PH型與螺絲聯接部分的壁厚:
十字頭
十字頭
十字頭 