自鎖裝置
為防止其自動產生軸向移動而造成自動掛擋和自動脫擋,並保證各擋傳動齒輪(接合齒圈)以全齒長嚙合,需要在變速器操縱機構中設定自鎖裝置以便能夠對各擋撥叉軸進行軸向定位鎖止。
圖1 自鎖如圖1所示,變速器自鎖裝置一般多由鋼球1和彈簧2組成。
在變速器蓋3 的前端凸起部鑽有三個深孔,位於三根撥叉軸6 的正上方,孔中裝入自鎖鋼球1及自鎖彈簧2。每根撥叉軸對著鋼球1的一面有三個凹槽(槽的深度小於鋼球半徑),中間凹槽對正鋼球時是空擋位置,左或右凹槽對正鋼球時則處於某一工作位置,相鄰凹槽之間的距離等於接合套(或滑動齒輪)由空擋換入相應擋(保證全齒長嚙合)的距離。自鎖鋼球被自鎖彈簧壓入撥叉軸的相應凹槽內,起到鎖止擋位的作用,防止自動換擋和自動脫擋。
換擋時駕駛員通過變速桿對撥叉軸施加一定的軸向力,該力克服彈簧的壓力而將自鎖鋼球從撥叉軸凹槽中擠出並推回孔中,撥叉軸滑過鋼球進行軸向移動,並帶動撥叉及相應的接合套(或滑動齒輪)軸向移動,當撥叉軸移至其另一凹槽與鋼球對正時,鋼球壓入該凹槽中,此時撥叉所帶動的接合套(或滑動齒輪)被撥入空擋或另一擋位。
互鎖裝置
其作用是阻止兩個撥叉軸同時移動,即當撥動一根撥叉軸軸向移動時,其他撥叉軸被鎖止,可防止同時掛入兩個擋。
互鎖裝置的結構形式很多,最常用的有鎖球式、鎖銷式和鉗口式。
鎖球式互鎖裝置
圖2 鎖球式互鎖圖2所示的互鎖裝置為鎖球式互鎖裝置。它由互鎖鋼球4和互鎖銷6組成。
每根撥叉軸朝向互鎖鋼球的側表面上都制有一個深度相等的凹槽,中間撥叉軸上兩個凹槽之間有孔相通,孔中有一根可以移動的互鎖銷6,銷的長度等於撥叉軸的直徑減去一個凹槽的深度。變速器在空擋時,所有撥叉軸的側面凹槽與鋼球、互鎖銷都在一條直線上。兩個互鎖鋼球的直徑之和正好等於相鄰兩軸之間的距離加上一個凹槽的深度。
當移動撥叉軸3 時(見圖2a),其兩側的內鋼球從側凹槽中被擠出,而兩側的外鋼球2、4 分別嵌入撥叉軸1、5 的側面凹槽中,將軸1、5鎖止在空擋位置。同樣,欲移動撥叉軸5,應先將撥叉軸3 退回到空擋位置(見圖26b),撥叉軸5移動時鋼球4從凹槽擠出,通過互鎖銷6推動另一側兩個鋼球移動,撥叉軸1、3都被鎖止在空擋位置上。移動撥叉軸1 時(見圖2c),撥叉軸3、5 被鎖止在空擋位置。
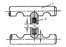
鎖銷式互鎖裝置
圖3 鎖銷式互鎖圖3 所示為鎖銷式互鎖裝置,由鎖銷和自鎖彈簧組成,其特點是自鎖和互鎖合二為一。兩個空心鎖銷1 內裝有彈簧2,在圖示位置(空擋)時,兩鎖銷內端面的距離a等於槽深b,不可能同時撥動兩根撥叉軸(互鎖)。自鎖彈簧2 的預壓力和鎖銷對撥叉軸起自鎖作用。
鉗口式互鎖裝置
圖4 鉗口式互鎖圖4 所示為鉗口式互鎖裝置。
鉗形板3用銷軸4固定在變速器蓋內,鉗形板可以繞銷軸轉動,變速操縱桿1下端的頭部位於鉗形板的鉗口中,三個換擋撥塊2分別固定在三根撥叉軸上。當變速桿頭部進入某一換擋撥塊的凹槽內時,鉗形板的一個鉗爪或兩個鉗爪將擋住其餘換擋撥塊的凹槽,使之不能移動而起互鎖作用。
倒擋鎖裝置
其作用是提醒駕駛員,防止誤掛倒擋,提高安全性。即掛倒擋時,駕駛員必須進行與掛前進擋不同的操縱方式或對變速桿施加較大的力,才能掛入倒擋。
圖5 倒擋鎖倒擋鎖也有多種類型,常用的是彈簧鎖銷式。圖5所示為某五擋變速器中常用的倒擋鎖裝置。它由一擋、倒擋撥塊中的倒擋鎖銷1及彈簧2組成。駕駛員選一擋或倒擋時,必須有意識地用較大的力向側面擺動變速桿(圖示向左),使其下端球頭右移壓縮彈簧2,將鎖銷1推向右方,變速桿下端才能進入倒擋撥塊3的凹槽內,以撥動一擋、倒擋軸5而掛入一擋或倒擋。
