薄膜式氣動量儀
Membrane type pneumatic measuring instrument
定義1、薄膜式氣動量儀
利用氣動感測器,將被測尺寸的變化轉換成膜片間上下氣室壓力差變化,並用指示表指示的直線比較測量單元。
2、初始間隙
氣動量儀的示值處於示值範圍內的最小示值時,工件與測量噴嘴端面間的間隙。如圖1
13、零位間隙
氣動量儀的示值處於示值範圍的中點時,工件與測量噴嘴端面間的間隙。如圖1
4、控制信號變動性
在測量條件不作任何改變的情況下,對同一控制信號進行多次重複測量,其結果的最大差異。
5、示值穩定度
在示值範圍內任意一點上,以0.39MPa的工作壓力通氣4h,示值保持不變的能力。
6、工作壓力
經穩壓器穩壓後的空氣壓力。
氣動量儀的型式
1、氣動量儀的型式和主要部分名稱如圖2(圖示型式僅供參考)。
22、輸入接頭、輸出接頭、零位噴嘴的連線尺寸為G1/4。
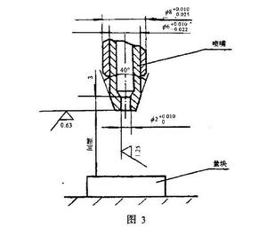
3、測量噴嘴的結構尺寸如圖3.
3技術要求
1、外觀和相互作用
外表面的塗層和鍍層不應有剝落、生鏽等缺陷。
測量噴嘴不應有碰傷、劃傷和變形。
氣動量儀不應有影響使用性能的漏氣。
各運動部分應靈活、可靠,不允許有卡滯、鬆動或卡死現象。
刻度盤上的刻線、數字及其他標誌應正確、均勻、清晰。指針不應扭曲,表蒙應透明無色以及不應有氣泡、裂紋和影響外觀及讀數的疵病。
2、性能指標
當電源頻率為50Hz、電壓在額定值的90%~110%範圍內變化時,觸點閉合後繼電器應保持吸合可靠。
當電壓為500V時,電源插座的一個接線端與機殼、觸點對機殼、觸點對觸點的絕緣電阻應大於5MΩ;交流電壓為1000V時,耐壓試驗1min,不應有擊穿現象。
氣動量儀連續測量10000次後,觸點的極限位移量不大於1個分度值。
3、技術條件
氣源壓力為0.49~0.79MPa時,經過過濾器和穩壓器穩壓後的工作壓力應為0.39MPa±0.02MPa。
氣動量儀輸出接頭(見圖2)與測量噴嘴之間用塑膠軟管連線,其內徑為4mm,壁厚不小於1.5mm,長度為1.5mm。
