基本類型
電源短路
即電流不經過任何用電器,直接由正極經過導線流回負極。特別容易燒壞電源。
由於電源內阻Ro較小,短路電流Is較大,電源的端電壓為0,這時電源的電動勢全部降在內阻上。短路電流可能使電源遭受機械的與熱的損傷或毀壞,短路時電源所產生的電能全被內阻所消耗,短路通常是一種嚴重事故,應該盡力預防。
用電器短路
暴風雨造成的電力系統短路也叫部分電路短路。即一根導線接在用電器的兩端(電流表並聯,閉合的開關並聯),此用電器被短路,容易產生燒毀其他用電器的情況 。
三相系統短路
三相系統中發生的短路有 4 種基本類型:三相短路,兩相短路,單相對地短路和兩相對地短路。其中,除三相短路時,三相迴路依舊對稱,因而又稱對稱短路外,其餘三類均屬不對稱短路。在中性點接地的電力網路中,以一相對地的短路故障最多,約占全部故障的90%。在中性點非直接接地的電力網路中,短路故障主要是各種相間短路。
發生短路時,電力系統從正常的穩定狀態過渡到短路的穩定狀態,一般需3~5秒。在這一暫態過程中,短路電流的變化很複雜。它有多種分量,其計算需採用電子計算機。在短路後約半個周波(0.01秒)時將出現短路電流的最大瞬時值,稱為衝擊電流。它會產生很大的電動力,其大小可用來校驗電工設備在發生短路時機械應力的動穩定性。短路電流的分析、計算是電力系統分析的重要內容之一。它為電力系統的規劃設計和運行中選擇電工設備、整定繼電保護、分析事故提供了有效手段。 電氣線路上,由於種種原因相接或相碰,產生電流忽然增大的現象稱短路。相線之間相碰叫相同短路;相線與地線、與接地導體或與大地直接相碰叫對地短路。在短路電流忽然增大時,其瞬間放熱量很大,大大超過線路正常工作時的發熱量,不僅能使絕緣燒毀,而且能使金屬熔化,引起可燃物燃燒發生火災。
短路容量
短路容量是反映電力系統某一供電點電氣性能的一個 特徵量。短路容量是對電力系統的 某一供電點而言的,反映了該點的某些重要性能,如該點帶負荷的能力和電壓穩定性、該點與電力系統電源之間聯繫的強弱、該點發生短路時、短路電流的水平等。其次,短路容量也和整個系統的容量有關。隨著電力系統容量的擴大,系統短路容量的水平也會增大。高壓開關設備的額定容量中,已將短路容量改用短路電流值,如額定開斷電流。
短路原因
元件損壞
短路往往是由於絕緣損壞或接線不慎所引起的。例如設備絕緣材料老化,設計、製造、安裝、維護不良等造成的設備缺陷發展成為短路 。
氣象條件影響
例如雷擊過後造成的閃爍放電,由於風災引起架空線斷線和導線覆冰引起電線桿倒塌等。
人為破壞
例如工作人員帶負荷拉閘,檢修線路或設備時未排除接地線合閘供電,運行人員的誤操作,偷電線和美國的科索沃戰爭、伊拉克戰爭時使用的碳纖維彈。
其他原因
挖溝損傷電纜,鳥獸風箏跨接在載流裸導體上等。
短路後果
產生大電流
短路有時會產生上萬甚至十幾萬安的大電流。因此會產生大量的熱量,損毀設備,電弧會將許多元件短時間融化。同時,產生的電流還會帶來一定的電磁力,它同樣會損壞設備。同樣可能造成重大火災及傷害事件。
造成低電壓
它會使電氣設備無法正常工作。這種危害在醫院礦山時會引起危險。
其他
還有干擾抑制與破壞系統的穩定運行,線損,熱損,無功功率等增大,影響通信,通訊等等。
短路時,電流會往電阻較小(或電阻忽略不記的導線)的用電器(或導線)流,導致被短路的用電器(或電源)無法正常工作。
短路之後燈泡兩端的電壓為0,燈泡不發光 ,此時迴路中的電流會很大(如果迴路中只有燈泡一個用電器),因此迴路中的電流表容易被燒壞,電源也容易被燒壞。
短路電流計算
計算條件
(1)正常工作時,三相系統對稱運行。
(2)所有電源的電動勢相位角相同。
(3)系統中同步異步電動機均為理想電機, 不考慮電機磁飽和磁滯渦流及導體集膚效應等影響,轉子結構完全對稱,定子三相繞組空間位置差120度電氣角。
(4)電氣系統中的磁路不飽和, 即帶鐵心的電氣設備電抗值不隨電流大小發生變化。
短路計算(5)電氣系統中所有電源都在額定負荷下運行,其中50%負荷在高壓母線上,50%負荷在系統側。
(6)同步發電機具有自動調整勵磁裝置。
(7)短路發電在電流為最大值瞬間。
(8)不考慮短路點電弧阻抗和變壓器的勵磁電流。
(9)除計算短路電流衰減時間和低壓網路的短路電流外, 元件的阻抗略去不計。
(10)元件的計算參數都取其額定值。
(11)輸電線路的電容略去。
(12)用機率統計法制定短路電流運算曲線 。
一般規定
(1)在驗算導體和電氣設備的動穩定, 熱穩定以及設備開斷電流時所用的短路電流, 應按可能發生最大短路電流的正常接線方式, 而不應僅按在切換過程中可能並列運行的接線方式。
(2)選擇導體和電氣設備用的短路電流, 在電氣連線的網路中, 應考慮具有反饋作用的異步電動機的影響。
(3)選擇導體和電氣設備時, 對不帶電抗器迴路的網路, 計算短路點應選擇在正常方式時的短路電流為最大的地點。
(4)導體和電容的動穩定, 熱穩定以及電氣設備的開斷電流一般按三相短路計算 。
計算步驟
假設條件
發電機在短路的實際計算中, 為了能在準確範圍內迅速地計算短路電流, 通常採取以下簡化假設。
(1)不考慮發電機的搖擺現象。
(2)不考慮磁路飽和,認為短路迴路各元件的電抗為常數。
(3)不考慮線路對地電容, 變壓器的磁支路和高壓電網中的電阻, 認為等值電路只有元件電抗。
在進行短路電流計算以前, 應根據計算的目的收集有關資料, 確定計算等值條件, 然後根據運算條件作出計算電路圖, 再根據它對各故障點的情況作出等值電路圖,然後利用網路化簡規則,將等值電路化簡,求出迴路總電抗。
網路化簡時等值電源合併的原則
(1)與短路點的電氣距離相差不大的的同類型發電機可以合併。
(2)遠離短路點的同類型發電廠可以合併。
(3)直接連線於短路點上的發電機(或發電廠)應予以單獨考慮。
(4)網路中功率為無限大的電源應該單獨計算, 因為它提供的短路電流周期分量是不衰減的 。
計算方法
電力系統短路電流的計算方法通常有三種, 即標麼值法, 短路容量法( 又稱MVA法)和有名單位製法(又稱歐姆法),高壓系統中,一般採用標麼值法。
(1)假設S =100MVA, U =Uav,Uav =1.05Ue
式中 S—基準容量(MVA)
U—基準電壓(kV)
Uav—各電壓級的平均額定電壓(kV)
Ue—各級額定電壓(kV)
(2)求變壓器電抗標麼值
短路[物理學定義]式中 X —變壓器電抗標麼值
Ud%—變壓器短路電壓百分比
S—變壓器額定容量( MVA)
兩台同型號變壓器並聯,總電抗標么值為單台的一半。
(3)求線路電抗的標麼值
短路[物理學定義]式中 X—線路電抗標麼值
X—線路電抗(Ω/km)
L—線路長度(km)
註:兩條同型號架空線並聯,總電抗標麼值為單條的一半。
(4)求短路電流
短路[物理學定義]式中 I —短路電流標麼值(kA)
(5)求衝擊短路電流
短路[物理學定義]式中,i—衝擊短路電流(kA)
限制措施
繼電保護為保證系統安全可靠地運行, 減輕短路造成的影響, 除在運行維護中應努力設法消除可能引起短路的一切原因外, 還應儘快地切除短路故障部分, 使系統電壓在較短的時間內恢復到正常值。為此,可採用快速動作的繼電保護和斷路器,以及發電機裝設自動調節勵磁裝置等。此外,還應考慮採用限制短路電流的措施,如合理選擇電氣主接線的形式或運行方式,以增大系統阻抗,減少短路電流值;加裝限電流電抗器;採用分裂低壓繞阻變壓器等。主要措施如下:
(1) 做好短路電流的計算,正確選擇及校驗電氣設備,電氣設備的額定電壓要和線路的額定電壓相符。
(2) 正確選擇繼電保護的整定值和熔體的額定電流,採用速斷保護裝置,以便發生短路時, 能快速切斷短路電流, 減少短路電流持續時間, 減少短路所造成的損失。
(3) 在變電站安裝避雷針,在變壓器附近和線路上安裝避雷器,減少雷擊損害。
電力系統(4) 保證架空線路施工質量,加強線路維護,始終保持線路弧垂一致並符合規定。
(5) 帶電安裝和檢修電氣設備,注意力要集中,防止誤接線,誤操作,在帶電部位距離較近的部位工作,要採取防止短路的措施。
(6) 加強管理,防止小動物進入配電室,爬上電氣設備。
(7) 及時清除導電粉塵,防止導電粉塵進入電氣設備。
(8) 在電纜埋設處設定標記,有人在附近挖掘施工,要派專人看護,並向施工人員說明電纜敷設位置,以防電纜被破壞引發短路。
(9) 電力系統的運行、維護人員應認真學習規程,嚴格遵守規章制度,正確操作電氣設備, 禁止帶負荷拉刀閘、 帶電合接地刀閘。 線路施工, 維護人員工作完畢,應立即拆除接地線。要經常對線路、設備進行巡視檢查,及時發現缺陷,迅速進行檢修 。
防護措施
經常檢查電氣設備和線路的絕緣情況是一項很重要的安全措施。此外,為了防止短路事故所引起的後果,通常在電路中接入熔斷器或空氣斷路器,以便短路發生時,能迅速將故障電路自動切除 。
除此之外,有很多限制短路電流的技術措施,如:
限流電抗器①合理的電源布局與接入方式,以及合理的網架結構,這是採用其他限流措施之前的首選方案,不適用於已有電網;
②發展更高電壓等級的電網,已有電壓等級電網解列、分層、分區運行,具有明顯的限流效果,也是根本的限流措施,但犧牲了一定的供電可靠性;
③直流聯網限流效果明顯,但成本高,僅從限流角度考慮經濟性較差,而且多點直流輸電技術的實用化還需時間;
④採用限流電抗器及高阻抗變壓器等常規限流措施,具有一定的限流效果,但存在正常運行損耗及可能影響電網運行穩定性等問題;
⑤研究新的限流技術,開發新一代限流裝置,它們目前正以其優良的限流特性而倍受關注,其中尤以超導限流器和新型固態限流器為最 。
典型套用
並非所有短路都是壞事,有時還需要利用短路來實現保護或者工作。具體套用有以下幾個方面。
1 短路在保護接零系統 (TN 系統 ) 中的套用
圖3在圖3中,設備外殼通過保護線與線路中N線作電氣上的可靠連線,當設備的外殼與帶電體相碰(漏電)時,保護線起到製造短路的作用。電流將從設備外殼經由零線流回中性點。由於零線電阻很小,所以這一短路電流很大,而經由人體到中性點的這條通路電阻很大,電流幾乎為零。由此產生的大電流迫使線路中的保護元件作(如熔斷器或斷路器跳閘),使設備迅速脫離電源,從而避免觸電事故的發生。而且總希望此時短路電流越大越好,因為短路電流越大,保護元件動作越快。可見在這種情況下,就是依靠短路電流達到保護的目的。
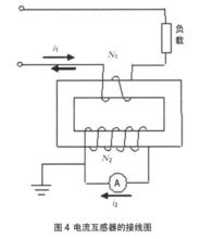
2 短路在電流互感器運行中的套用
圖4電流互感器主要用來擴大測量交流電流量程,也是為了使測量儀表與高壓電路隔開,以保證人身與設備的安全。其接線圖如圖4所示。
短路[物理學定義]
短路[物理學定義]
短路[物理學定義]運行中的電流互感器二次側絕對不允許開路。因為它的一次繞組是與負載串聯的,其中電流 的大小取決於負載的大小。如果二次繞組電路斷開,二次繞組的電流和磁通勢立即消失,但一次繞組的電流 未變。這時鐵心內的磁通全由一次繞組的磁通勢 產生,結果造成鐵心內很大的磁通(因為此時二次繞組的磁通勢為零,不能對一次繞組的磁通勢起去磁作用了)。一方面使鐵心損耗急劇增加,造成鐵心過熱,燒毀繞組;另一方面在二次繞組上感應出很高的電動勢,可能使絕緣擊穿,並危及設備和人身安全。因此,二次側繞組不能接熔斷器,如果需要拆除運行中的電流互感器二次側的儀表如電流表、電能表等之前,必須先將其二次側短路。此時的短路不僅是允許的,而且是必須的。
3 短路在電力變壓器負載試驗中的套用
圖5變壓器是一種常見的電氣設備,在電力系統和電子線路中套用廣泛。電力變壓器在投入運行前或在運行過程中,需要進行一些試驗,以保證電力變壓器安全運行。試驗項目包括:變壓器油的簡化試驗、絕緣吸收比試驗、耐壓試驗、空載試驗及負載試驗。其中負載試驗的目的是測量變壓器的負載損耗P和阻抗電壓U,以檢查繞組實際結構是否符合技術要求。
實驗時,將二次繞組短路(見圖5),通過調壓器調節電壓,使得一次側的電流等於額定電流,這時電壓表V的讀數就是變壓器的阻抗電壓U,功率表W測出的一次輸入功率就是變壓器的負載損耗P。負載試驗時,由於二次側處於短路狀態,負載阻抗等於零,輸出功率也等於零,而在二次繞組中流過的電流恰好等於額定值,所以輸入功率都為變壓器自身所損耗。同時,試驗時加在一次繞組上的電壓U很低,一般僅為額定電壓U的5%~10%之間,因為電壓低,鐵心中的主磁通也很少,僅為額定工作磁通的百分之幾,所以鐵耗P很小,因此變壓器的負載損耗幾乎就是變壓器繞組的銅耗P。
![短路[物理學定義] 短路[物理學定義]](/img/4/08b/nBnauM3XzEzMwEjN1IjN2IDN0UTMyITNykTO0EDMwAjMwUzLyYzLyUzLt92YucmbvRWdo5Cd0FmLwE2LvoDc0RHa.jpg)
