簡介
溫度是空調與燃氣工程中一個非常重要的參數,因此溫度的測量是必不可少的。溫度反映了周圍環境或物體冷熱的程度,但它不能直接加以測量,只能藉助於冷熱不同物體之間的熱交換以及物體的某些物理性質隨冷熱程度不同而變化的特性來加以間接測量。
熱力學定律指出,當任意兩個冷熱程度不同的物體相接觸時,必然發生熱交換現象。熱量將由冷熱程度較高的物體傳向冷熱程度較低的物體,直至兩物體的冷熱程度達到一致,即處於熱平衡狀態。根據這一原理,我們就選擇某一物體同被測物質相接觸來測量該物質的溫度。而所選擇物體的某一種物理量(如液體的體積、導體的電阻等)必須是連續地、單值地隨溫度變化而變化,並且復現性好。當兩者相接觸達到熱平衡狀態時,所選擇的物體與被測物質的溫度就相同,於是通過對所選擇物體的某一物理量的測量,即可得出被測物質的溫度位,這是接觸法測溫原理,還有非接觸法測溫。
物體的溫度是用專門的儀器一溫度計來進行測量的。目前,在不同的測溫範圍和不同的使用場合已經用於測溫的物質和由它們製成的溫度計有下列幾種類型:
(1)利用液體或固體熱脹冷縮的特性,以液體的體積變化或固體的變形來測量溫度,如玻璃管液體溫度計和雙金屬溫度計等。
(2)利用液體或氣體在定容下熱脹冷縮後的壓力變化或某種液體的飽和蒸汽壓力隨溫度變化的特性來測量溫度。如充液、充氣和充蒸汽的壓力表式溫度計。
(3)利用導體或半導體熱電效應的特性來測量溫度,如熱電偶溫度計。
(4)利用導體或半導體的電阻隨溫度而變化的特性來測量溫度,如熱電阻溫度計。
(5)利用物體熱輻射強度隨溫度而變化的特性來測量溫度,如光學高溫計、光電高溫計、全輻射式高溫計、紅外溫度計等。
熱電偶溫度計
熱電偶溫度計是以熱電效應為基礎的測溫儀表。它用熱電偶作為感測器,把被測的溫度信號轉換成電勢信號,經連線導線再配以測量毫伏級電壓信號的顯示儀表來實現溫度的測量。熱電偶溫度計能測量較高的溫度;便於遠距離傳送和多點測量;性能穩定、準確可靠;結構簡單、維護方便;熱容量和熱慣性小,可用來測量點的溫度或表面溫度,所以在工業生產和科學研究、空調與燃氣工程中套用廣泛。
熱電偶通常由熱電極,絕緣材料、保護管和接線盒等主要部分組成。常用的熱電偶結構形式有普通型熱電偶,鎧裝熱電偶和薄膜熱電偶等。
(1)普通型(裝配型)熱電偶
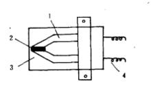
圖1普通型(裝配型)熱電偶的結構普通型熱電偶的結構如圖1(1-熱電偶測量端;2-熱電極;3-絕緣管;4-保護套管;5-接線盒)所示。普通型電偶主要用於測量管道和設備內介質的溫度。根據測溫範圍和環境氣氛不同,選擇的熱電偶和保護管也不同。其安裝時連線形式有螺紋連線和法蘭連線兩種。
(2)鎧裝熱電偶
鎧裝熱電偶是由熱電極、絕緣材料和金屬管三者組合加工而成的堅實組合體,它具有動態回響快,測量端熱容量小,強度高、撓性好等優點。
(3)薄膜熱電偶
薄膜熱電偶是由兩種金屬薄膜製成的一種特殊結構的熱電偶,其外形如圖2(1-熱電極;2-熱接點;3-絕緣基板;4-引出線)所示。它的測量端既小又薄,熱容量很小,可用於小而積上的溫度及瞬變的表面溫度測量。
圖2 快速薄膜熱電偶熱電阻溫度計
熱電阻溫度計是以金屬導體製成的熱電阻作為感溫元件的溫度計。使用時將其置於被測介質中,由於其也阻位隨溫度而變化,便可用測量電阻的溫度顯示儀表反映出被測溫度的數值。因此,它也屬於電量的電測法,具有較高的測量精度和靈敏度,便於信號的遠距離傳送及實現多點切換測量,在測溫領域中的套用廣泛。
作為熱電阻的材料,一般應滿足以下要求:
(1)要有較大的電阻溫度係數。
(2)要有較大的電阻率(比電阻)。因為電阻率越大,同樣電阻值的熱電阻體積越小,從而可減小其熱容量和熱慣性,提高對溫度變化的反應速度。
(3)在測溫範圍內,應具有穩定的物理和化學性質。
(4)電阻與溫度的關係最好近似線性,或為平滑的曲線。
(5)復現性好,易於加工,價格低廉。
一般純金屬的電阻溫度係數較大,也易於複製。目前套用最廣泛的熱電阻材料是鉑和銅,並已作成標準化的熱電阻。
熱敏電阻溫度計
半導體熱敏電阻的電阻位隨著溫度變化而變化,其變化程度要比金屬電阻大,反應靈敏.還具有電阻率大、體積小、熱慣性小、耐腐蝕、結構簡單、壽命長等一系列優點。但它的線性差、互換性差和測量範圍小(一般為-50~300℃)。利用熱敏電阻配接不平衡電橋可構成熱敏電阻溫度計。
(1)熱敏電阻測溫原理
一般金屬導體的電阻伍隨著溫度的升高而增大,具有正的電阻溫度係數。而半導體熱敏電阻,一般是隨著溫度的升高而減小,具有負的熱敏電阻阻溫度係數。這是因為半導體的導電性能主要是由其內部的載流子(電子或空穴)的密度和遷移率所決定的。當溫度升高時,由於熱激發,將使載流子的密度大大增加,從而導致其電阻值急劇下降。半導體材料的這種熱敏性能就是構成熱敏電阻溫度計的理論基礎。
(2)熱敏電阻的材料與構造
製造熱敏電阻的材料大多數是各種金屬的氧化物,如氧化銅、氧化鐵、氧化鋁、氧化錳、氧化鈷、氧化鎳及氧化錸等。將上述各種氧化物按一定成型,然後在一定溫度下煅燒,使其成為堅固緻密的整體,最後澆上金屬粉末,並焊上引線就成了熱敏電阻。改變這些混合物的成分及溫範圍、阻值及溫度係數。熱敏電阻可製成各種形狀,如珠狀。圓柱狀、片狀等。
紅外溫度計
任何具有溫度的物體都有紅外線輻射,輻射強度與其溫度有一定的關係,因而根據紅外輻射強度就能夠測量物體的溫度,這類測溫裝置就是紅外溫度計。
紅外溫度計是非接觸式測溫儀表,在檢測過程中,儀表的檢測感測器與被測對象不接觸,因此可以用來對熱容量小的對象、熱接觸困難或不希望擾亂溫度分布的對象以及運動體等進行常溫範圍的非接觸測量,尤其是用來實現快速測溫和測量物體表面溫度的分布。紅外溫度計的測溫範圍為0~200℃,它主要由光學系統,紅外探測器和電子測量線路等組成。
紅外溫度計的物鏡採用卡塞洛林雙反射系統,被測對象的輻射由物鏡聚焦於紅外探測器上。它上面帶有硫化鋅材料作的視窗,可透過波段為可見光2-15μm。在物鏡和探測器之間插入一塊傾斜45°的碰單晶濾光片(透過波段為2-15μm),它與硫化鋅組合後,使儀表檢測波段局限於近中紅外。輻射調製由紅外探測器前方的調製盤來實現,調製頻率30Hz。
紅外探測器是接收被測物體紅外輻射能並轉換成電信號的器件。熱敏型的紅外探測器使用熱敏電阻,它在接收紅外輻射後,溫度升高,從而引起電阻值的變化。
電動溫度(溫差)變送器
電動溫度(溫差)變送器是DDZ-Ⅱ型電動單元組合儀表變送單元的一個主要品種,它與各種直流毫伏信號或電阻值變化的感測器配接,可連續地將被測的信號轉換成統一的0~10mA直流電流輸出,作為顯示、記錄、調節儀表和工業控制機等的標準輸入信號,組成對溫度(溫差)等參數的自動檢測或控制系統。
自動測溫儀表的選用
為了經濟有效地進行溫度的自動測量,正確選用和安裝測溫儀表是十分重要的。 在解決現場測溫問題時,正確選用儀表是很重要的,一般選用時首先要分析被測對象的特點及狀態,然後根據現有儀表的特點及其技術指標確定選用的類型。
(1)分析被測對象
1)被測對象的溫度變化範圍及變化的快慢;
2)被測對象是靜止的還是運動的(移動或轉動);
3)被測對象是液態還是固態,溫度計的檢測部分能否與它相接觸,能否靠近,如果遠離以後輻射的能量是否足以檢測;
4)被測區域的溫度分布是否相對穩定,要測量的是局部(點的)溫度,還是某一區域(面的)平均溫度或溫度分布;
5)被測對象及其周圍是否有腐蝕性氣氛,是否存在水蒸汽、一氧化碳、二氧化碳、臭氧及煙霧等介質,是否存在外來能源對輻射的干擾,如其它高溫輻射源、目光、燈光、爐壁反射光及局部風冷、水冷等;測量的場所有無衝擊、振動及電磁場。
(2)合理選用儀表
1)儀表的可能測溫範圍及常用測溫範圍;
2)儀表的精度、穩定性、變差及靈敏度等;
3)儀表的防腐性、防爆性及連續使用的期限;
4)儀表輸出信號能否自動記錄和遠傳;
5)測溫元件的體積大小及互換性;
6)儀表的回響時間;
7)儀表的防震、防衝擊、抗干擾性能是否良好;
8)電源電壓、頻率變化及環境溫度變化對儀表示值的影響程度;
9)儀表使用是否方便、安裝維護是否容易。
自動測溫儀表的安裝
在選擇既經濟合理,又能滿足生產必需的精度等要求的測溫元件與二次儀表之後,能否正確安裝測溫元件就是一個重要的實際問題。如果儀表安裝不符合要求,會使測量不準確,甚至影響生產。
(1)測溫元件的安裝應確保測量的準確性
1)必須正確選擇測溫點。選擇測溫點時,一定要使測溫點的溫度具有代表性.例如:測量管道中流體的溫度時,測溫元件的工作端應處於管道中流速最大處,即管道中心位置上,不應把測溫元件插至被測介質的死角區。此外,測溫元件應迎著介質流向插入,就是說,測溫元件應與被測介質形成逆流,得形成順流。不得已時,也必須與流向垂直。
2)應避免熱輻射而引起的測溫誤差。比如,在溫度較高的場合,應儘量減小被測介質與管(或設備)壁表面之問的溫度差,以減少熱輻射所引起的測溫誤差,為此,在安裝測溫元件的地方,如果器壁暴露於空氣中,則應在其表面包一層絕熱層(如石棉等),必要時,可在測溫元件與器壁之間加裝防輻射罩。以消除它們間的直接輻射作用。
此外,還應避免測溫元件外露部分的熱損失而引起的測溫誤差。因此要保證有足夠長的插入深度(實踐證明插入深度達300mm即可);並在測溫元件外露部分進行保溫。
3)用熱電偶測量爐溫時,應避免測溫元件與火焰直接接觸,也不宜距離太近或裝在爐門旁邊。接線盒不應碰到爐壁,以免熱電偶自由端溫度過高。
4)測溫元件安裝在負壓管道(或設備)中時,必須保證安裝孔的密封,以免冷空氣被吸入後而降低測量指示值。
5)使用熱電偶、熱電阻測溫時,應防止干擾信號的引入。同時應使接線盒的出線孔向下方,以防止水汽、灰塵等進入影響測量。
(2)測溫元件的安裝應確保全全、可靠
為避免測溫元件的損壞,應保證其有足夠的機械強度。可根據被測介質的工作壓力、溫度和其他特性,合理地選擇測溫元件保護管的壁厚與材料。測溫元件在不同的壓力範圍內工作,有不同的安裝要求。此外,測溫元件的機械強度還與其結構形式、安裝方式、插入深度以及被測介質的流速等因素有關,也必須予以考慮。
1)凡安裝承受壓力的測溫元件時,都必須保證密封。
2)高溫下工作的熱電偶,其安裝位置應儘可能保持垂直,防止保護管在高溫下產生變形。必須水平安裝時,也不宜過長,應裝設用耐火粘土或耐熱合金鋼製成的支架。
3)在介質具有較大流速的管道中安裝測溫元件時。測溫元件必須傾斜安裝,以免受到過大的沖蝕。若被測介質中有塵粒、粉物,為保護測溫元件不受磨損起見,應加裝保護屏或保護管。
4)在安裝瓷和氧化鋁這一類保護管的熱電偶時,其安裝位置應適當,以免因加熱工件移動而損壞。此外在插入或取出熱電偶時,還應避免急冷急熱,以免保護管破裂。
5)在薄壁管道上安裝測溫元件時,需在連線頭處加裝加強板。在有色金屬管道上安裝時,凡與工藝管道相接觸(焊接)以及與被測介質直接接觸的部分,其有關部件(加連線頭、保護外套之類)均需與工藝管道同材質,以免影響生產工藝的要求。
(3)測溫元件的安裝應便於儀表工作人員的維修、校驗和拆裝。
(4)在加裝保護外套時,為減少測溫的滯後,可在套管之間加裝傳熱良好填充物。如溫度低於150℃時可充入變壓器油,當溫度高於150℃時,可充填銅屑或石英砂,以保證傳熱良好。
