渦殼泵構造
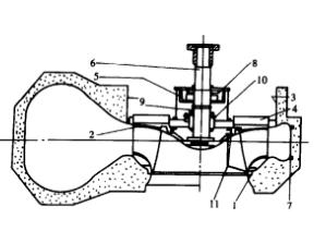
簡單的機械結構設計使混凝土渦殼泵有高度的可靠性。這些設計包括短軸、一個通常的軸承和一個密封圈。混凝土渦殼泵的剖面圖見下圖。
混凝土渦殼泵剖面軸長度通常很短,所以沒有振動問題和敏感的軸向振動。軸不和水接觸,在殼蓋以下部分有軸套保護,上面較長部分在空氣中,所以軸沒有腐蝕問題。當為清水時,軸用45號鋼鍛成,軸套為鑄鋼。當為海水時,軸用不鏽鋼鍛成,軸套用不鏽鋼或鋁青銅製成。
軸承為油潤滑的軸頸軸承,便於觀察和維修。潤滑油由軸帶動旋轉的油箱供給。這種軸承設計即使在水泵房被淹沒的情況下,也是可靠的。止推軸承為普通型,均勻分布在泵蓋上或電動機上。
軸封為通常壓蓋填料型,冷卻水由出水管接出。當冷卻水中有較大雜質(>100μm)時,冷卻水要先經過旋流器處理。
特性曲線
混凝土渦殼泵設計比轉數為250~450。下圖表示混凝土渦殼泵的工作範圍。
混凝土渦殼泵的工作範圍由圖看出水量變化在3~30m/s之間,揚程變化在5~30m之間,葉輪的外徑為1~4m。在這一範圍內混凝土渦殼泵可得到經濟合理的設計。當流量大於10m/s時,混凝土渦殼泵比通常的濕井式水泵或金屬渦殼泵經濟,這種大容量水泵通常在火電站及核電站中套用。當流量小於10m/s時,混凝土渦殼泵可能仍是經濟的。尤其是當水源為海水時更有吸引力,因為沒有腐蝕和微生物結垢問題。當總揚程高於30~40m時,由於採取在混凝土渦殼中流速小於10m/s的措施,混凝土渦殼泵仍是適用的。當大容量泵揚程超過lOOm或更高時,可採取特殊的塗料或漿料的方法。
下圖表示混凝土渦殼泵典型特性曲線,其主要特點為:
1、零流量時揚程小於1.5倍額定揚程;
2、流量一揚程曲線為一連續的下降曲線;
4、零流量時功率小於額定功率;
5、在大多數情況下,總效率大於90%。
渦殼泵典型特性曲線渦殼泵優點
混凝土渦殼泵有下列優點
1、減輕金屬部件重量,減少投資費約20%左右。
2、降低起吊設施的高度和起重量。
3、提高泵殼的抗腐蝕性能,尤其是採用海水和鹽水時。
4、減少振動和噪聲。
5、高度的可到達性。在不拆卸水泵的情況下,容易進行內部觀察。當水泵容量超過10m/s時,水泵葉輪可從吸水灣道進行檢驗。對所有水泵部件(包括轉動部件)都能通過一個孔進入混凝土渦殼進行檢驗。
渦殼泵的維護
減少維修和容易觀察是混凝土渦殼泵運行費用較低的主要原因。唯一運行監視項目是遠方監控軸承油位和溫度。主要維護觀察項目如下:
1、每年預防性維護,不停泵核驗潤滑油品質及更換壓蓋填料函填料,高性能填料可使用數年後更換。
2、建議每5年檢查軸承間隙,只取下軸承蓋而不需拆裝其他部件。
3、停泵排水後檢查密封環間隙,這種泵可連續運行5~7年(50000h),而不更換主要部件(軸承、軸套、密封環)。

