簡述
曲軸是一種扭轉彈性系統,本身具有一定的自振頻率。在發動機工作過程中,經連桿傳給曲柄銷的作用力的大小和方向都是周期性地變化的,這種周期性變化的激力作用在曲軸上,引起曲拐迴轉的瞬時角速度也呈周期性變化。由於固裝在曲軸上的飛輪轉動慣量大,其瞬時角速度基本上可看作是均勻的。這樣,曲拐便會忽而比飛輪轉得快,忽而又比飛輪轉得慢,形成相對於飛輪的扭轉擺動,也就是曲軸的扭轉振動,當激振力頻率與曲軸自振頻率成整數倍時,曲軸扭轉振動便因共振而加劇。這將使發動機功率受到損失,正時齒輪或鏈條磨損增加,嚴重時甚至將曲軸扭斷。
曲軸作為內燃機中主要的運動部件之一,它的強度和可靠性在很大程度上決定著內燃機的可靠性。因此,扭轉振動是內燃機設計過程中必須考慮的重要因素。為了消減曲軸的扭轉振動,現在汽車發動機多在扭轉振幅最大的曲軸前端裝置減震器。
功能
為了消減曲軸的扭轉振動,現在汽車發動機多在扭振振幅最大的曲軸前端裝置扭振減振器。它的功能簡單介紹有以下三個方面:
(1)消減曲軸扭轉振動,提高曲軸的疲勞壽命,減少應力水平;
(2)傳遞扭矩,衰減扭矩波動;
(3)減少整車的振動、噪音。
分類
曲軸減震器就其工作特性而言,可分為三大類:
動力減振器
主要依靠它的動力效應改變軸系的自振頻率,使之移出工作轉速範圍,達到避振目的,如彈簧式和擺式動力減振器等;
阻尼減振器
主要依靠固體的摩擦阻尼或液體的粘性阻尼來吸收干擾力矩輸入系統的振動能量,以減小振動,如橡膠減振器和矽油減振器等;
複合減振器
就是既有調頻作用,又有阻尼降幅作用,如矽油橡膠減振器和矽油彈簧減振器。
目前套用最多的就是橡膠減振器和矽油減振器。其中橡膠減振器廣泛套用於汽油發動機,矽油減振器主要套用於。目前用於汽車橡膠減振器主要是單級減振器(只有一個慣性質量),但是,隨著轎車發動機的輕量化和大功率化,單級橡膠阻尼式減振器的減振效果已滿足不了曲軸系統扭轉振動控制的要求,目前在一些轎車發動機上已經採用了多級的橡膠阻尼式減振器。
典型結構
單級扭振減震器
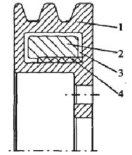
圖1、單級扭振減震器常見的橡膠摩擦式單級扭振減振器由減振器殼體1、硫化橡膠層2和減振器慣性質量3等組成,如圖1所示。
轉動慣量較大的慣性質量3用一層橡膠墊和由薄鋼片衝壓製成的殼體1 相連。殼體1和慣性質量3都同硫化橡膠層2硫化粘接。殼體1的轂部用螺栓固裝於曲軸前端的風扇帶輪上。當曲軸發生扭轉振動時,曲軸前端的角振幅最大,而且通過帶輪輪轂帶動殼體1一起振動。慣性質量3則因轉動慣量較大而實際上相當於一個小型的飛輪,其轉動瞬時角速度也比殼體1均勻得多。這樣,慣性質量3就同殼體1有了相對角振動,而使硫化橡膠層2 產生正反方向交替變化的扭轉變形。這時,由於橡膠墊變形而產生的橡膠內部的分子摩擦,消耗扭轉振動能量,整個曲軸的扭轉振幅將減小,把曲軸共振轉速移向更高的轉速區域內,從而避免在常用的轉速內出現共振。
橡膠減振器的主要優點是結構簡單、質量小、工作可靠,所以在汽車發動機上套用廣泛。其主要缺點是對曲軸扭轉振動的衰減作用不夠強,而且橡膠由於內摩擦生熱升溫而容易老化。
多級並聯式扭振減震器
如圖2所示為某兩級並聯式扭振減振器,由慣性環、摩擦環、橡膠件等組成。
其中輪毅7為振減振器與發動機曲軸的連線件,鋼圈1和帶輪2(齒圈)為緊配合,合成為一個慣性質量,並與橡膠件8組成為一級扭振減振器。
摩擦環6和5是由特氟龍材料製成的部件,因此帶輪2和輪毅7之間可以相互轉動。慣性環4為另一慣性質量,與橡膠件3組成另一個扭振減振器。
圖2、多級並聯式扭振減震器橡膠件3一側硫化在輪毅7上,另一側則硫化在慣性質量上,因此,圖2所示的扭轉減振器為兩級並聯式扭振減振器。
多級串聯式扭振減震器
圖3、兩級串聯式扭振減震器圖3為兩級串聯式扭振減振器結構圖。輪毅7為扭振減振器和曲軸前端的連線件,慣性環5和輪毅,之間的連線為緊配合,兩者組成一慣性質量。橡膠件6的一側與輪毅7硫化在一起,另一側與慣性環1硫化在一起。橡膠件2的一側與慣性環1硫化在一起,另外一側與帶輪(兼慣性環)3硫化在一起。摩擦環4是由特氟龍材料製成的鋼圈,因此帶輪3和摩擦環4之間可以相互轉動。由於帶輪3和橡膠件2組成的扭轉減振器是串聯連線在由慣性環1和5合成的慣性質量和橡膠件6組成的扭振減振器上的,因此圖3所示的扭振減振器為兩級串聯式扭振減振器。
矽油扭振減震器
圖4、矽油扭振減震器圖4為矽油減振器的結構簡圖,慣性圓盤裝在殼體內,可繞光滑耐磨的減磨襯套自由轉動,慣性圓盤與殼體間有一定的間隙,間隙內充滿矽油。矽油減振器的殼體固聯在曲軸前端,與曲軸系統一起運動。當曲軸系統發生扭振時,由於慣性圓盤轉動慣量較大,它的運動總是滯後於殼體的運動,此時間隙中矽油的黏性阻尼就會消耗振動能量,從而達到減弱曲軸系統扭轉振動的目的。
矽油減振器密封較困難,矽油與空氣接觸吸收水分時容易變質,會減弱減振器減振效果。
矽油—橡膠複合式扭振減震器
圖5、矽油-橡膠複合式扭振減震器圖5為矽油-橡膠複合式扭振減振器結構圖。輪轂12與發動機曲軸相連線,輪轂1、11與輪轂12為緊配合。橡膠件2的兩側分別與輪轂1和帶輪(兼慣性環)5硫化在一起,帶輪5與橡膠件2共同組成橡膠阻尼式扭振減振器。鋼圈3、4、6和10由特氟龍材料製成,與它們相連線的兩個物體之間可以相互轉動。慣性環9為矽油減振器慣性環,它與由輪轂11、7和8之間組成的密封腔之間充滿矽油,矽油與慣性環9組成一級矽油阻尼式扭振減振器。由於橡膠阻尼式扭振減振器(由彈性阻尼原件和慣性原件組成)和矽油阻尼式扭振減振器為並聯的形式,因此,圖5所示的曲軸減振器為二級並聯矽油-橡膠複合式扭振減振器。

