簡述
該組織是成立於1995年的非贏利性組織,主要成員以歐洲的通信、媒體處理公司為主。它制訂的DAVIC 1.5標準是構建在基於IP協定的可管理的Intranet之上的,最終的檔案中包含TV Anytime Anywhere的思想。DAVIC協定標準沒有對系統的具體實現做任何限制,只是定義了實現VOD系統所需“工具”的集合。一個VOD系統包括4個子系統一節目提供者、業務提供者、傳送網路、業務使用者。每個子系統又由多個功能塊構成。DAVIC定義了多個子系統和功能塊之間的接口。
數字視聽委員會(DAVIC)的第一次會議是在1994年3月於瑞士的日內瓦錙開的。DAVIC的目標是為多媒體服務和套用(如VOD)提供實現系統體系、系統間接口的規範以及通信協定。DAVIC是一個面向一般問題是論壇,例如存儲、廣播和通信。DAVIC在動畫壓縮方面的工作是基於MPEG2標準的,這個標準在ITU.T建議262中已經正式規定了。
規範制定
DAVIC由七個技術委員會組成(Tc):技術、系統集成、伺服器、機頂單元、傳送系統、套用和安全。DAVIC規範以如下方式制訂:
●確定在市場中已經被廣泛採用或設計成產品的標準和規範。
●選擇那些適於DAVIC所面向的數字視頻業務和套用的標準。
●確定在標準和規範中所要重新考慮的問題,並將這些問題反饋給那些制訂標準的實體。
●在需要的時候,定義最初的規範。
系統實體
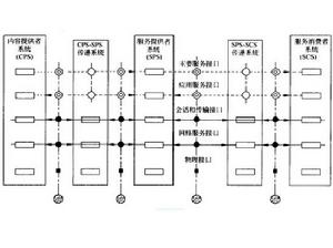
DAVIC系統包括四個實體:內容供應商系統(CPS)、服務供應商系統(SPS),服務消費者系統(SCS)和傳送系統(DS)。
DS在DAVIC中包括很廣的內容,但是它可以解釋為一個向其他DAVIC實體傳送信息的網路。
CPS通過DS向SPS提供信息內容。SPS被稱作服務商,它向其客戶SCS提供內容或帶有附加值的與內容有關的服務的訪問操作接口。
SCS是指機頂盒的功能,並提供用戶接口、通過DS訪問SPS、到達內容的解碼和演示功能。
DS包括一個核心網路、一個接入網和一個室區域網路絡。核心網路通過到達SCS的接入網提供CPS和SPS之間交換連線。接入網是在最終用戶和核心網路之間進行傳輸、復接、集中和廣播服務信息數據流的設備的總稱。它沒有交換功能。室區域網路絡可以是很簡單的一條線,也可以是LAN。
檔案組成
DAVIC的檔案共有13個部分,分成兩類。一類是設備必須遵守的正式檔案,另一類目前是非正式的將來可能成為正式的檔案。
第一部分描述了DAVIC系統功能和支持DAVIC套用所需的功能,以及它們的套用和業務的共同需求及套用實例。
第二部分是DAVIC系統參考模式和方案(System Reference Model and Scenarios)。主要有簡化的系統參考模式(DAVIC系統參考模式)、系統轉換流程、補充定義、縮略語和縮寫。
第三部分:服務供給結構與接口(Service Provide System Architecture and Interfaces)。包括伺服器模式基礎、結構性框架、伺服器參考模式、內容規定。
第四部分:傳遞系統結構與接口(Delivery System Architecture and Interfaces)。包括傳遞系統(電纜網、無線網)、網路與服務的有關控制、網路和服務管理。
第五部分:服務消費系統結構和高級應用程式接口(Service Consumer SystemArchitecture and High Level API)。包括服務消費系統、機頂盒參考點、運行時間、引擎最小需求。
第六部分:暫無內容,預留作它用。
第七部分:高層和中層協定(High and Mid-Layer Protocols)。包括對從源到任何伺服器用戶平台、控制平台、網路服務層控制平台、會晤和傳送控制平台、視窗對象管理平台等的信息流控制的高中層協定、共同協定、連線塊描述器和Ao初始化協定及附錄A:機頂盒管理信息基礎。
第八部分:低層協定和物理接口(Lower Layer Protocols and Physical Interfaces)。包括數位化核心網路的工具(數位化工具指網路接口)、數位化接入網工具。
第九部分:信息表述(Information Representation)。包括單個媒體分量、套用格式、PES包中單媒體分量的包裝、實時碼流和存儲對象、MPEG一2傳送流復用、內容解碼用DAVIC參考模式及附錄:個人資料的包裝。
第十部分:保密性(Security)。尚在制定中。
第十一部分:使用信息協定(Usage Information Protocols)。包括使用信息、功能、結構、使用數據收集元素、DAVIC系統管理器、使用數據收集接口和轉換接口、支持數據互動元素、支持數據接口等。
第十二部分:參考點、接口和變化(Reference Pointes Interfaces and Dynamics)。包括DAVIC的系統要求、實現過程、建議開發的工具、DAVIC系統變化模式、配置、下載、DAVIC協定工具使用的規定等。
第十三部分:互操作性和符合性。
這十三個部分中,除第六部分預留,第十、第十三部分尚未完成外,第一、第二、第三、第四為非正式部分,第五、第七、第八、第九、第十一、第十二是正式規定,必須遵守。
出版時間
DAVIC 1.O出版1995年12月。
要求提案4發出1995年12月。
回響CEP一4的期限1996年2月。
要求提案5發出1996年3月。
DAVIC 1.1出版 1996年9月。
DAVIC 1.2出版 1996年12月。
DAVIC 1.3出版1997年12月。
套用領域
根據DAVIC的Web站點顯示,DAVIC最初的目標是要通過頒布開放式接口和協定規範來促進互動式數字視聽技術的套用和服務,這些接口和協定可最大程度地在不同地域、產業、服務和套用領域之間互動操作。
DAVIC正在致力於通過網際網路來整合其制定的規範,從而在有線電視系統上實現IP互聯。同時,DAVIC還在移動式和攜帶型多媒體方面開發新技術。

