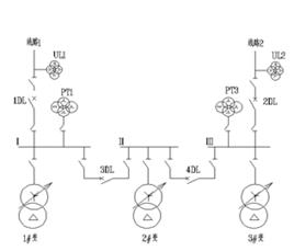
擴大內橋接線內橋接線是指母聯在兩台變壓器開關(專指斷路器)的內側,靠近變壓器側。擴大內橋接線是指在內橋接線中的母聯中間增加一個變壓器,該變壓器兩側各有一個斷路器。
擴大內橋接線配置一般為:2回進線,3台變壓器,4台斷路器。

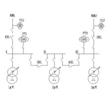
內橋接線是指母聯在兩台變壓器開關(專指斷路器)的內側,靠近變壓器側。擴大內橋接線是指在內橋接線中的母聯中間增加一個變壓器,該變壓器兩側各有一個斷路器。
擴大內橋接線內橋接線是指母聯在兩台變壓器開關(專指斷路器)的內側,靠近變壓器側。擴大內橋接線是指在內橋接線中的母聯中間增加一個變壓器,該變壓器兩側各有一個斷路器。
擴大內橋接線配置一般為:2回進線,3台變壓器,4台斷路器。
